GM Service Manual Online
For 1990-2009 cars only
Makes
🢒
Buick
🢒
1999
🢒
Riviera
🢒
Body and Accessories
🢒
Seats
🢒 Lumbar Support Schematics
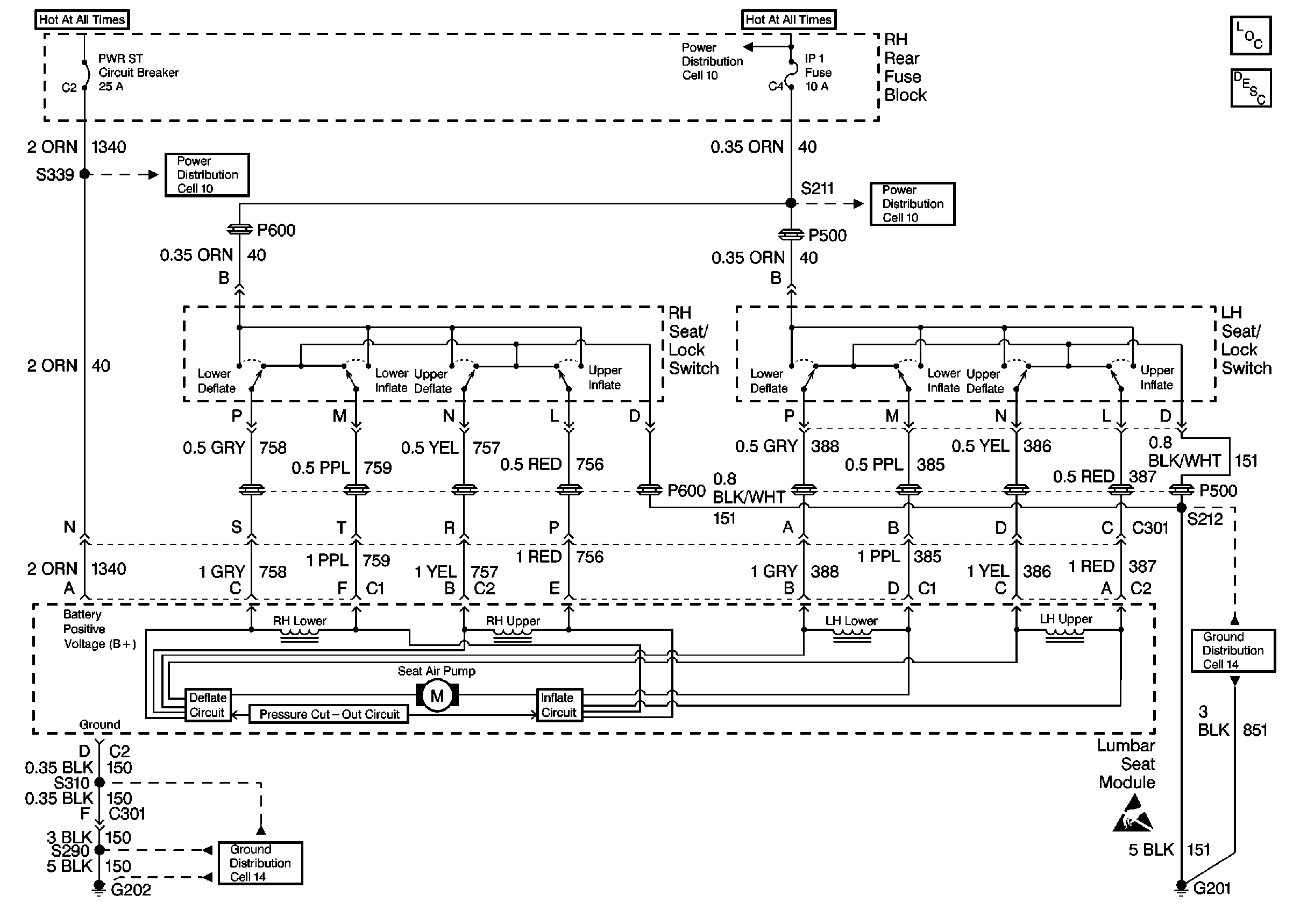
Lumbar Support Schematics Oldsmobile
Cell 142: Lumbar Support
Power Seat Component Views
Power Lumbar Circuit Description Oldsmobile
Handling ESD Sensitive Parts Notice
Power Distribution Schematics
Power Distribution Schematics
Power Distribution Schematics
Ground Distribution Schematics
Ground Distribution Schematics
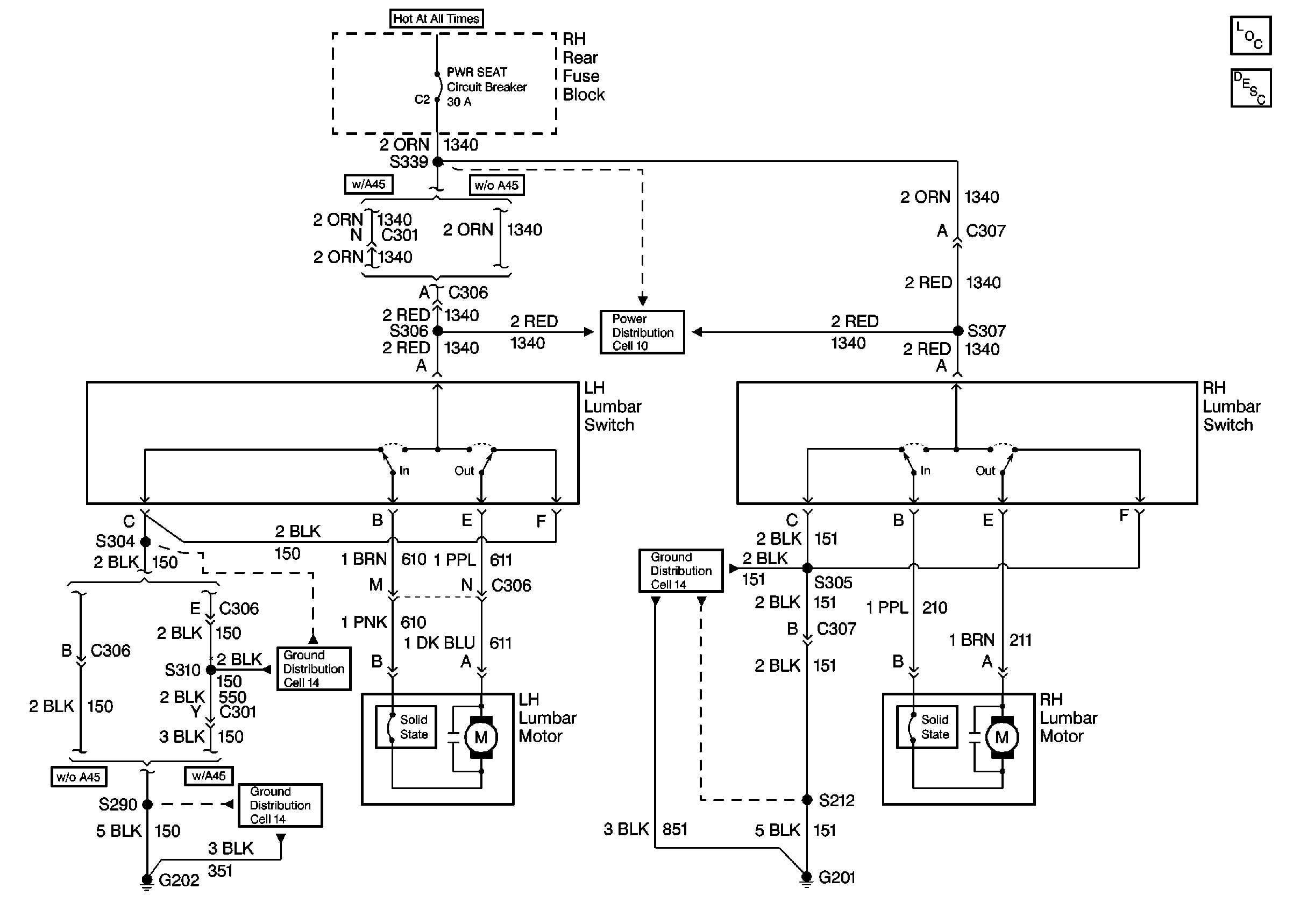
Lumbar Support Schematics Buick
Cell 142: Lumbar Support
Power Seat Component Views
Power Lumbar Circuit Description Buick
Power Distribution Schematics
Ground Distribution Schematics
Ground Distribution Schematics
Ground Distribution Schematics