GM Service Manual Online
For 1990-2009 cars only
Makes
🢒
Buick
🢒
1999
🢒
Riviera
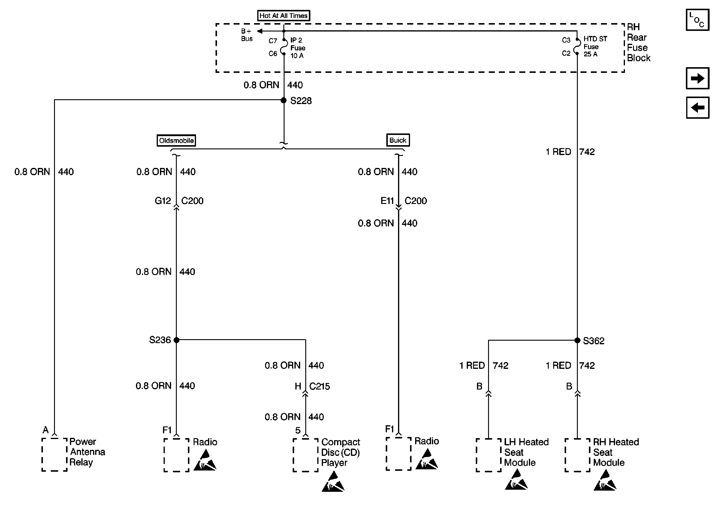
🢒 Cell 10: IP 2 Fuse and HTD ST Fuse
Cell 10: IP 2 Fuse and HTD ST Fuse
Cell 10: IP 2 Fuse and HTD ST Fuse
Power and Grounding Component Views
Cell 10: IP 1 Fuse (Buick)
Cell 10: F/DR REL Fuse (Buick/Oldsmobile) and TRUNK REL Fuse (Buick)
Handling ESD Sensitive Parts Notice
Handling ESD Sensitive Parts Notice
Handling ESD Sensitive Parts Notice
Handling ESD Sensitive Parts Notice
Handling ESD Sensitive Parts Notice
Cell 10: Battery