GM Service Manual Online
For 1990-2009 cars only
Makes
🢒
Buick
🢒
1999
🢒
Riviera
🢒 Cell 136
Cell 136
Cell 136
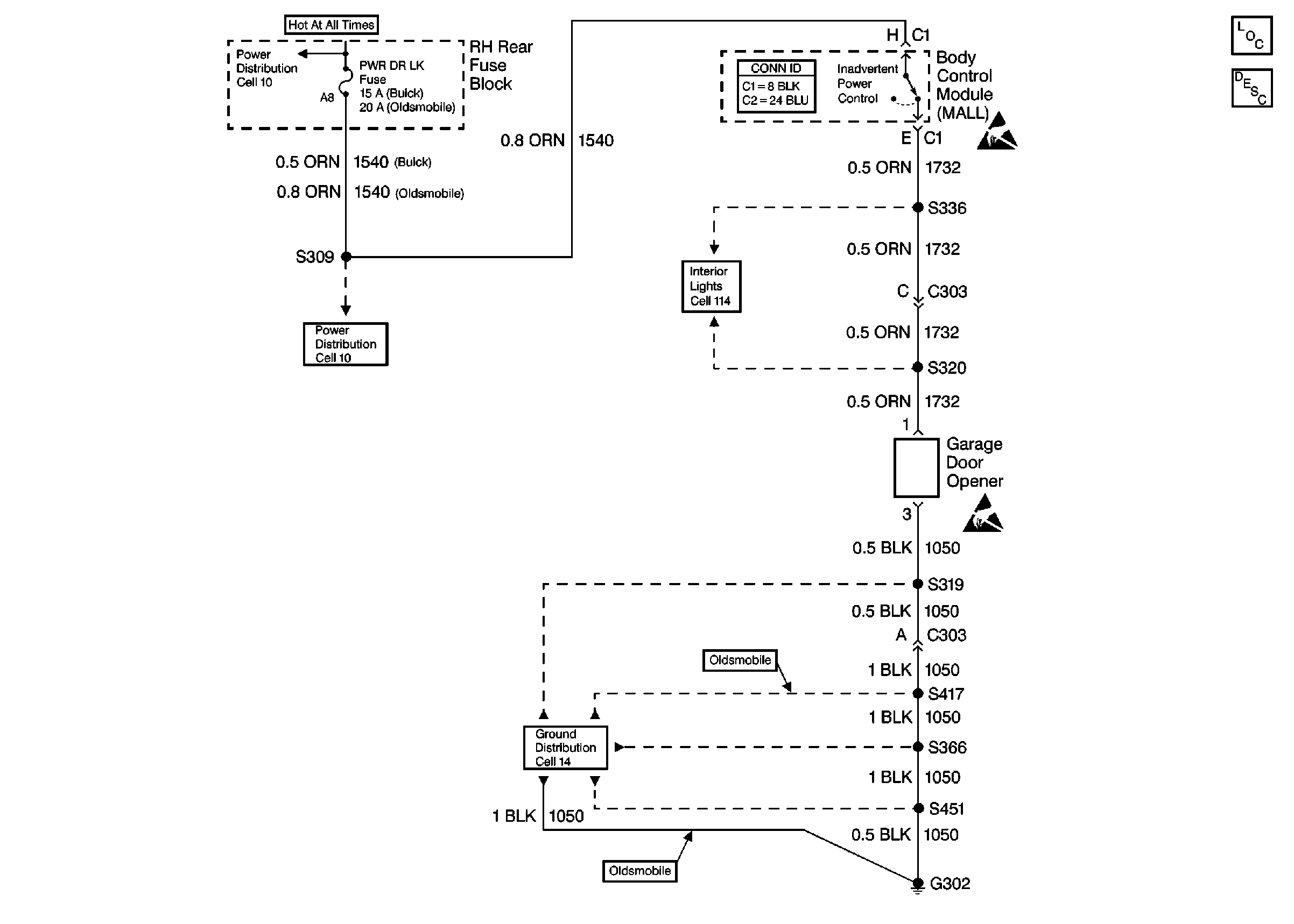
Garage Door Opener Components
Garage Door Opener Description
Body Control System Schematics
Power Distribution Schematics
Power Distribution Schematics
Interior Lights Schematics Buick
Ground Distribution Schematics