GM Service Manual Online
For 1990-2009 cars only

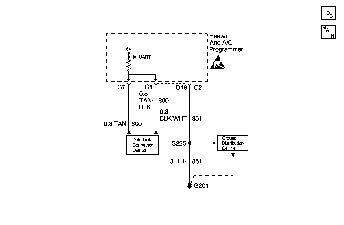
Object Number: 403736  Size: MF
Handling ESD Sensitive Parts Notice
HVAC Components
Cell 68: Passenger Temperature Control
Data Link Connector Schematics
Cell 50: Serial Data UART
Ground Distribution Schematics

Circuit Description

UART-based communication systems have a master of the serial data line and remote transceivers. The master controls the message traffic on the serial data line by polling the HVAC programmer. The master then waits for the proper response.

Conditions for Setting the DTC

    • The ignition is on.
    • The circuit is open or shorted.

Action Taken When the DTC Sets

Code DTC B1038 is set.

Conditions for Clearing the DTC

Using a Scan Tool .

Step

Action

Value(s)

Yes

No

1

  1. Turn the ignition switch to the RUN position.
  2. Connect a Scan Tool to the DLC.
  3. Attempt to establish communications on CKT 800.

Did the Scan Tool establish communications on CKT 800?

--

Go to Step 2

Go to Scan Tool Does Not Communicate with UART Data Line in Data Link Communications

2

Attempt to establish communications between the Scan Tool and the HVAC system (Non-E and C).

Did the Scan Tool establish communications with the HVAC system (Non-E and C)?

--

Go to Step 4

Go to Step 3

3

  1. Turn the ignition switch to the OFF position.
  2. Disconnect the HVAC programmer connector C2.
  3. Turn the ignition switch to the RUN position.
  4. Measure the voltage between the following terminals:
  5. 4.1. Terminal cavity C7 of the HVAC programmer connector C2 and terminal 4 of the DLC.
    4.2. Terminal cavity C8 of the HVAC programmer connector C2 and terminal 4 of the DLC

Refer to Measuring Voltage in Wiring Systems.

Does the voltage measure the specified value?

5 V

Go to Step 5

Go to Step 6

4

Code 1038 can only be viewed as a history code when a serial data line problem is not current.

A current serial data line problem cannot be accessed through the Scan Tool unless the condition occurs in the climate control system.

Is the condition occurring in the climate control system?

--

Go to Step 5

Go to Scan Tool Does Not Communicate with UART Data Line in Data Link Communications

5

Replace the HVAC programmer. Refer to Programmer Replacement .

Is the repair complete?

--

System OK

--

6

  1. Inspect terminal C7 and terminal C8 of the HVAC programmer harness connector for proper terminal contact.
  2. Inspect CKT 800 for opens.
  3. Replace the HVAC programmer if all of the terminals and CKT 800 are in proper condition. Refer to Programmer Replacement .

Is the repair complete?

--

System OK

--