GM Service Manual Online
For 1990-2009 cars only

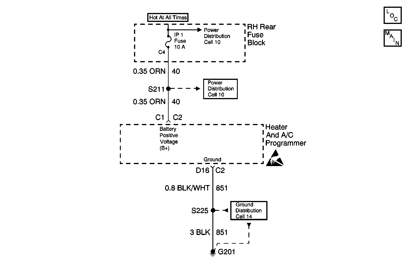
Object Number: 403735  Size: MF
HVAC Components
HVAC Air Delivery/Temperature Control Schematics Buick
HVAC Air Delivery/Temperature Control Schematics Oldsmobile
Handling ESD Sensitive Parts Notice
Cell 10: HTD ST/IP Fuse and EXT LP Fuse
Cell 10: IP 1 Fuse (Buick)
Cell 10: IP 1 Fuse (1 of 2) (Oldsmobile)
Ground Distribution Schematics

Circuit Description

The HVAC programmer receives battery voltage through circuit 40 from the I/P fuse block , fuse 1.

Conditions for Running the DTC

    • The ignition is ON.
    • The circuit is open or shorted.

Action Taken When the DTC Sets

    • Code B1052 is set.
    • The HVAC programmer will not operate.

Conditions for Clearing the DTC

    • Using a Scan Tool .
    • A history DTC will clear when 40 consecutive ignition cycles have occurred without a malfunction.

Step

Action

Value(s)

Yes

No

1

Was the battery disconnected or recently discharged?

--

Go to Step 3

Go to Step 2

2

Use the Scan Tool to clear DTC B1052.

Does DTC B1052 reset when cleared using the scan tool ?

--

Go to Step 4

System OK

3

Use the Scan Tool to clear DTC B1052.

Is the procedure complete?

--

System OK

--

4

Inspect the right rear fuse block IP 1 fuse and the IP fuse block HVAC CONT fuse.

Are the fuses in proper condition?

--

Go to Step 5

Go to Step 6

5

  1. Turn the ignition switch to the OFF position.
  2. Disconnect the HVAC programmer.
  3. Measure the voltage between terminal D16 and terminal C1 of the HVAC harness connector.

Refer to Measuring Voltage in Wiring Systems.

Is battery voltage present?

--

Go to Step 7

Go to Step 9

6

Inspect CKT 40 for one of the following conditions.

  1. A short to ground.
  2. An open.

Refer to Testing for Short to Ground or Testing for Continuity in Wiring Systems.

Was a problem found?

--

Go to Step 9

Go to Step 11

7

  1. Turn the ignition ON.
  2. Measure the voltage between HVAC harness connector terminal D16 and C1.

Refer to Measuring Voltage in Wiring Systems.

Is battery voltage present?

--

Go to Step 8

Go to Step 10

8

  1. Inspect the HVAC programmer connector for proper terminal contact.
  2. Replace the HVAC programmer if proper terminal contact exists. Refer to Programmer Replacement .

Is the repair complete?

--

System OK

--

9

Repair CKT 40.

Refer to Wiring Repairs in Wiring Systems.

Is the repair complete?

--

System OK

--

10

Repair the open in CKT 41.

Refer to Wiring Repairs in Wiring Systems.

Is the repair complete?

--

System OK

--

11

Repair the open in CKT 851.

Refer to Wiring Repairs in Wiring Systems.

Is the repair complete?

--

System OK

--