GM Service Manual Online
For 1990-2009 cars only

Object Number: 798837  Size: LF
Master Electrical Component List
Automatic Transmission Controls Schematics
OBD II Symbol Description Notice

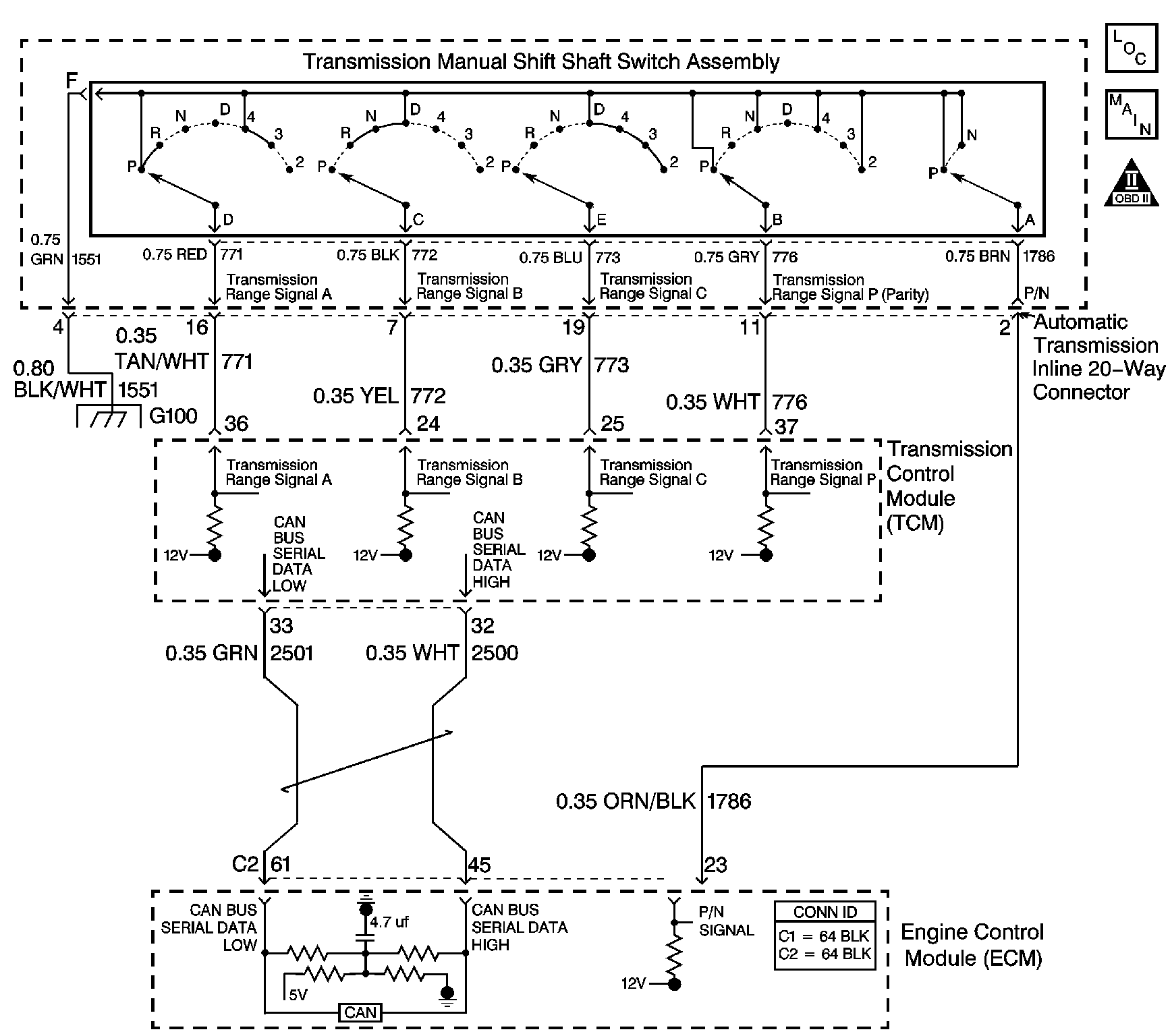
Circuit Description

The transmission manual shift shaft switch assembly is a sliding contact switch attached to the control valve body within the transmission. The four inputs to the transmission control module (TCM) from the switch indicate which position is selected by the transmission selector lever. This information is used for engine controls as well as determining the transmission shift patterns. The input voltage at the TCM is high when the switch is open and low when the switch is closed to ground. The state of each input is displayed on the scan tool as IMS. The four IMS input parameters represented are Signal A , Signal B, Signal C and Signal P (Parity).

If the TCM detects a transitional state between Neutral and D5, then DTC P1823 sets. DTC P1823 is a type B DTC.

Conditions for Running the DTC

    • No engine torque signal DTC P1779.
    • The system voltage is 8-18 volts.
    • The engine run time is greater than 5 seconds.
    • The engine torque is 25-350 N·m (18-258 lb ft).

Conditions for Setting the DTC

    • The switch indicates PARK for 1 second, then;
    • The switch indicates a transitional state between Neutral and D5 for 4 seconds.

Action Taken When the DTC Sets

    • The TCM requests the ECM to illuminate the malfunction indicator lamp (MIL) during the second consecutive trip in which the Conditions for Setting the DTC are met.
    • The TCM commands maximum line pressure.
    • The TCM assumes a D5 shift pattern.
    • The TCM discontinues updating transmission adaptive pressure (TAP) memory cells.
    • At the time of the first failure, the TCM records the operating conditions when the Conditions for Setting the DTC are met. The TCM stores this information as a Failure Record.
    • At the time of the second failure, the ECM records the operating conditions when the Conditions for Setting the DTC are met. The ECM stores this information as a Freeze Frame.
    • The TCM stores DTC P1823 in TCM history.

Conditions for Clearing the DTC

    • The ECM turns OFF the MIL after the sixth consecutive drive trip in which the TCM does not send a MIL illumination request.
    • A scan tool can clear the DTC.
    • The TCM clears the DTC from TCM history if the vehicle completes 40 warm-up cycles without a non emission related diagnostic fault occurring.
    • The TCM cancels the DTC default actions when the ignition is OFF long enough in order to power down the TCM.

Test Description

The numbers below refer to the step numbers on the diagnostic table.

  1. This step determines if the fault is internal or external to the transmission.

  2. This step determines if the engine wiring harness circuit or the TCM is at fault .

  3. This step determines if the automatic transmission wiring harness or the transmission manual shift shaft switch assembly is at fault.

Step

Action

Value(s)

Yes

No

1

Did you perform the Diagnostic System Check - Engine Controls?

--

Go to Step 2

Go to Diagnostic System Check - Engine Controls in Engine Controls - 2.6L and 3.2L

2

  1. Install a scan tool.
  2. Turn ON the ignition, with the engine OFF.
  3. Important: 

       • Before clearing the DTC, use the scan tool in order to record the ECM Freeze Frame and the TCM Failure Records. Using the Clear Info function erases the Freeze Frame and Failure Records from the ECM and the TCM.
       • Using the Clear Info function erases stored DTCs in both the ECM and TCM.

  4. Record the DTC Freeze Frame and Failure Records.
  5. Clear the DTC.
  6. Select Transmission Data on the scan tool.
  7. Select IMS range on the scan tool.
  8. Place the gear select lever in D5.

Does the scan tool IMS range display Drive 5?

--

Go to Intermittent Conditions in Engine Controls - 2.6L and 3.2L

Go to Step 3

3

  1. Turn OFF the ignition.
  2. Disconnect the AT inline 20-way connector. Additional DTCs may set.
  3. Turn ON the ignition, with the engine OFF.
  4. Select IMS A/B/C/P on the scan tool.

Is IMS Signal P displaying LOW?

--

Go to Step 4

Go to Step 5

4

Test the TR signal circuit (CKT 776) of the switch for a short to ground between the TCM connector and the AT inline 20-way connector.

Refer to Testing for Short to Ground in Wiring Systems.

Did you find and correct the condition?

--

Go to Step 9

Go to Step 8

5

  1. Turn OFF the ignition.
  2. Connect the AT inline 20-way connector.
  3. Disconnect the automatic transmission wiring harness at the transmission manual shift shaft switch assembly.
  4. Turn ON the ignition, with the engine OFF.

Is IMS Signal P displaying LOW?

--

Go to Step 6

Go to Step 7

6

Replace the automatic transmission wiring harness. Refer to Transmission Internal Electrical Harness Replacement .

Is the action complete?

--

Go to Step 9

--

7

Replace the transmission manual shift shaft switch assembly. Refer to Manual Shift Shaft Position Switch Replacement .

Is the action complete?

--

Go to Step 9

--

8

Replace the TCM. Refer to Transmission Control Module Replacement .

Is the action complete?

--

Go to Step 9

--

9

Perform the following procedure in order to verify the repair:

  1. Select DTC.
  2. Select Clear Info.
  3. Operate the vehicle under the following conditions:
  4. • Drive the vehicle in D4.
    • The system voltage is 8-18 volts.
    • The engine torque is 55-350 N·m (41-258 lb ft).
    • IMS Signal P must be HI for 0.025 second.
  5. Select Specific DTC.
  6. Enter DTC P1823.

Has the test run and passed?

--

Go to Step 10

Go to Step 2

10

With the scan tool, observe the stored information, capture info and DTC info.

Does the scan tool display any DTCs that you have not diagnosed?

--

Go to Diagnostic Trouble Code (DTC) List in Engine Controls - 2.6L and 3.2L

System OK