GM Service Manual Online
For 1990-2009 cars only

Tools Required

J 38778 Door Trim Pad Clip Remover

Caution: If the energy absorbing foam breaks while you are removing or installing the headliner, use a NEW headliner. If you do not replace the damaged headliner, future personal injury is possible.

Caution: Do not attempt to repair or alter the head impact energy-absorbing material glued to the headliner or to the garnish trims. If the material is damaged, replace the headliner and/or the garnish trim. Failure to do so could result in personal injury.

Caution: In order to prevent SIR deployment, personal injury, or unnecessary SIR system repairs, do not strike the door or the door pillar in the area of the side impact sensor (SIS). Turn OFF the ignition and remove the key when performing service in the area of the SIS.

Notice: Use care when working around the head curtain inflator module. Sharp tools may puncture the curtain airbag. If the head curtain inflator module is damaged in any way, it must be replaced.

Notice: If a vehicle is equipped with a head curtain inflator module ensure that the inflator module and tether are undamaged. If tether or curtain airbag are damaged in any way, they must be replaced.

Removal Procedure

    Caution: Refer to SIR Caution in the Preface section.

  1. Disable the SIR system. Refer to SIR Disabling and Enabling and SIR Disabling and Enabling .

  2. Object Number: 708032  Size: SH
  3. Remove the windshield pillar garnish moldings (2). Refer to Windshield Pillar Garnish Molding Replacement .
  4. Remove the front seats. Refer to Bucket Seat Replacement .
  5. Remove the center console. Refer to Front Floor Console Replacement .

  6. Object Number: 708078  Size: SH
  7. Remove the front carpet retainers. Refer to Front Carpet Retainer Replacement .

  8. Object Number: 708059  Size: SH
  9. Remove the rear carpet retainers (1). Refer to Rear Carpet Retainer Replacement .

  10. Object Number: 708056  Size: SH
  11. Remove the center pillar garnish moldings (3). Refer to Center Pillar Garnish Molding Replacement .
  12. Remove the rear seat back. Refer to Rear Seat Back Replacement .

  13. Object Number: 708029  Size: SH
  14. Remove the rear sail panels. Refer to Sail Panel Replacement .
  15. Remove the rear assist handles. Refer to Assist Handle Replacement .

  16. Object Number: 708157  Size: SH
  17. Disconnect the electrical connectors from the left rear quarter panel.

  18. Object Number: 708125  Size: SH
  19. Disconnect the right rear quarter panel electrical connectors (3,4).
  20. Disconnect the coaxial cable (1).

  21. Object Number: 708107  Size: SH
  22. Remove the rear roof mounted dome lamp (1). Refer to Dome Lamp Replacement .
  23. Remove the sunshades. Refer to Sunshade Replacement .

  24. Object Number: 708358  Size: SH

    Important: The sunshades are secured to the headliner with a 2-piece retainer clip/spacer (2).

  25. Ensure that the plastic retainer on each side is retrieved as the headliner is lowered.
  26. Important: Note the size and location of the retainers for installation.

  27. Remove the fasteners for the sunshade rod retainers.
  28. Remove the sunshade rod retainers.
  29. Remove the fasteners for the overhead console. Refer to Roof Console Replacement .
  30. Disconnect the electrical connectors at the inside rear view mirror attachment.

  31. Object Number: 734907  Size: SH

    Notice: Note the correct routing of the electrical wiring. Failure to reinstall the wiring properly could result in damage to the wiring.

  32. Disconnect the connector lead (3) for the antenna module from the front windshield (2).

  33. Object Number: 734908  Size: SH
  34. Disconnect the connector lead (3) for the antenna module from the rear window (1).
  35. Notice: Use care when removing and installing the headliner. If reusing the headliner lay the headliner down flat on a clean surface. Excessive bending will damage the headliner.

  36. Pull down at the attachments in order to detach the six glue bond spots on the cardboard roof insulator to headliner.

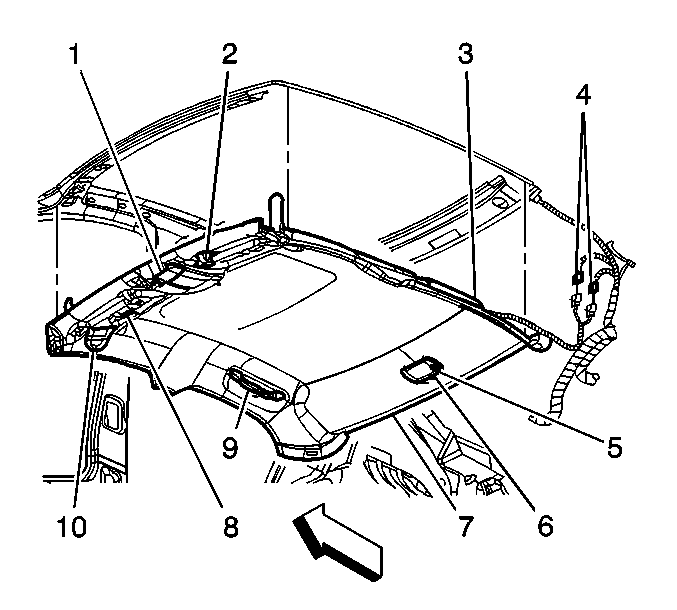
  37. Object Number: 708114  Size: SH
  38. Using J 38778 disconnect the yellow plastic retainer (1) securing the headliner to the roof panel above the overhead console.
  39. Important: When removing the headliner out the right front door, be careful not to damage the right front door upper rear weatherstrip seal.

  40. With the aid from an assistant, remove the headliner through the right front door.
  41. Place the headliner upside down on a clean protected surface.

  42. Object Number: 708271  Size: SH
  43. Disconnect the electrical connector (1) from the antenna module.
  44. Disconnect the 2 coaxial cables (3, 4).
  45. Important: Prior to removal, note the location of the ground strap for installation.

  46. Remove the antenna module from the bracket on the headliner.

Installation Procedure

  1. Position the new headliner upside down, on a clean protected surface.

  2. Object Number: 708271  Size: SH
  3. Transfer the antenna module (2) to the new headliner.
  4. Attach the antenna module (2) to the bracket.
  5. Connect the electrical connector (1).
  6. Connect the 2 coaxial cables (3,4).
  7. Ensure the antenna module ground strap is positioned properly to the headliner.

  8. Object Number: 708107  Size: SH
  9. Install the rear dome lamp bezel (1) to the headliner.
  10. Important: Ensure the bolt is placed through the antenna module ground strap.

  11. Loosely install the fastener (3).

  12. Object Number: 708365  Size: SH
  13. Install the side assist handle retainers.
  14. Install the assist handles and loosely install the fasteners in the integral retainer clips in order to hold the handles into position.

  15. Object Number: 708358  Size: SH
  16. Install the sunshades to the headliner.
  17. Important: The electrical harness is placed between the headliner and the plastic retainer clip.

  18. Position the electrical harness between the headliner and retainer clip.
  19. Install the metal retainer ring (2).
  20. Loosely install the fasteners.
  21. Connect the electrical connectors (1).

  22. Object Number: 708352  Size: SH
  23. Install the sunshade rod retainers.
  24. Install the overhead console to the headliner.
  25. On the right side, install the bolt through the sunshade rod retainer and through the overhead console bracket.
  26. Position the ground strap (1) onto the bolt (2).
  27. Install the metal retainer clip over the bolt in order to hold the ground strap into position.
  28. Install the left sunshade rod retainer.
  29. Loosely install the fastener.
  30. Ensure to install a new yellow plastic retainer to the bracket on the overhead console prior to assembly.
  31. The headliner is now ready for installation.


    Object Number: 708334  Size: SH
  32. Ensure the electrical harnesses (3, 4, 6) are visible prior to installation.
  33. With the aid from an assistant, position the headliner (7) to the cardboard roof insulator.

  34. Object Number: 708114  Size: SH
  35. Position and align the yellow push-in retainer to the net hole located in roof panel above the overhead console.
  36. Apply moderate hand pressure to the overhead console (1) in order to seat the push-in retainer.
  37. Notice: Refer to Fastener Notice in the Preface section.

  38. Secure both side assist handles (9) in order to hold the headliner in place.
  39. Tighten
    Tighten the assist handle screws to 2 N·m (18 lb in).

  40. Install the assist handle bezel covers.

  41. Object Number: 708107  Size: SH
  42. Install the fastener (3) for the rear dome lamp (1).
  43. Tighten
    Tighten the fastener to 10 N·m (89 lb in).

  44. Secure the bezel cover (2).
  45. Secure both sunshades.
  46. Tighten
    Tighten the outer sunshade bezel fasteners to 2 N·m (18 lb in).

  47. Secure the right side sunshade rod retainer.
  48. Tighten
    Tighten the right side to 10 N·m (89 lb in).

  49. Secure the left side sunshade rod retainer.
  50. Tighten
    Tighten the left side to 2 N·m (18 lb in).

  51. Position the sunshades to the headliner.
  52. Connect the electrical connectors to the inside rearview mirror.

  53. Object Number: 734907  Size: SH
  54. Connect the connector lead (3) for the antenna module to the front windshield (2).

  55. Object Number: 734908  Size: SH
  56. Connect the connector lead (3) for the antenna module to the rear window (1).

  57. Object Number: 708125  Size: SH
  58. Connect the right rear quarter electrical connectors (3, 4).
  59. Connect the coaxial cable (1).

  60. Object Number: 708157  Size: SH
  61. Connect the left rear quarter electrical connectors.

  62. Object Number: 708029  Size: SH
  63. Install the rear sail panels. Refer to Sail Panel Replacement .
  64. Install the rear seat back. Refer to Rear Seat Back Replacement .

  65. Object Number: 708056  Size: SH
  66. Install the center pillar garnish moldings (3). Refer to Center Pillar Garnish Molding Replacement .

  67. Object Number: 708059  Size: SH
  68. Install the rear carpet retainers (1). Refer to Rear Carpet Retainer Replacement .

  69. Object Number: 708078  Size: SH
  70. Install the front carpet retainers. Refer to Front Carpet Retainer Replacement .
  71. Install the center console. Refer to Front Floor Console Replacement .
  72. Install the front seats. Refer to Bucket Seat Replacement .

  73. Object Number: 708032  Size: SH
  74. Install the windshield pillar garnish moldings (2). Refer to Windshield Pillar Garnish Molding Replacement .
  75. Enable the SIR system. Refer to SIR Disabling and Enabling and SIR Disabling and Enabling .