GM Service Manual Online
For 1990-2009 cars only
Makes
🢒
Cadillac
🢒
2007
🢒
CTS
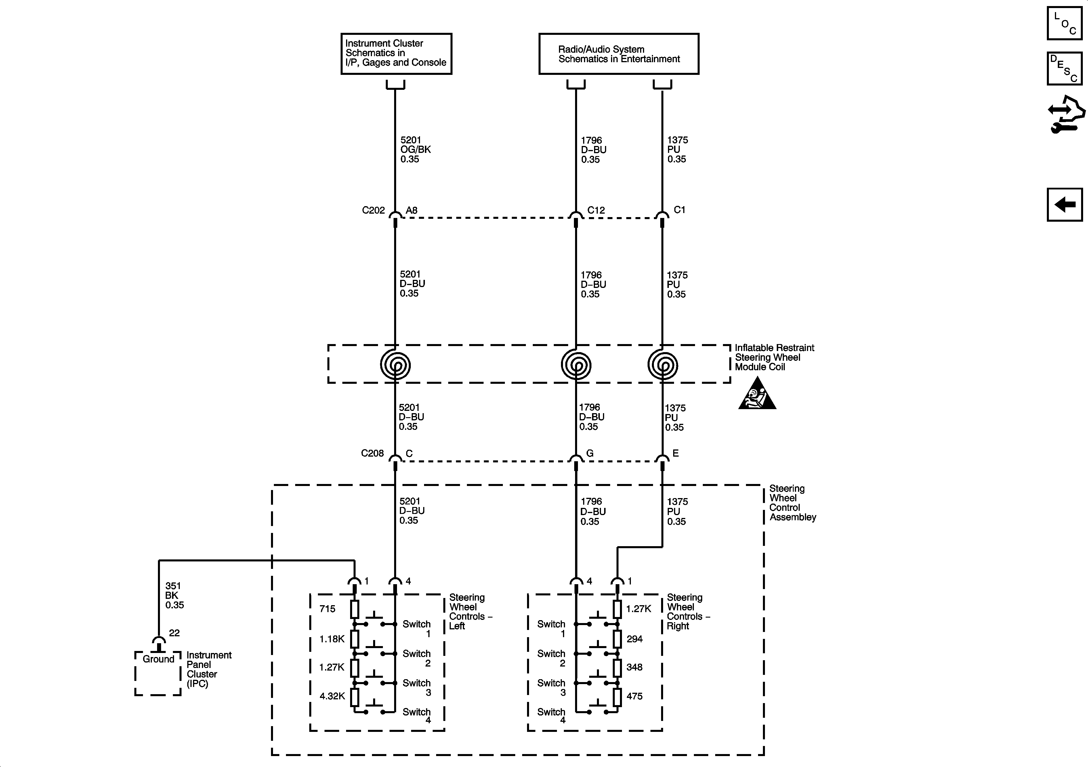
🢒 Steering Wheel Controls - 6.0L (LS2)
Steering Wheel Controls - 6.0L (LS2)
Redundant Steering Wheel Controls - 6.0L (LS2)
Master Electrical Component List
Radio/Audio System Description and Operation
Control Module References
Steering Wheel Controls - 2.8L/3.6L (LP1/LY7)
Driver Information Center (DIC) System
Engine Data Sensors - Throttle Actuator Control (TAC) System
Entertainment Schematic Icons