GM Service Manual Online
For 1990-2009 cars only
Table 1: DTC P0325 - Knock Sensor (KS) Circuit Bank 1

Object Number: 70484  Size: MF
Engine Controls Components
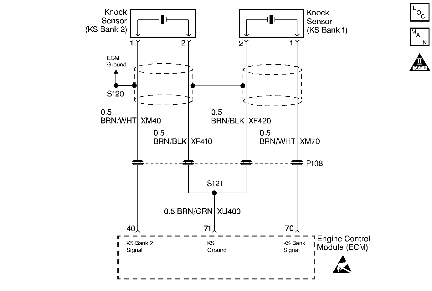
Cell 20: Knock Sensors Banks 1 & 2 and IAC, MAF Sensors
OBD II Symbol Description Notice
Handling ESD Sensitive Parts Notice

Circuit Description

The knock sensor (KS) system is used in order to detect any engine detonation. The engine control module (ECM) will retard the spark timing based on the signals from the KS module. The knock sensors produce an AC voltage that is sent to the KS module. The amount of AC voltage produced is proportional to the amount of knock.

An operating engine produces a normal amount of engine mechanical vibration, noise. The knock sensors will produce an AC voltage signal from this noise. When an engine is operating, the ECM will learn the minimum and maximum frequency of the noise the engine produces. When the ECM determines that this frequency is less than or more than the expected amount, a knock sensor diagnostic trouble code (DTC) will set.

Conditions for Running the DTC

    • The ECT is greater than 45°C (113°F).
    • The engine speed is greater than 2,000 RPM.

Conditions for Setting the DTC

The knock sensor signal is lower than the values listed in the following table:

Engine Speed (RPM)

Reference Signal (mV)

0

1.83

800

2.44

1600

3.66

2000

4.27

2400

5.49

2800

6.71

3200

8.54

3600

10.38

4000

12.82

4400

15.26

4800

18.31

5200

22.58

5600

28.69

5920

39.06

6200

39.06

6400

39.06

Action Taken When the DTC Sets

The ECM illuminates the malfunction indicator lamp (MIL) and records the operating conditions in the Freeze Frame on the second consecutive drive trip that the diagnostic runs and fails.

Conditions for Clearing the MIL/DTC

    • The ECM turns OFF the MIL after three consecutive drive trips that the diagnostic runs and passes.
    • A History DTC clears after forty consecutive warm-up cycles in which no failures are reported by this diagnostic or any other emission related diagnostic.
    • The ECM battery voltage is interrupted.
    • The scan tool clears the MIL/DTC.

Diagnostic Aids

Use the Connector Test Adapter Kit J 35616 for any test that requires probing the ECM harness connector or a component harness connector. Using this kit will prevent damage to the harness connector terminals.

Check for the following conditions:

    • Poor connections at the ECM or at the component. Inspect the harness connectors for any backed out terminals, improper mating, broken locks, improperly formed or damaged terminals, and poor terminal to wire connection. Refer to Engine Control Module Diagnosis , Checking Terminal Contact for the proper procedure.
    • Misrouted harness. Inspect the harness in order to ensure that the harness is not routed too close to any high voltage wires such as spark plug leads, or too close to any high current devices such as the alternator, the motors, the solenoids, etc.
    • Damaged harness. Inspect the wiring harness for any damage. If the harness appears to be OK, observe the scan tool while moving the related connectors and the wiring harnesses. A change in the display may help in order to locate the fault.
        If the sensor signal is only affected when the harness is moved at a component, and there is no problem with the harness or connections, the component may be damaged.
    • Check the Knock Sensor for proper installation. A Knock Sensor that is loose or over torqued may cause this DTC to set.

Refer to Symptoms for the Intermittents.

Test Description

The number(s) below refer to the step number(s) on the diagnostic table:

  1. This verifies that the malfunction is present.

  2. The KS wiring in the harness is shielded and the shield is grounded to the engine block. Ungrounded or damaged shielding may permit Electromagnetic Interference (EMI) to reach and affect the KS wiring. This could cause excessive noise on the KS signal.

DTC P0325 - Knock Sensor (KS) Circuit Bank 1

Step

Action

Value(s)

Yes

No

1

Did you perform the Powertrain On-Board Diagnostic (OBD) System check?

--

Go to Step 2

Go to Powertrain On Board Diagnostic (OBD) System Check

2

Important: If an engine knock can be heard, repair the engine mechanical problem before proceeding with this diagnostic.

  1. Turn on the ignition with the engine off.
  2. Review the Freeze Frame data for this DTC and note parameters.
  3. Clear the DTCs.
  4. Turn off the ignition for 15 seconds.
  5. Start the engine.
  6. Operate the vehicle within the conditions that are required for this diagnostic to run, and as close to the conditions that were recorded in the Freeze Frame as possible. Refer to Conditions for Running the DTC.
  7. Check for any DTCs.

Is this DTC set?

--

Go to Step 3

Refer to Diagnostic Aids

3

  1. Turn off the ignition.
  2. Disconnect the Knock Sensor.
  3. Disconnect the ECM.
  4. Check for poor connections/terminal tension at the Knock Sensor connector and at the ECM connector. Refer to Electrical Diagnosis in Engine Electrical, and Troubleshooting Procedures for the proper procedure. Also, refer to Checking Terminal Contact in Engine Control Module Diagnosis .

Was a problem found and corrected?

--

Go to Step 13

Go to Step 4

4

  1. Turn on the ignition with the engine off.
  2. Use the DVM J 39200 in order to measure the voltage from the KS signal circuit in the ECM harness connector to battery ground.

Is there any voltage present?

--

Go to Step 9

Go to Step 5

5

Check the harness for continuity of the KS signal circuit with the DVM J 39200 .

Is continuity indicated?

--

Go to Step 6

Go to Step 9

6

Check the harness for continuity between the KS sensor signal circuit and battery ground with the DVM J 39200 .

Is continuity indicated?

--

Go to Step 9

Go to Step 7

7

  1. Turn off the ignition.
  2. Reconnect the ECM.
  3. Turn on the ignition with the engine off.
  4. Probe the KS ground circuit in the KS harness connector with test light J 34142-B connected to B+.

Does the test light illuminate?

--

Go to Step 8

Go to Step 10

8

Probe the KS shielding on the KS wiring with test light J 34142-B connected to B+.

Does the test light illuminate?

--

Refer to Diagnostic Aids

Go to Step 11

9

  1. Inspect the signal circuit for a short or an open
  2. Repair the circuit as necessary.

Was a problem found?

--

Go to Step 13

Go to Step 12

10

Repair the open/high resistance in the ground circuit.

Is the action complete?

--

Go to Step 14

--

11

Repair the KS shield circuit.

Is the action complete?

--

Go to Step 14

--

12

Replace the knock sensor.

Is the action complete?

--

Go to Step 12

--

13

  1. Clear the DTCs with the scan tool.
  2. Turn off the ignition for 15 seconds.
  3. Operate the vehicle with the conditions that are required for this vehicle to RUN. Refer to Conditions for Running the DTC.
  4. Check for any DTCs.

Is this DTC set?

--

Go to Step 2

Go to Step 14

14

Were there any additional DTCs noted during the Powertrain OBD System Check that have not been diagnosed?

--

Go to the applicable DTC table

The System is OK