GM Service Manual Online
For 1990-2009 cars only

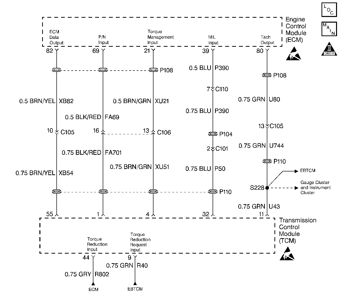
Object Number: 70489  Size: LF
Engine Controls Components
Engine Controls Schematics
OBD II Symbol Description Notice
Handling ESD Sensitive Parts Notice
Handling ESD Sensitive Parts Notice

Circuit Description

This DTC indicates that a transmission related OBD II failure has occurred. The Transmission Control Module (TCM) controls a dedicated Service Transmission Lamp (STL) which illuminates when a fail reports by certain non-emissions related TCM diagnostics. The TCM has no direct control of the engine MIL, but if a transmission fault occurs that is emissions related, the engine MIL must illuminate. A MIL Request circuit between the ECM and the TCM provides a means for illuminating the MIL, even though the fault was detected by the TCM. This circuit is pulled up to B+ within the ECM. In order to illuminate the MIL, the TCM momentarily pulses. The ECM detects this and DTC P1700 is set, which illuminates the MIL. DTC P1701 indicates that the ECM has a detected problem with the MIL Request circuit.

Conditions for Running the DTC

Engine cranking

Conditions for Setting the DTC

    • A short to ground, an open circuit, or a short to battery voltage detected on the MIL Request circuit
    • The condition has been present for at least 2.5 seconds.

Action Taken When the DTC Sets

The ECM illuminates the malfunction indicator lamp (MIL) and records the operating conditions in the Freeze Frame on the second consecutive drive trip that the diagnostic runs and fails.

Conditions for Clearing the MIL/DTC

    • The ECM turns OFF the MIL after three consecutive drive trips that the diagnostic runs and passes.
    • A History DTC clears after forty consecutive warm-up cycles in which no failures are reported by this diagnostic or any other emission related diagnostic.
    • The ECM battery voltage is interrupted.
    • The scan tool clears the MIL/DTC.

Diagnostic Aids

For any test that requires probing the TCM harness connector or a component harness connector, use the Connector Test Adapter Kit J 35616 . Using this kit will prevent damage to the harness connector terminals.

Check for the following conditions:

    • Poor connections at the ECM, TCM or at the component. Inspect the harness connectors for any backed out terminals, improper mating, broken locks, improperly formed or damaged terminals, and poor terminal to wire connection. Refer to Engine Control Module Diagnosis for the proper procedure.
    • Damaged harness. Inspect the wiring harness for any damage. If the harness appears to be OK, observe the scan tool while moving the related connectors and the wiring harnesses. A change in the display may help in order to locate the fault.

Test Description

The number(s) below refer to the step number(s) on the Diagnostic Table.

  1. Checks for a shorted MIL Request circuit within the TCM.

DTC P1701 - MIL Request Circuit

Step

Action

Value(s)

Yes

No

1

Did you perform the Powertrain On-Board Diagnostic (OBD) System check?

--

Go to Step 2

Go to Powertrain On Board Diagnostic (OBD) System Check

2

  1. Turn off the ignition.
  2. Disconnect the TCM.
  3. Turn on the ignition with the engine off.
  4. Measure the voltage from the MIL request circuit in the harness connector to ground with the DVM J 39200 .

Does the DVM indicate the specified voltage?

B+

Go to Step 3

Go to Step 4

3

Probe the MIL Request circuit in the TCM harness connector with the test light J 34142-B connected to ground.

Does the test light illuminate?

--

Go to Step 7

Go to Step 6

4

  1. Turn off the ignition.
  2. Disconnect the ECM.
  3. Check the harness for continuity of the MIL request circuit with the DVM J 39200 .

Is continuity indicated?

--

Go to Step 5

Go to Step 8

5

Check the harness for continuity between the MIL request circuit and battery ground with the DVM J 39200 .

Is continuity indicated?

--

Go to Step 9

Go to Step 11

6

  1. Turn off the ignition.
  2. Reconnect the TCM.
  3. Disconnect the ECM.
  4. Probe the MIL Request circuit in the ECM harness connector with the test light J 34142-B connected to B+.

Does the test light illuminate?

--

Go to Step 10

Fault not present. Refer to Diagnostic Aids

7

Repair the circuit shorted to B+.

Is the action complete?

--

Go to Step 13

--

8

Repair the open/high resistance circuit.

Is the action complete?

--

Go to Step 13

--

9

Repair the circuit shorted to ground.

Is the action complete?

--

Go to Step 13

--

10

Replace the TCM.

Is the action complete?

--

Go to Step 13

--

11

Check for a poor connection or poor terminal tension at the ECM harness connector. Refer to Electrical Diagnosis in Engine Electrical, and Trouble Shooting Procedures for the proper procedures. Also, refer to Checking Terminal Contact in Engine Control Module Diagnosis .

Was a problem found and corrected?

--

Go to Step 13

Go to Step 12

12

Important: This vehicle is equipped with a Theft Deterrent System which interfaces with the Engine Control Module (ECM). Program the new ECM with the frequency code of the theft deterrent module that is currently on the vehicle.

Replace the ECM. Refer to Engine Control Module Replacement/Programming .

Is the action complete?

--

Go to Step 13

--

13

  1. Clear the DTCs with the scan tool.
  2. Turn off the ignition for 15 seconds.
  3. Operate the vehicle within the conditions that are required for this diagnostic to run. Refer to Conditions for Running the DTC.
  4. Check for any DTCs.

Is this DTC set?

--

Go to Step 2

Go to Step 14

14

Were there any additional DTCs noted during the Powertrain OBD System Check that have not been diagnosed?

--

Go to the applicable DTC table

The System is OK