GM Service Manual Online
For 1990-2009 cars only

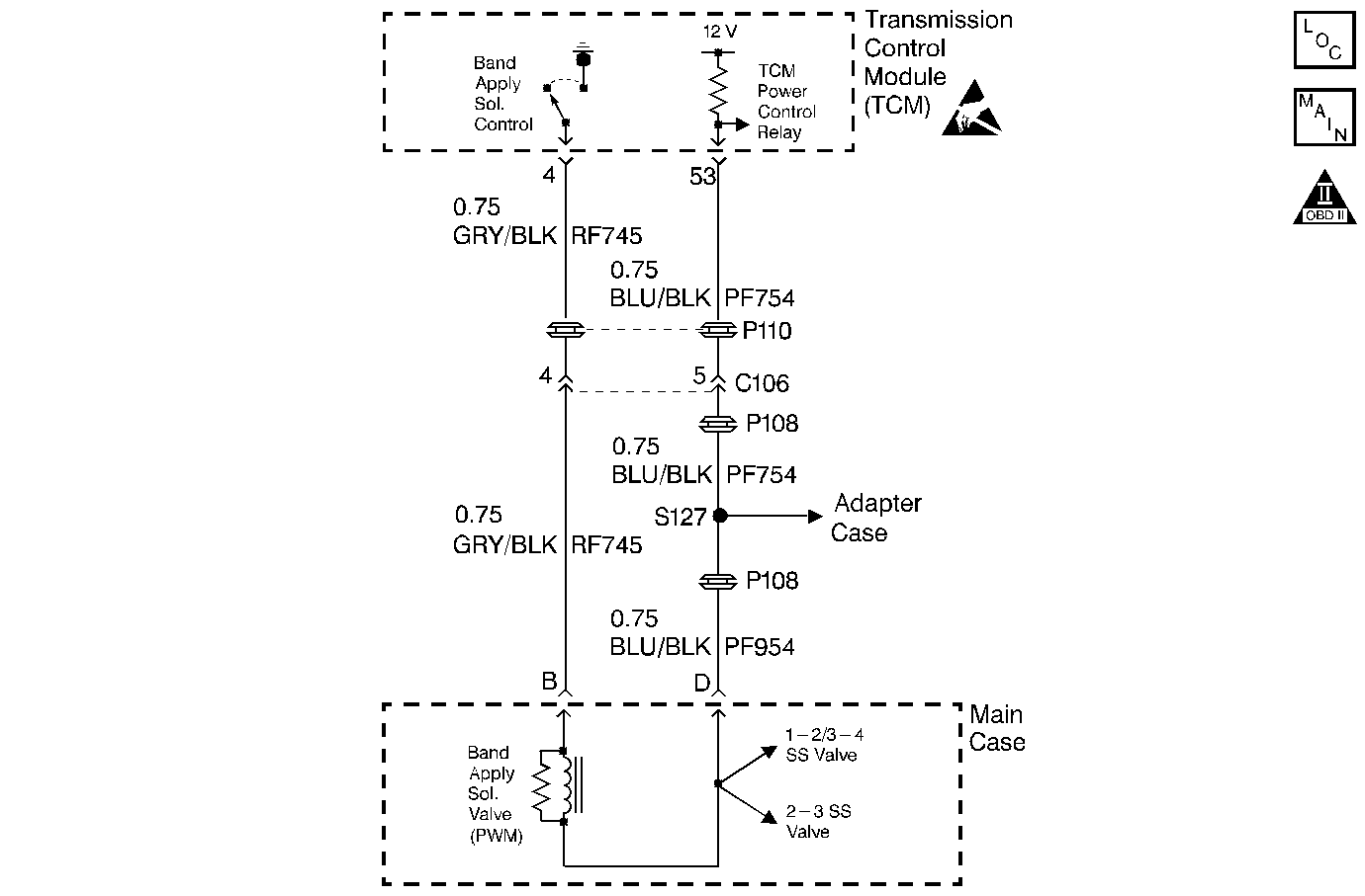
Object Number: 398678  Size: MF
Automatic Transmission Components
Automatic Transmission Controls Schematics
OBD II Symbol Description Notice
Handling ESD Sensitive Parts Notice

Circuit Description

The band apply solenoid assembly is attached in the valve body in the main case of the transmission. The solenoid controls transmission fluid flow to the band servo. The TCM controls the solenoid with a pulse width modulated (PWM) signal. The signal frequency is approximately 32 Hz. The duty cycle is controllable from 0-100%.

The Band Apply Solenoid receives supply power via the Transmission Power Relay (internal to the TCM). The TCM controls the solenoid by grounding the control circuit via an internal solid state device called a driver. The driver has a fault line which is monitored by the TCM. When the TCM is commanding a component ON, the voltage of the control circuit should be low (near 0 volts). When the TCM is commanding the control circuit to a component OFF, the voltage potential of the circuit should be high (near system voltage).

When the TCM detects a continuous open, short to power, short to ground in the band control solenoid circuit or the band control solenoid assembly, the DTC P1850 sets. DTC P1850 is a type B DTC.

Conditions for Running the DTC

The ignition switch is in the RUN position.

The TCM high side driver is closed.

Conditions for Setting the DTC

DTC P1850 sets if any one of the following conditions occurs in 0.18 seconds.

    • The band control solenoid assembly is commanded off and the feedback voltage is lower than 2.45 volts.
    • The band control solenoid assembly is commanded off and the feedback voltage is 2.45 -3.53 volts.
    • The band control solenoid assembly is commanded on and the feedback voltage is greater than 4.02 volts.

Action Taken When the DTC Sets

    • Early production - The TCM illuminates the service transmission lamp (STL) and sends a MIL request to the ECM on the second consecutive drive trip that the diagnostic runs and fails. The ECM then illuminates the MIL.
    • Late production - The TCM flashes the Sport Mode Lamp and sends a MIL request on the second consecutive drive trip that the diagnostic runs and fails. The TCM then illuminates the MIL.
    • The ECM records the operating conditions in the Freeze Frame at the time of the MIL request from the TCM.
    • The transmission operates in the default mode (maximum line pressure, command 4th gear, inhibit TCC, freeze shift adapts).

Conditions for Clearing the MIL/DTC

    • Early production - The TCM turns off the STL as soon as the fault is no longer present.
    • Late production - The TCM stops flashing the sport mode lamp as soon as the fault is no longer present.
    • The ECM turns off the MIL after three consecutive drive trips during which the TCM sends no MIL request.
    • A History DTC clears after forty consecutive warm-up cycles, if no failures are present by this diagnostic or any other emission related diagnostic.
    • The scan tool clears the MIL/DTC.
    • The TCM cancels the DTC default mode actions when the fault no longer exists and the ignition switch is Off long enough in order to power down the TCM.

Diagnostic Aids

Vehicles equipped with Fuel Cap Lamps utilize the Sport Mode lamp to indicate a transmission malfunction. In these vehicles, the Sport Mode Lamp flashes at 200 millisecond intervals when the TCM commands the lamp ON.

Vehicles not equipped with Fuel Cap Lamps are equipped with a dedicated Service Transmission Lamp (STL) on the Instrument Panel Cluster (IPC). The STL illuminates steadily when the TCM commands the lamp ON.

Use the J 35616-A connector test adapter kit for any test that requires probing the TCM harness connector or a component harness connector. Using this kit will prevent damage to the harness connector terminals.

Check for the following conditions:

    • Poor connections at the TCM or at the component. Inspect the harness connectors for any backed out terminals, improper mating, broken locks, improperly formed or damaged terminals, and poor terminal to wire connection.
        Refer to General Electrical Diagnosis in Wiring Systems for proper procedure.
    • Damaged harness. Inspect the wiring harness for damage. If the harness appears to be OK, observe the scan tool while moving any related connectors and any wiring harnesses. A change in the display may help to locate the fault.

Test Description

The numbers below refer to the step numbers on the diagnostic table.

  1. Listen for an audible click when the solenoid operates. Ground the circuit repeatedly if necessary.

  2. If the TCC solenoid valve checks out OK and no condition is found with the connections at the TCM, check the wiring and connections closely. If no condition is found, the TCM may be the cause of the condition.

DTC P1850 Band Apply Solenoid Circuit

Step

Action

Value(s)

Yes

No

1

Was the Powertrain On-Board Diagnostic (OBD) System Check performed?

--

Go to Step 2

Go to On-Board Diagnostic System Check

2

  1. Install the Scan Tool .
  2. With the engine OFF, turn the ignition switch to the RUN position.
  3. Important:  Before clearing the DTC, use the Scan Tool in order to record the Freeze Frame and Failure Records. Using the Clear Info function erases the Failure Records from the ECM/TCM.

  4. Record the DTC Freeze Frame and Failure Records.
  5. Clear the DTC.
  6. Turn the ignition switch to the OFF position.
  7. Disconnect the TCM.
  8. Use a fused jumper wire in order to connect the transmission power relay output circuit (terminal 53) in the TCM harness connector to B+.
  9. Jump the band control solenoid circuit (terminal 4) in the TCM harness connector with a fused jumper wire to ground.

Does the solenoid operate?

--

Go to Step 7

Go to Step 3

3

  1. Leave the transmission power relay output circuit (terminal 53) connected to B+.
  2. Disconnect the other fused jumper wires.
  3. Disconnect the transmission main case 7-way harness connector.
  4. With the test light connected to ground, probe the transmission power relay circuit (terminal D) in the harness connector.

Does the test light illuminate?

--

Go to Step 4

Go to Step 11

4

With the test light connected to ground, probe the band control solenoid circuit (terminal B) in the harness connector.

Does the test light illuminate?

--

Go to Step 8

Go to Step 5

5

Connect the test light between the transmission power relay circuit (terminal D) and the band control solenoid circuit (terminal A) at the transmission main case harness connector.

Does the test light illuminate?

--

Go to Step 9

Go to Step 6

6

With the test light still connected, jumper the band control solenoid circuit to ground at the TCM harness connector.

Does the test light illuminate?

--

Go to Step 12

Go to Step 10

7

Replace the TCM.

Refer to Transmission Control Module Replacement .

Is the action complete?

--

Go to Step 15

--

8

Repair the band control solenoid circuit (RF 745) shorted to B+.

Refer to Wiring Repairs in Wiring Systems.

Is the action complete?

--

Go to Step 15

--

9

Repair the band control solenoid circuit (RF 745) shorted to ground.

Refer to Wiring Repairs in Wiring Systems.

Is the action complete?

--

Go to Step 15

--

10

Repair the open/high resistance band control solenoid circuit (RF 745).

Refer to Wiring Repairs in Wiring Systems.

Is the action complete?

--

Go to Step 15

--

11

Repair the transmission power relay circuit (PF 754/PF 954) to the solenoid.

Refer to Wiring Repairs in Wiring Systems.

Is the action complete?

--

Go to Step 15

--

12

  1. Remove the main case bottom pan.
  2. Refer to Changing Fluid and Oil Filter .

  3. Check the internal transmission harness to the Band Control solenoid for the following conditions:
  4. • Open Circuit
    • Circuits shorted together
    • Short to ground
    • Short to B+
    • Poor connections/terminal tension

Refer to General Electrical Diagnosis in Wiring Systems.

Was a condition found?

--

Go to Step 13

Go to Step 14

13

Replace the internal transmission wiring harness.

Refer to Control Valve Body .

Is the action complete?

--

Go to Step 15

--

14

Replace the Band Control solenoid.

Refer to Band Control Solenoid Replacement .

Is the action complete?

--

Go to Step 15

--

15

Perform the following procedure in order to verify the repair:

  1. Clear the DTCs with the Scan Tool .
  2. Start the engine.
  3. From a stop, drive the vehicle in D4 making several 1-2 to 2-3 shifts.
  4. Ensure the following conditions are met:
  5. • The band control solenoid is commanded OFF and the feedback voltage is lower than 2.45 volts.
    • The band control solenoid is commanded OFF and the feedback voltage is 2.45-3.53  volts.
    • The band control solenoid is commanded ON and the feedback voltage is greater than 4.02 volts.

Is DTC P1850 set?

--

Go to Step 1

System OK