GM Service Manual Online
For 1990-2009 cars only

Object Number: 606461  Size: LF
Body Control Module Components
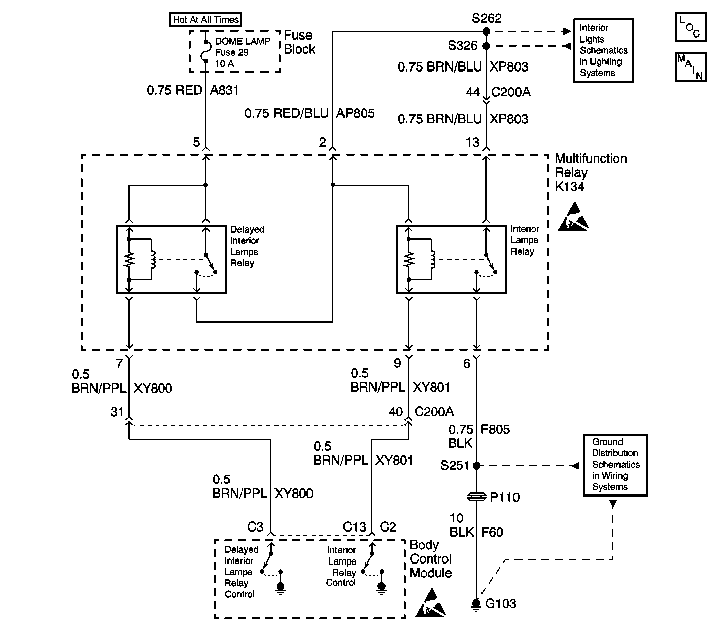
Multifunction Relay K134

Circuit Description

The BCM operates the interior lamps using the delayed interior lamps (DIL) relay and the interior lamp relay. When the DIL relay is energized, it provides battery power to the coil of the interior lamp relay. Upon receiving various inputs, the BCM commands the interior lamps ON by grounding the interior lamp relay control circuit, which energizes the interior lamp relay. When the relay is energized, it provides a ground path for the interior lamps.

Conditions for Setting the DTC

Important: DTC B2471 is not valid if DTC B1971 is set, either as a current code or a history code. Check for a DTC B1971 history code before preceding. If there is a DTC B1971 in history, refer to DTC B1971 for diagnostics.

The DTC B2471 sets only when the DIL relay output is active. The BCM monitors the output to the interior lamps relay every second at terminal C13. DTC 2471 sets when the feedback doesn't match the commanded state for 2 seconds (open circuit, short to B+ or ground).

Action Taken When the DTC Sets

    • The BCM continues to command the requested state until it is achieved or until it changes.
    • Stores a DTC B2471 in the BCM memory. The problem may intermittent if the DTC is a history DTC.

Conditions for Clearing the DTC

    • The conditions for the fault are no longer present.
    • A history DTC will clear after 50 ignition cycles if the condition for the fault is no longer present.
    • The use of a scan tool.

Diagnostic Aids

Check for the following conditions if a history DTC is indicated:

    •  Test the interior lamps relay control circuit for a poor connection at the BCM or multifunction relay. Test the interior lamps relay control circuit for an intermittent open, short to ground, or short to voltage.
    • A damaged wiring harness. Inspect the wiring harness for damage. If the wiring harness appears to be in good condition, observe the display on the DMM while moving the connectors and wiring harnesses related to the circuits. A change in the DMM display during this test will indicate the location of the fault.
    • For additional information, refer to Inducing Intermittent Fault Conditions in Wiring Systems.

Test Description

The following numbers refer to the step numbers on the diagnostic table:

  1. This step uses a scan tool to test the interior lamp operation and to verify if the fault is present.

  2. After verifying that no circuit problems exist and the multifunction relay is OK, the BCM is most likely at fault. The BCM needs to be programmed after installation.

Step

Action

Value(s)

Yes

No

1

Did you perform the Lighting System Diagnostic System Check?

--

Go to Step 2

Go to Diagnostic Starting Point - Lighting Systems

2

  1. Install the scan tool.
  2. Turn ON the ignition, with the engine OFF
  3. Select the BCM display DTCs function on the scan tool.
  4. Check for history code DTC B1971.

Is there a history code B1971?

--

Go to DTC B1971 Inadvertent Power

Go to Step 3

3

  1. Use the scan tool to select INTERIOR LAMPS from the Light Test Menu in Special Functions.
  2. Press the ON button then press the OFF button and monitor interior lamp operation.

Do the interior lamps turn ON and OFF with each command?

--

Go to Diagnostic Aids

Go to Step 4

4

  1. With a DMM backprobe the interior lamp relay control circuit of the BCM connector C2.
  2. Command the interior lamps relay OFF with the scan tool.
  3. Measure the voltage between the interior lamp relay control circuit of the BCM connector C2 and a good ground.

Is the measured voltage near the specified value?

B+

Go to Step 5

Go to Step 6

5

  1. Disconnect the multifunction relay.
  2. Test the control circuit of the interior lamp relay for a short to B+. Refer to Circuit Testing and Wiring Repairs in Wiring Systems.

Did you find and correct the condition?

--

Go to Step 10

Go to Step 9

6

  1. Disconnect the multifunction relay.
  2. Disconnect BCM connector C2.
  3. Test the control circuit of the interior lamp relay for a open or high resistance. Refer to Circuit Testing and Wiring Repairs in Wiring Systems.

Did you find and correct the condition?

--

Go to Step 10

Go to Step 7

7

Test the control circuit of the interior lamp relay for a short to ground. Refer to Circuit Testing and Wiring Repairs in Wiring Systems.

Did you find and correct the condition?

--

Go to Step 10

Go to Step 8

8

Replace the multifunction relay.

Is the replacement complete?

--

Go to Step 10

--

9

Important:  Perform the set up procedure for the BCM.

Replace the BCM. Refer to Body Control Module Replacement in Body Control System.

Is the replacement complete?

--

Go to Step 10

--

10

  1. Install the scan tool in order to clear any BCM DTCs.
  2. Verify proper Interior lamp operation.
  3. Retest for DTC B2471.

Did a current DTC B2471 set?

--

Go to Step 2

System OK