GM Service Manual Online
For 1990-2009 cars only
Makes
🢒
Cadillac
🢒
2001
🢒
Catera
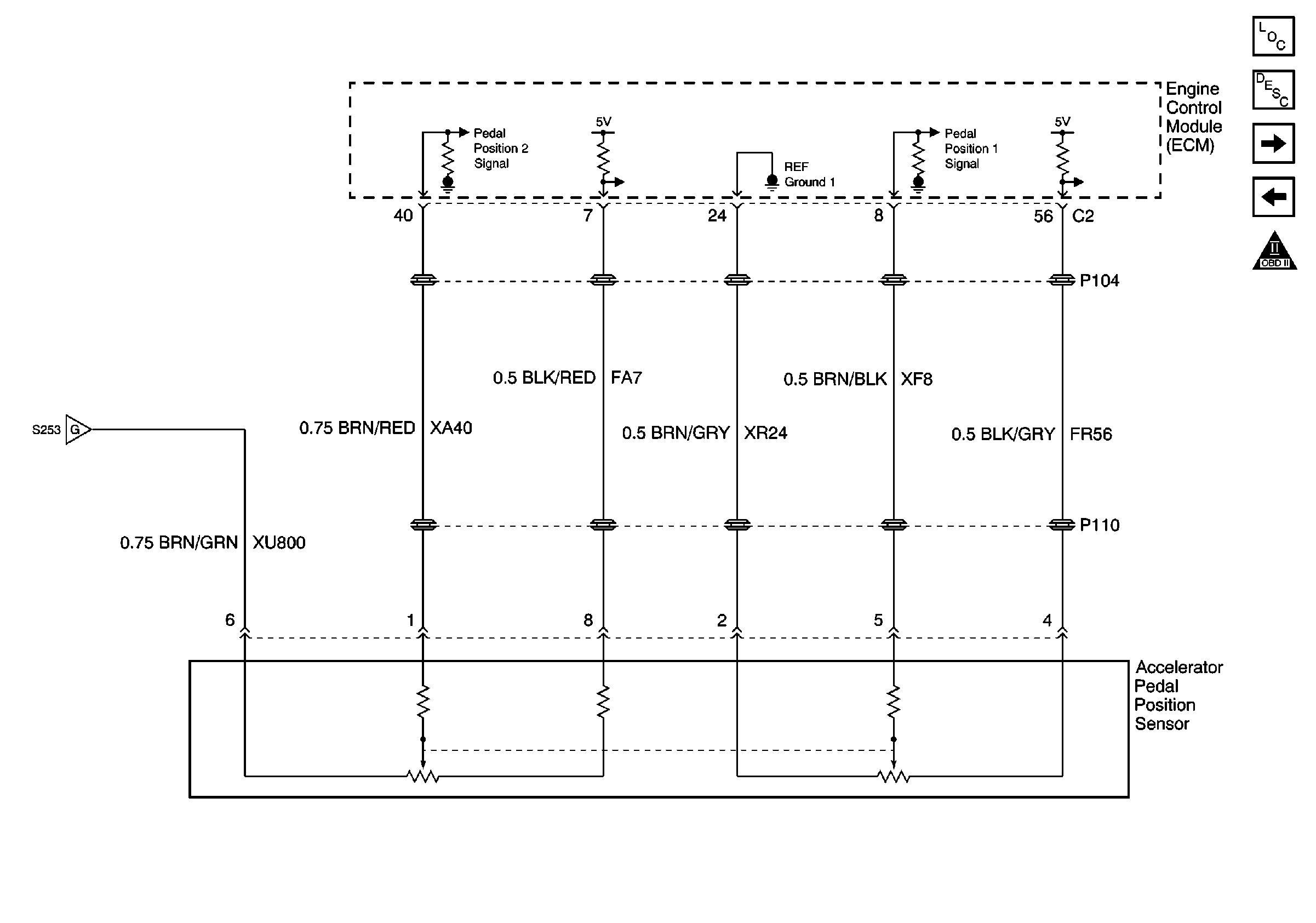
🢒 Accelerator Pedal Position (APP) Sensor
Accelerator Pedal Position (APP) Sensor
Accelerator Pedal Position (APP) Sensor
Master Electrical Component List
Information Sensors
Cruise Control
Engine Controls (Throttle Position (TP) Sensor)