GM Service Manual Online
For 1990-2009 cars only

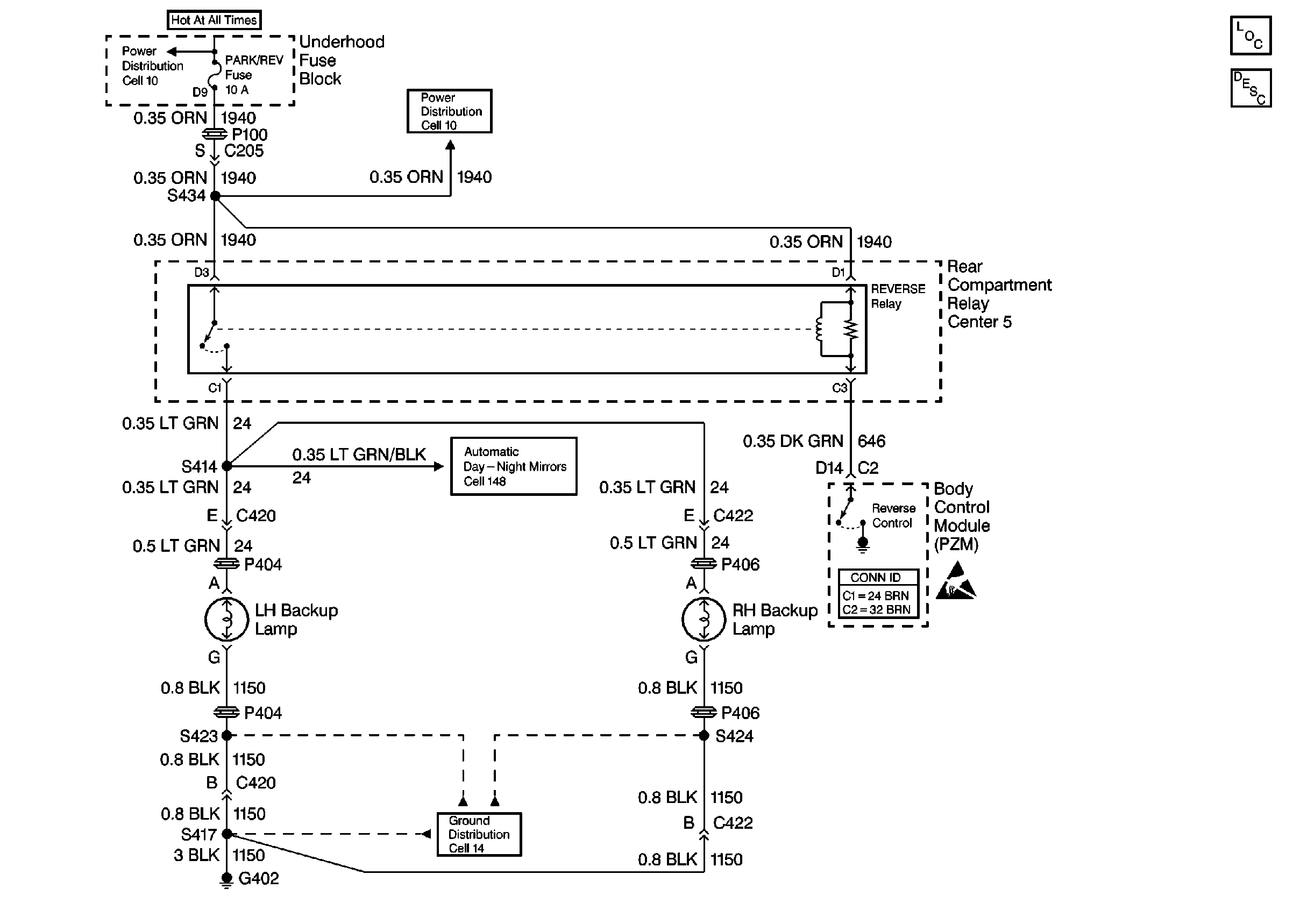
Backup Lamp Schematics DeVille

Cell 112: Backup Lamps


Object Number: 318542  Size: FS
Lighting Systems Components
Backup Lamp Circuit Description
Power Distribution Schematics
99 E/Ksp Cell 148
Ground Distribution Schematics
Body Control System Connector End Views
Handling ESD Sensitive Parts Notice
Power Distribution Schematics

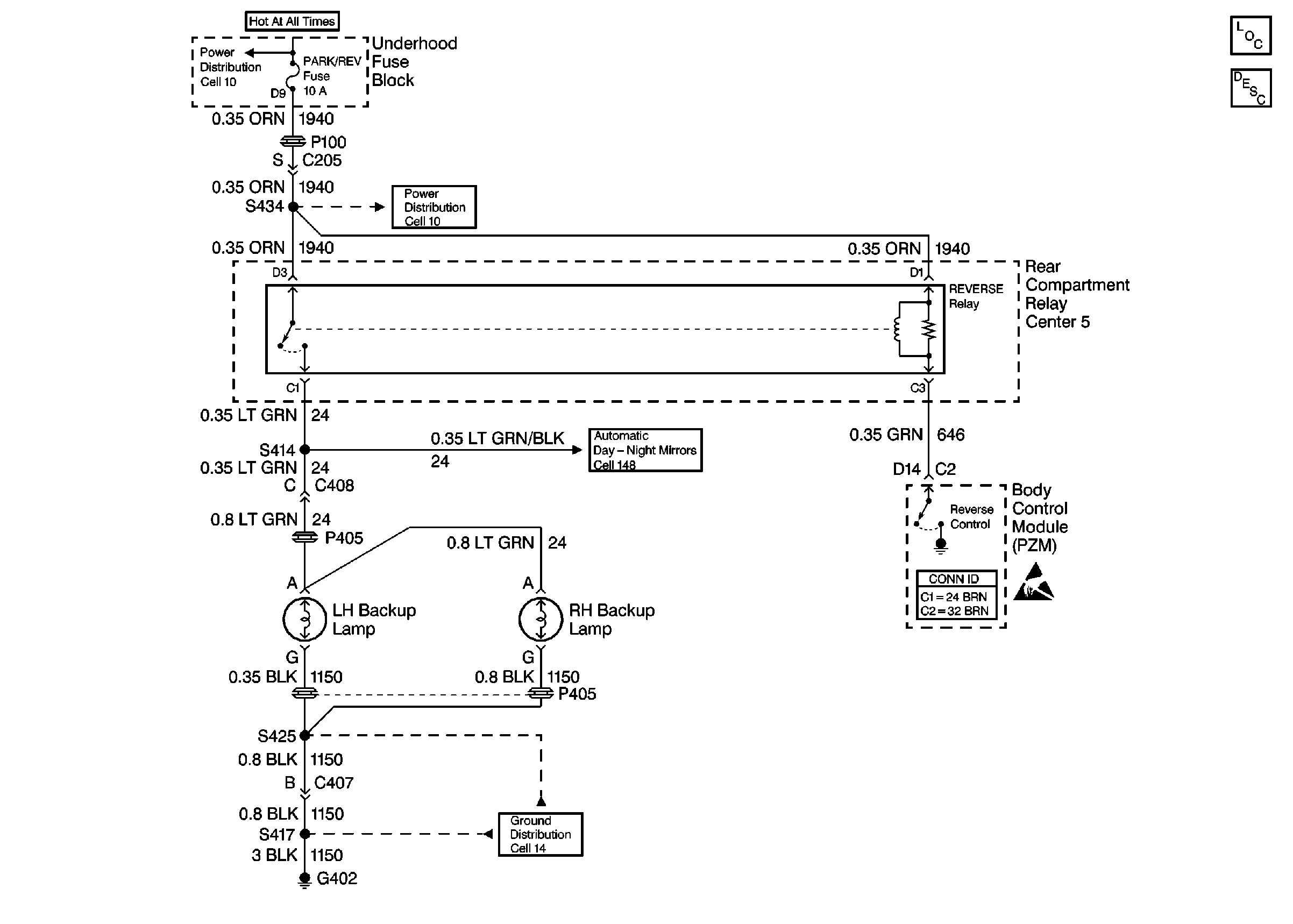
Backup Lamp Schematics Eldorado USA

Cell 112: Backup Lamps


Object Number: 318544  Size: FS
Lighting Systems Components
Backup Lamp Circuit Description
Power Distribution Schematics
99 E/Ksp Cell 148
Ground Distribution Schematics
Body Control System Connector End Views
Handling ESD Sensitive Parts Notice
Power Distribution Schematics

Backup Lamp Schematics Eldorado Export

Cell 112: Backup Lamps


Object Number: 318548  Size: FS
Lighting Systems Components
Backup Lamp Circuit Description
Power Distribution Schematics
99 E/Ksp Cell 148
Body Control System Connector End Views
Handling ESD Sensitive Parts Notice
Ground Distribution Schematics
Power Distribution Schematics