GM Service Manual Online
For 1990-2009 cars only

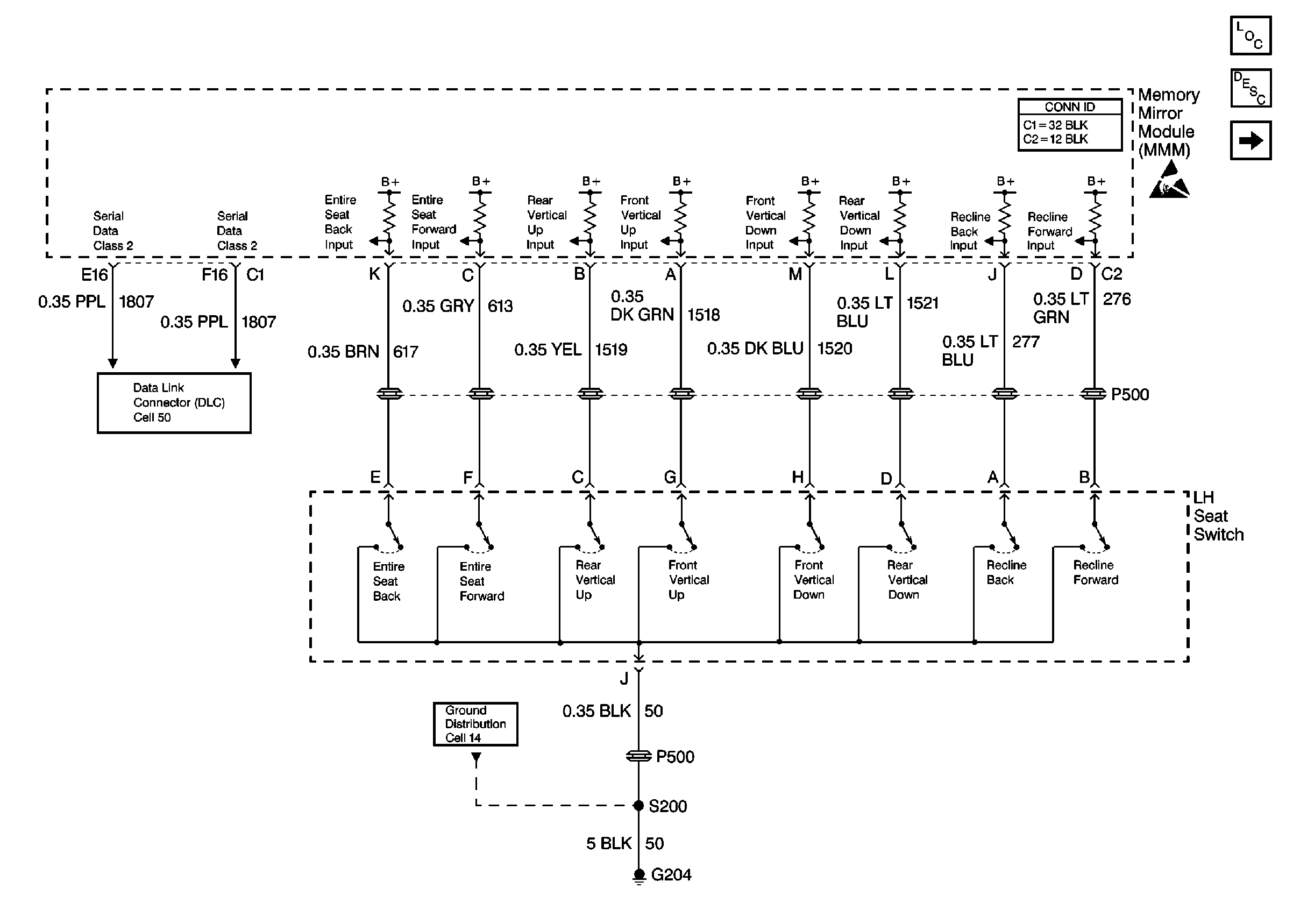
Cell 141: LH Seat Switch (Deville)


Object Number: 318353  Size: FS
Power Seat Systems Components
Memory Seat Circuit Description
Cell 141: LH Seat Switch (Eldorado)
Power Door Systems Connector End Views
Handling ESD Sensitive Parts Notice
Data Link Connector Schematics
Ground Distribution Schematics

Cell 141: LH Seat Switch (Eldorado)


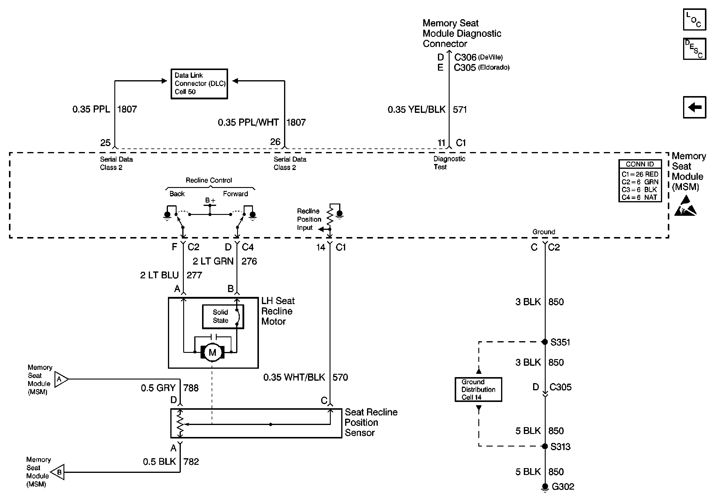
Object Number: 318355  Size: FS
Power Seat Systems Components
Memory Seat Circuit Description
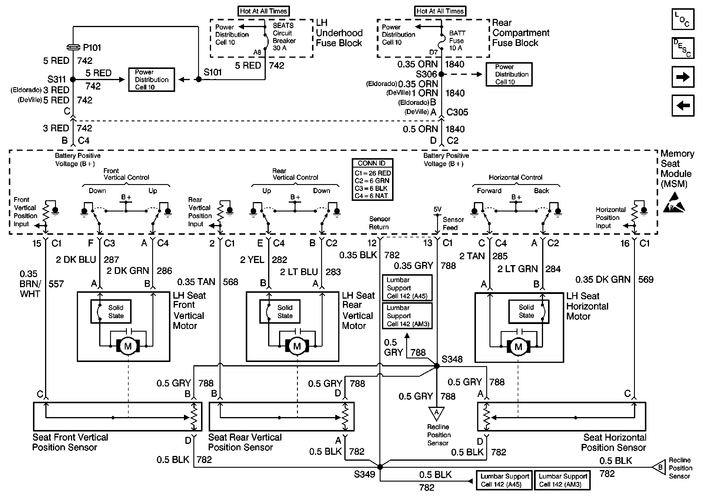
Cell 141: Seat Front Vertical, Seat Rear Vertical, and Seat Horizontal Position Sensors and Motors
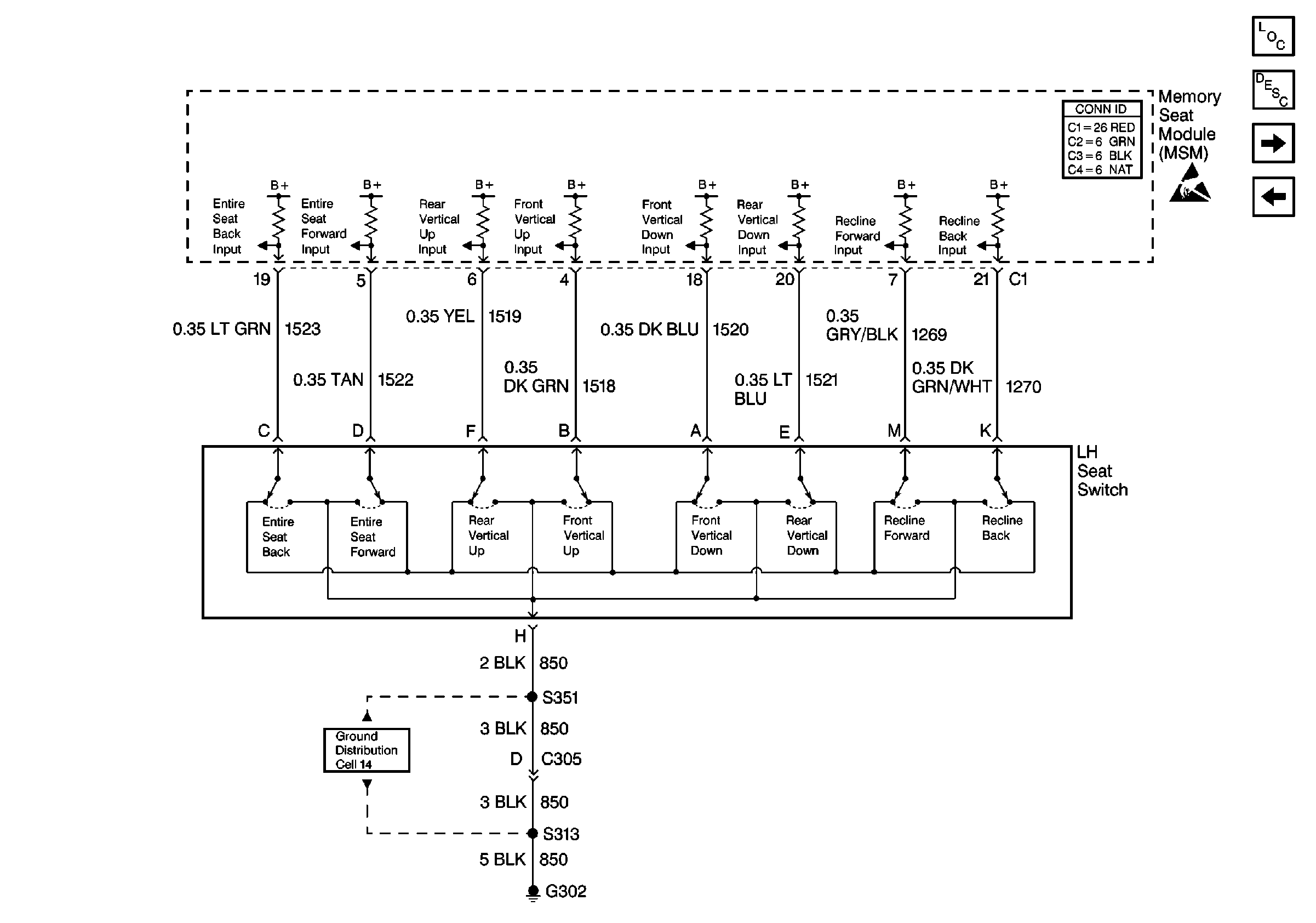
Cell 141: LH Seat Switch (Deville)
Power Seat Connector End Views
Handling ESD Sensitive Parts Notice
Ground Distribution Schematics

Cell 141: Seat Front Vertical, Seat Rear Vertical, and Seat Horizontal Position Sensors and Motors


Object Number: 318357  Size: FS
Power Seat Systems Components
Memory Seat Circuit Description
Cell 141: Memory Seat Module, Seat Recline Position Sensor and Motor
Cell 141: LH Seat Switch (Eldorado)
Power Distribution Schematics
Power Distribution Schematics
Lumbar Support Schematics A45
Cell 141: Memory Seat Module, Seat Recline Position Sensor and Motor
Lumbar Support Schematics AM3
Cell 141: Memory Seat Module, Seat Recline Position Sensor and Motor
Handling ESD Sensitive Parts Notice
Power Distribution Schematics
Power Distribution Schematics
Power Seat Connector End Views
Lumbar Support Schematics A45
Lumbar Support Schematics AM3

Cell 141: Memory Seat Module, Seat Recline Position Sensor and Motor


Object Number: 318358  Size: FS
Power Seat Systems Components
Memory Seat Circuit Description
Cell 141: Seat Front Vertical, Seat Rear Vertical, and Seat Horizontal Position Sensors and Motors
Data Link Connector Schematics
Power Seat Connector End Views
Handling ESD Sensitive Parts Notice
Ground Distribution Schematics
Cell 141: Seat Front Vertical, Seat Rear Vertical, and Seat Horizontal Position Sensors and Motors
Cell 141: Seat Front Vertical, Seat Rear Vertical, and Seat Horizontal Position Sensors and Motors