GM Service Manual Online
For 1990-2009 cars only
Makes
🢒
Cadillac
🢒
1999
🢒
DeVille
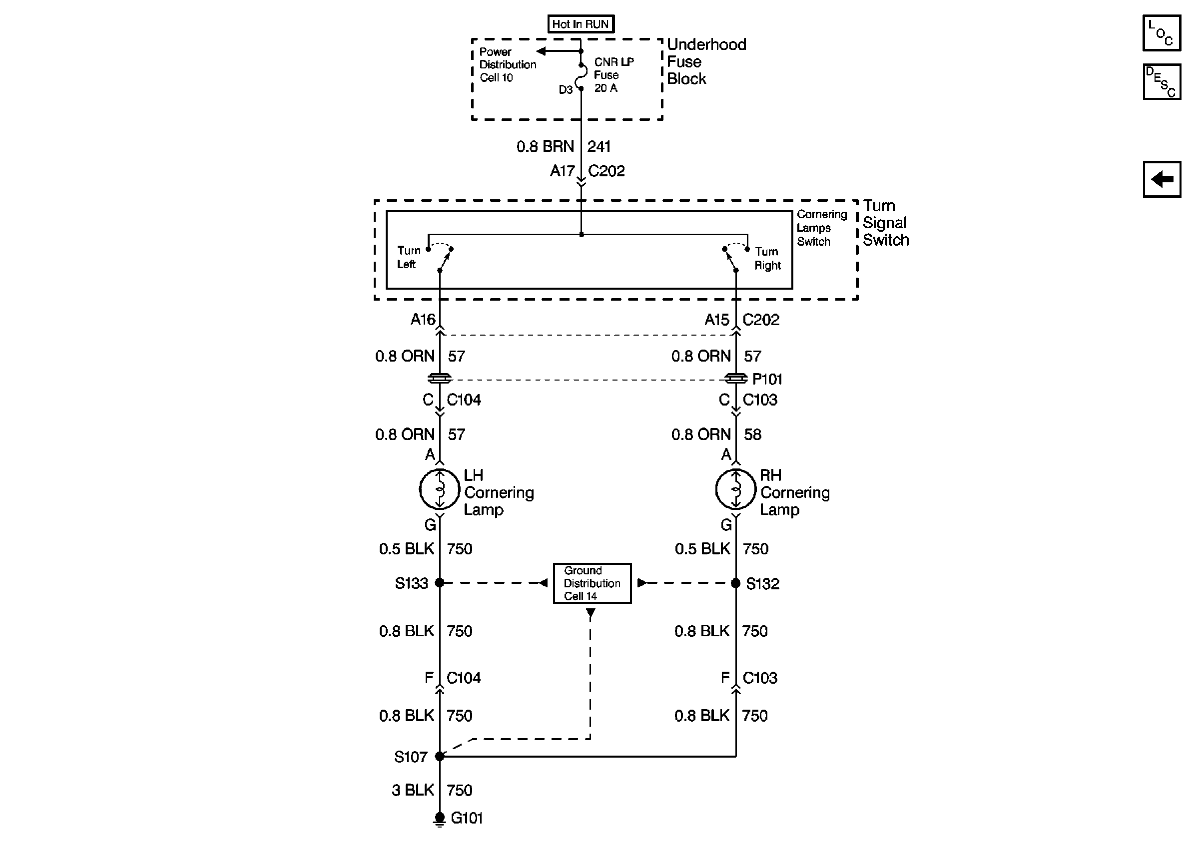
🢒 Cell 110: Cornering Lamps
Cell 110: Cornering Lamps
Cell 110: Cornering Lamps
Lighting Systems Components
Exterior Lights Circuit Description
Cell 110: Rear Turn Lamps
Ground Distribution Schematics
Power Distribution Schematics