GM Service Manual Online
For 1990-2009 cars only
Makes
🢒
Cadillac
🢒
1999
🢒
DeVille
🢒 Cell 136
Cell 136
Cell 136
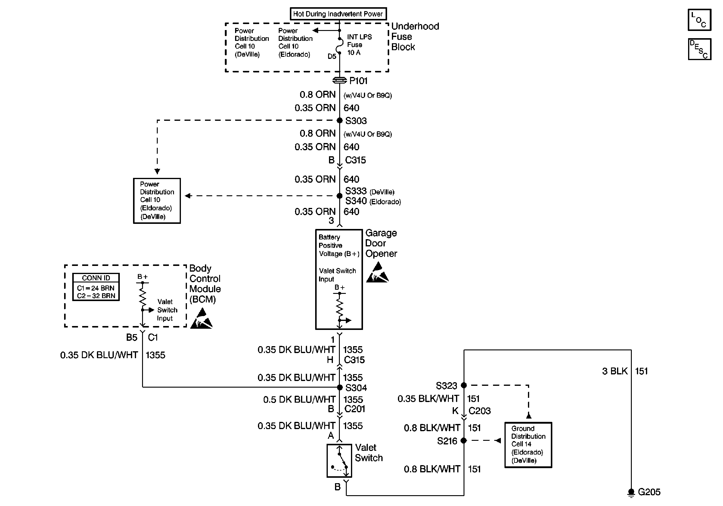
Garage Door Opener Component Views
Garage Door Opener Description
Power Distribution Schematics
Power Distribution Schematics
Ground Distribution Schematics
Body Control System Connector End Views