GM Service Manual Online
For 1990-2009 cars only

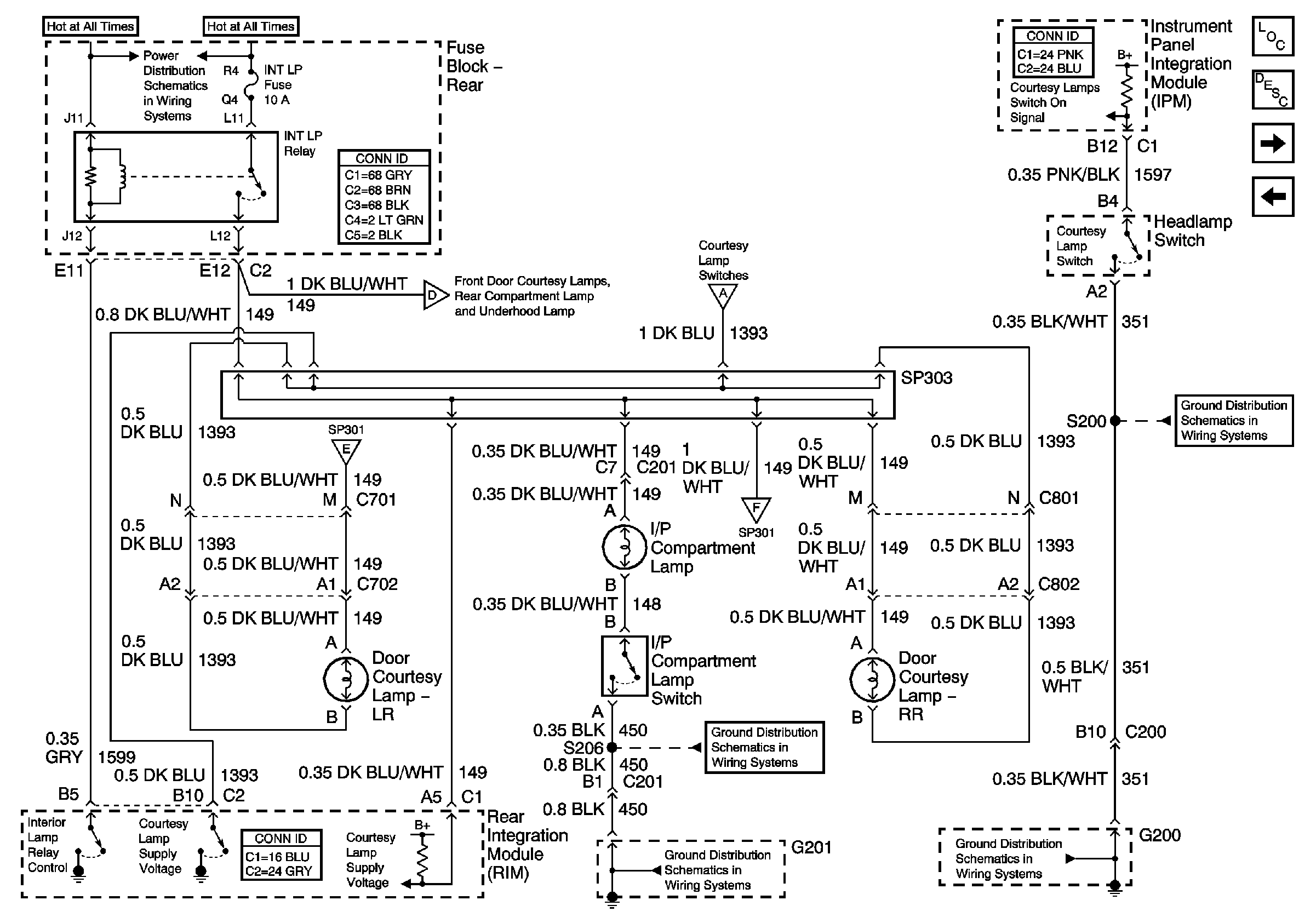
Interior Lights Schematics w/o V4U/B9Q

Figure 1:

Door Open Inputs


Object Number: 500338  Size: FS
Lighting Systems Components
Interior Lights Circuit Description
Interior Lamp Relay, Headlamp Switch, and Rear Door Courtesy Lamps
Handling ESD Sensitive Parts Notice
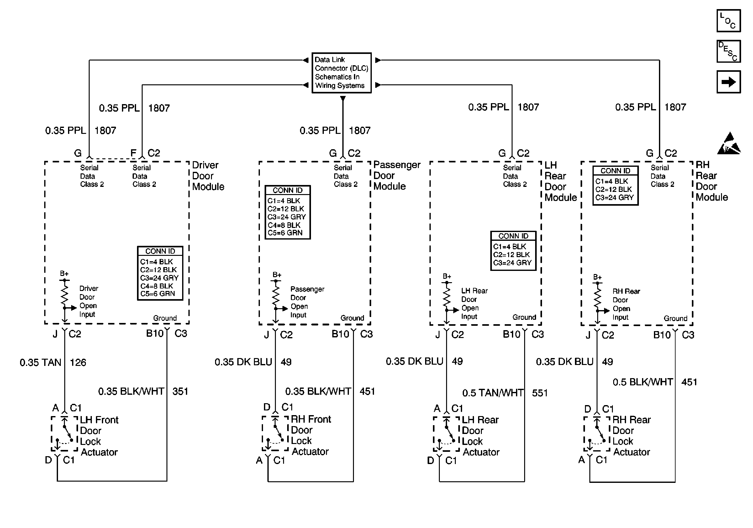
Data Link Connector Schematics
Figure 2:

Interior Lamp Relay, Headlamp Switch, and Rear Door Courtesy Lamps


Object Number: 499999  Size: FS
BODY, CVRTD, CIGAR, RAP, INT LP, and SUNSHD Fuses
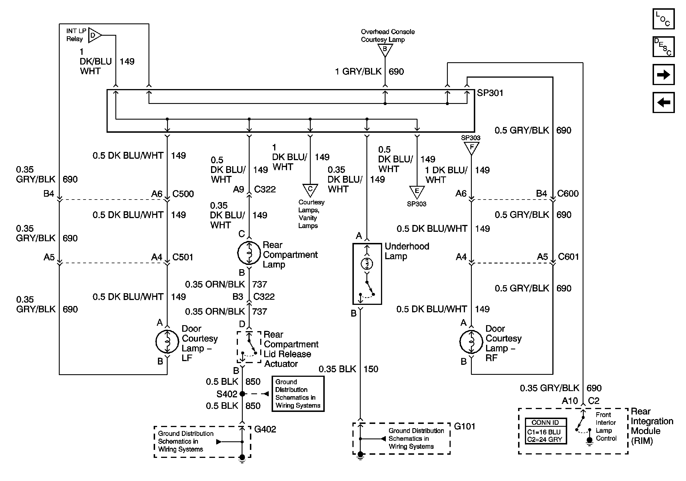
Front Door Courtesy Lamps, Rear Compartment, and Underhood Lamps
Overhead Console, Vanity, and Courtesy Lamps
Lighting Systems Components
Interior Lights Circuit Description
Front Door Courtesy Lamps, Rear Compartment, and Underhood Lamps
Door Open Inputs
Handling ESD Sensitive Parts Notice
G201 - Steering Column CKT 451
G201 - Steering Column CKT 451
G201 - IP Harness
G201 - IP Harness
Figure 3:

Front Door Courtesy Lamps, Rear Compartment, and Underhood Lamps


Object Number: 499990  Size: FS
Lighting Systems Components
Interior Lights Circuit Description
Overhead Console, Vanity, and Courtesy Lamps
Interior Lamp Relay, Headlamp Switch, and Rear Door Courtesy Lamps
Overhead Console, Vanity, and Courtesy Lamps
Interior Lamp Relay, Headlamp Switch, and Rear Door Courtesy Lamps
Overhead Console, Vanity, and Courtesy Lamps
G101
Handling ESD Sensitive Parts Notice
Figure 4:

Overhead Console, Vanity, and Courtesy Lamps


Object Number: 500340  Size: FS
Front Door Courtesy Lamps, Rear Compartment, and Underhood Lamps
Front Door Courtesy Lamps, Rear Compartment, and Underhood Lamps
G402 - Headliner
Interior Lamp Relay, Headlamp Switch, and Rear Door Courtesy Lamps
Lighting Systems Components
Interior Lights Circuit Description
Front Door Courtesy Lamps, Rear Compartment, and Underhood Lamps

Interior Lights Schematics w/V4U/B9Q

Figure 1:

Door Open Inputs w/V4U


Object Number: 514240  Size: FS
Data Link Connector Schematics
Lighting Systems Components
Interior Lights Circuit Description
Door Open Inputs w/B9Q
Handling ESD Sensitive Parts Notice
Figure 2:

Door Open Inputs w/B9Q


Object Number: 604677  Size: FS
Data Link Connector Schematics
Lighting Systems Components
Interior Lights Circuit Description
Interior Lamp Relay and Rear Door Courtesy Lamps
Door Open Inputs w/V4U
Handling ESD Sensitive Parts Notice
G402-V4U/B9Q
G302-V4U/B9Q CKT 551
G201-V4U/BQ9
Figure 3:

Interior Lamp Relay and Rear Door Courtesy Lamps


Object Number: 514244  Size: FS
Lighting Systems Components
Interior Lights Circuit Description
Front Door Courtesy Lamps, Rear Compartment, and Underhood Lamps
Door Open Inputs w/B9Q
Handling ESD Sensitive Parts Notice
BODY, CVRTD, CIGAR, RAP, INT LP, and SUNSHD Fuses
Front Door Courtesy Lamps, Rear Compartment, and Underhood Lamps
Overhead Console, Vanity, and Courtesy Lamps
G201 - IP Harness
G201 - IP Harness
Figure 4:

Front Door Courtesy Lamps, Rear Compartment, and Underhood Lamps


Object Number: 514251  Size: FS
Lighting Systems Components
Interior Lights Circuit Description
Overhead Console, Vanity, and Courtesy Lamps
Interior Lamp Relay and Rear Door Courtesy Lamps
G201 - Steering Column CKT 451
G101
Overhead Console, Vanity, and Courtesy Lamps
Overhead Console, Vanity, and Courtesy Lamps
Interior Lamp Relay and Rear Door Courtesy Lamps
Handling ESD Sensitive Parts Notice
Figure 5:

Overhead Console, Vanity, and Courtesy Lamps


Object Number: 514259  Size: FS
Lighting Systems Components
Interior Lights Circuit Description
Front Door Courtesy Lamps, Rear Compartment, and Underhood Lamps
Interior Lamp Relay and Rear Door Courtesy Lamps
Interior Lamp Relay and Rear Door Courtesy Lamps
Front Door Courtesy Lamps, Rear Compartment, and Underhood Lamps
G402 - Headliner