GM Service Manual Online
For 1990-2009 cars only
Figure 1:

Power, Ground, Class 2, and 54V VF Display Supply


Object Number: 499939  Size: FS
Instrument Cluster Components
Instrument Cluster Operation
Gauges
Handling ESD Sensitive Parts Notice
SIR, VENT SOL, and IGN 1 Fuses
SIR, VENT SOL, and IGN 1 Fuses
Serial Data Class 2 (1 of 3)
Class 2 Dimming Communication
G200
G200
Figure 2:

Gauges


Object Number: 499956  Size: FS
Instrument Cluster Components
Instrument Cluster Gauge Operation
Brakes and Engine Indicators
Power, Ground, Class 2, and 54V VF Display Supply
Handling ESD Sensitive Parts Notice
Cruise Control and Vehicle Speed Signal
Sensors
Serial Data Class 2 (1 of 3)
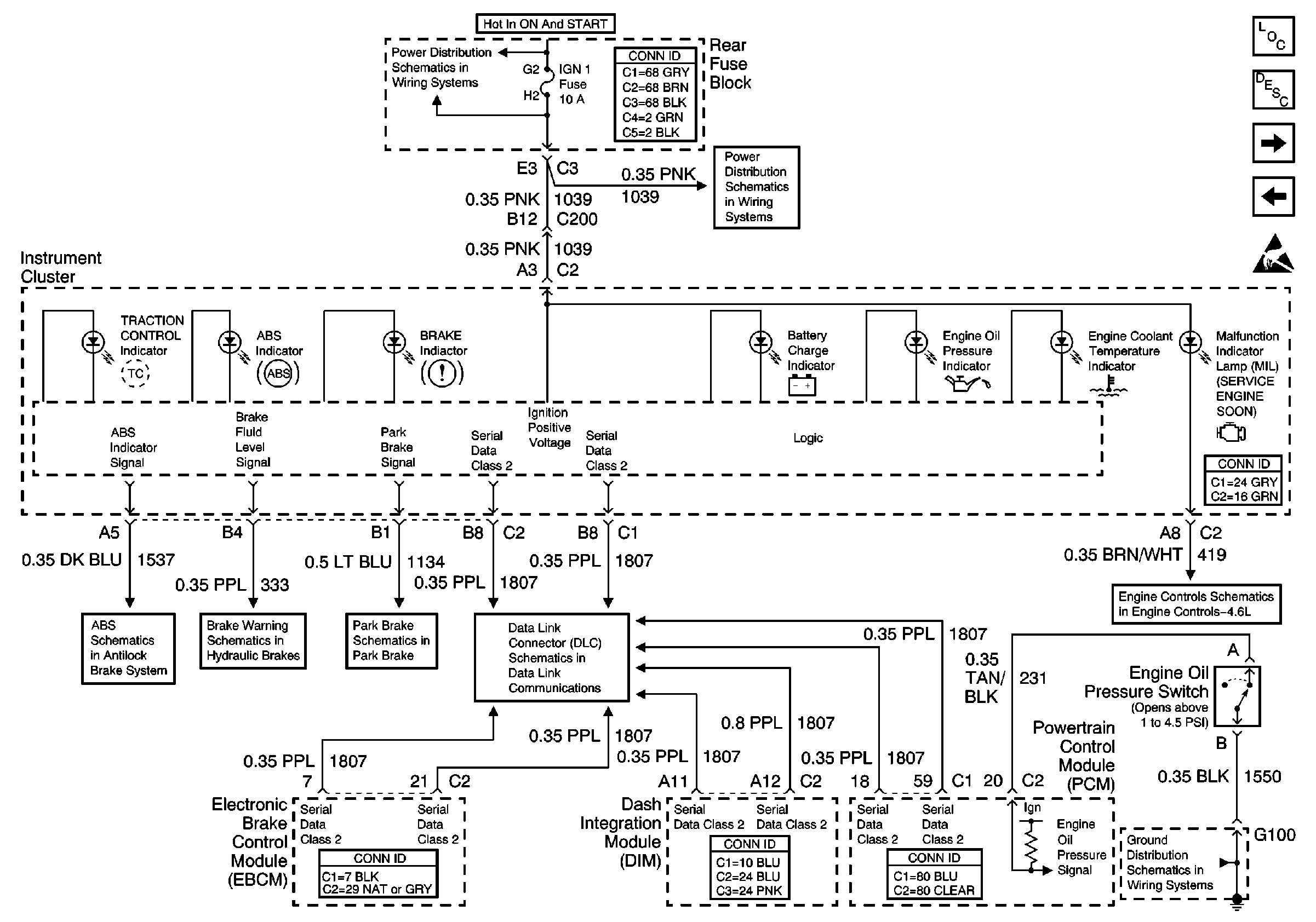
Figure 3:

Brakes and Engine Indicators


Object Number: 499966  Size: FS
Instrument Cluster Components
Instrument Cluster Indicator Operation
Lighting, Restraints, SECURITY, and CRUISE Indicators
Gauges
Handling ESD Sensitive Parts Notice
SIR, VENT SOL, and IGN 1 Fuses
SIR, VENT SOL, and IGN 1 Fuses
Indicators and Traction Control Switch
Brake Warning 00Ksp
Park Brake Schematic 00Ksp
Serial Data Class 2 (1 of 3)
DLC and MIL
G100
Figure 4:

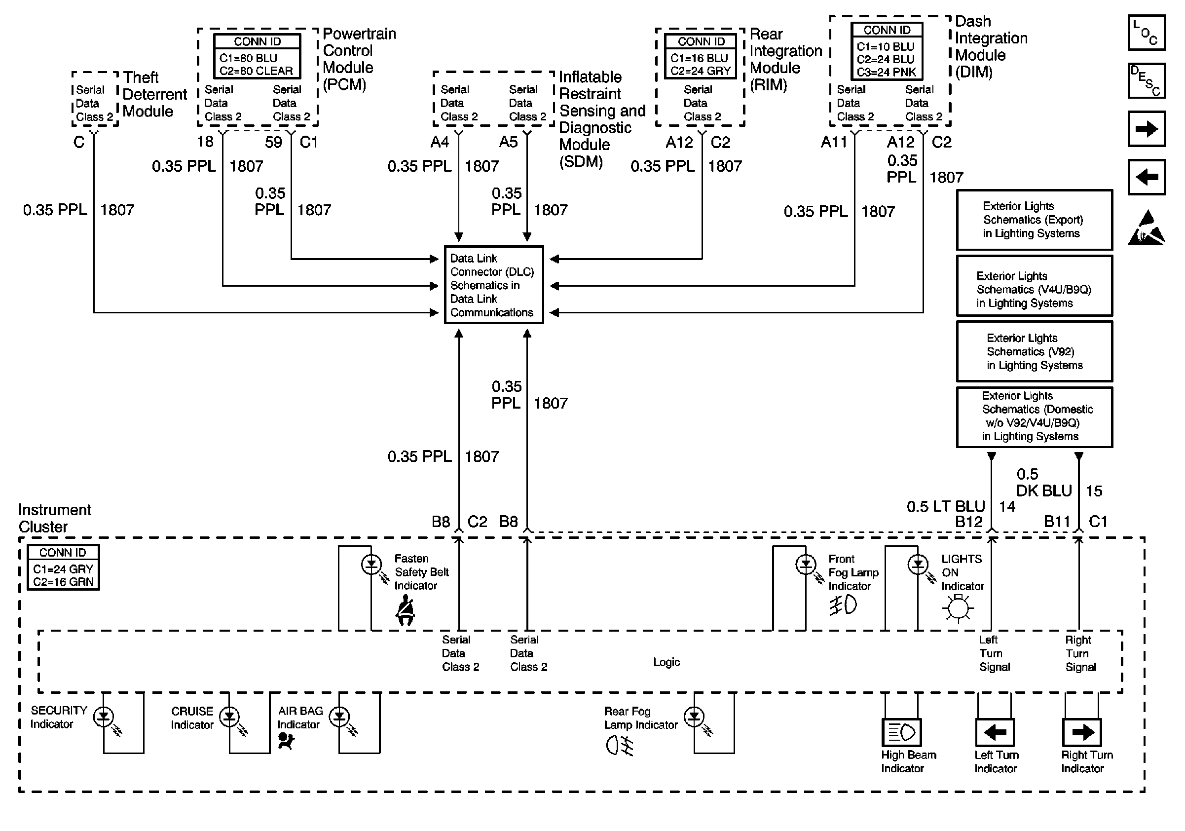
Lighting, Restraints, SECURITY, and CRUISE Indicators


Object Number: 499974  Size: FS
Instrument Cluster Components
Instrument Cluster Indicator Operation
Driver Information Center
Brakes and Engine Indicators
Handling ESD Sensitive Parts Notice
Serial Data Class 2 (1 of 3)
Front Park/Turn and Repeater Lamps
Front Park/Turn and Side Marker Lamps
Front Park/Turn and Side Marker Lamps
Front Park/Turn and Side Marker Lamps
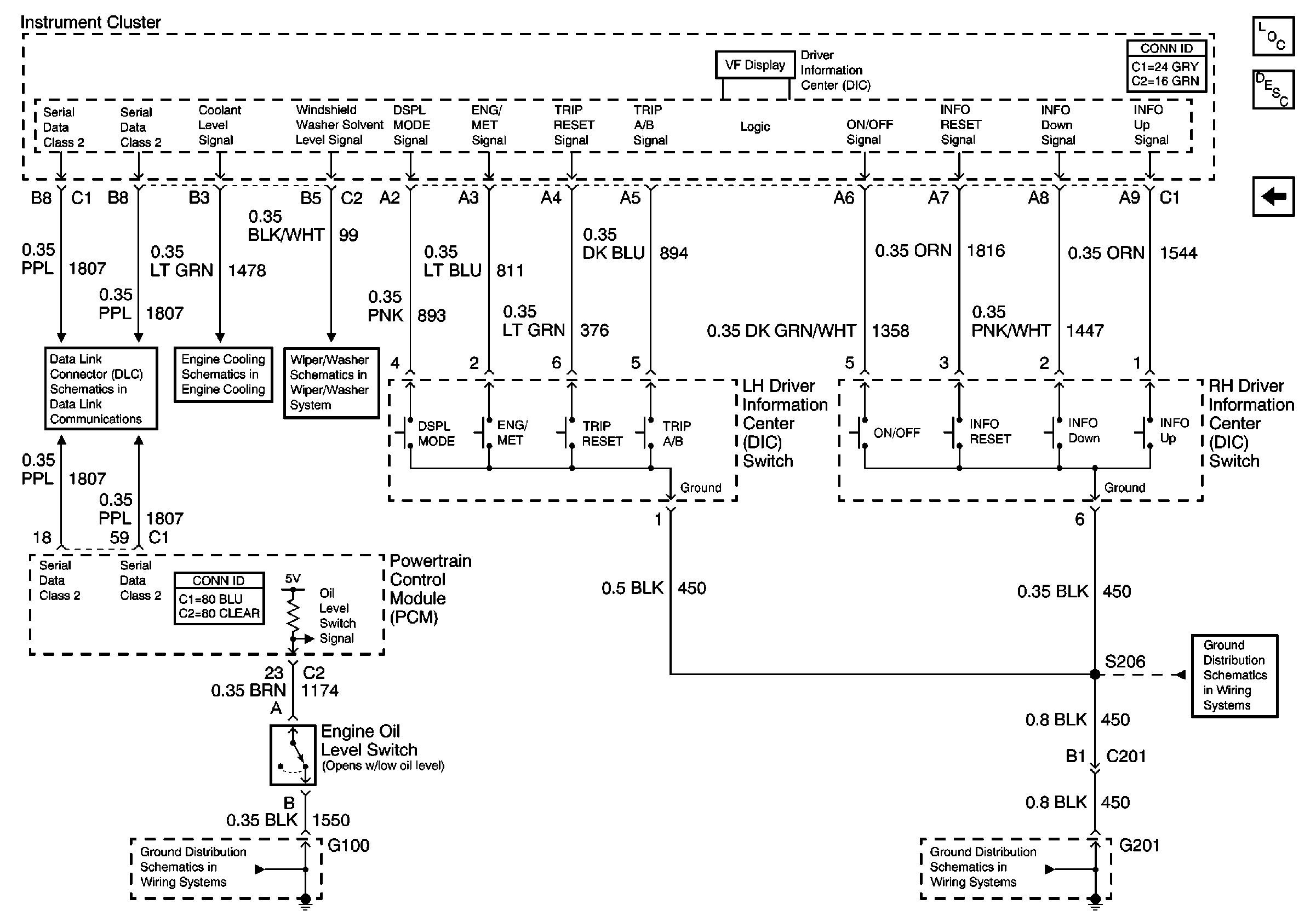
Figure 5:

Driver Information Center


Object Number: 499949  Size: FS
Instrument Cluster Components
Driver Information Center (DIC) or Message Center Description
Lighting, Restraints, SECURITY, and CRUISE Indicators
Serial Data Class 2 (1 of 3)
Engine Coolant Level Switch Signal
Washer Solvent Level Switch
G100
G201 - IP Harness