GM Service Manual Online
For 1990-2009 cars only

Object Number: 474573  Size: LF
Body Control Module Components
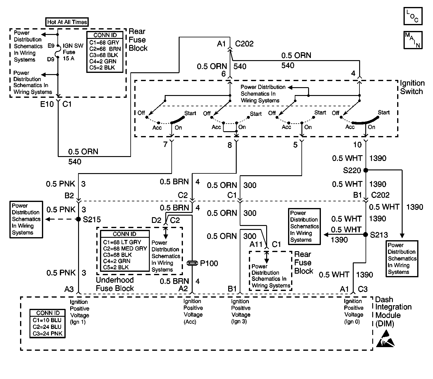
Dash Integration Module (DIM) - Ignition Switch Inputs
Handling ESD Sensitive Parts Notice
Rear Fuse Block Battery Voltage
RR BLO, RRDR MDL, HVAC BLO, STOP LP, IGN SW, and TSIG/HAZ Fuses
Power and Grounding Connector End Views Fuse Blocks and Ignition Switch
Rear Fuse Block Battery Voltage
Ignition Switch
Power and Grounding Connector End Views Fuse Blocks and Ignition Switch
Rear Fuse Block Battery Voltage
Rear Fuse Block Battery Voltage
Ignition Switch
Ignition Switch

Circuit Description

Normal vehicle Class 2 communication does not begin until the system power mode has been identified. The dash integration module (DIM) monitors four discrete wires from the ignition switch contacts in order to determine the present power mode (ignition switch position). The DIM communicates the system power mode to all Class 2 modules on the Class 2 serial data line.

Conditions for Running the DTC

The DIM must be powered.

Conditions for Setting the DTC

One of the four monitored ignition switch circuits has malfunctioned.

Action Taken When the DTC Sets

The DIM implements default actions for each ignition switch position when faults are detected.

Conditions for Clearing the MIL/DTC

The power moding malfunction must be corrected.

Diagnostic Aids

To diagnose for an intermittent short or an open, refer to Testing for Intermittent Conditions and Poor Connections in Wiring Systems.

Test Description

The numbers below refer to the step numbers on the diagnostic table.

  1. This step determines if the ignition switch is the source of the short to voltage.

Step

Action

Value(s)

Yes

No

1

Did you perform Diagnostic System Check - Body Control System ?

--

Go to Step 2

Go to Diagnostic System Check - Body Control System

2

  1. Install a scan tool.
  2. Turn OFF the ignition.
  3. With the scan tool observe the ignition switch parameters in the Dash Integration Module data list.

Do all of the ignition switch parameters display Inactive?

--

Go to Step 3

Go to Step 7

3

  1. Turn ON the ignition, with the engine OFF.
  2. With the scan tool observe the ignition switch parameters.

Do all of the ignition switch parameters display Active?

--

Go to Step 4

Go to Step 9

4

  1. Turn the ignition switch to the CRANK position.
  2. With the scan tool observe the ignition switch parameters.

Do only the Run/Crank and Ign. Unlock parameters display Active?

--

Go to Step 5

Go to Step 7

5

  1. Turn the ignition switch to the UNLOCK position.
  2. With the scan tool observe the ignition switch parameters.

Does only the Ign. Unlock parameter display Active?

--

Go to Step 6

Go to Step 7

6

  1. Turn the ignition switch to the ACCY. position.
  2. With the scan tool observe the ignition switch parameters.

Do only the Ign. Accessory and Ign. Unlock parameters display Active?

--

Go to Step 11

Go to Step 7

7

  1. Turn OFF the ignition.
  2. Disconnect the ignition switch.
  3. With the scan tool observe the ignition switch parameters.

Does the previously Active state change to Inactive?

--

Go to Step 10

Go to Step 8

8

Test the active power moding signal circuit for a short to voltage. Refer to Circuit Testing and Wiring Repairs in Wiring Systems.

Did you find and correct the condition?

--

Go to Step 14

Go to Step 11

9

Test the inactive power moding signal circuit for a high resistance or an open. Refer to Circuit Testing and Wiring Repairs in Wiring Systems.

Did you find and correct the condition?

--

Go to Step 14

Go to Step 11

10

Inspect for poor connections at the harness connector of the ignition switch. Refer to Testing for Intermittent Conditions and Poor Connections and Connector Repairs in Wiring Systems.

Did you find and correct the condition?

--

Go to Step 14

Go to Step 12

11

Inspect for poor connections at the harness connector of the dash integration module (DIM). Refer to Testing for Intermittent Conditions and Poor Connections and Connector Repairs in Wiring Systems.

Did you find and correct the condition?

--

Go to Step 14

Go to Step 13

12

Replace the ignition switch. Refer to Ignition and Key Alarm Switch Assembly - Disassemble - Off Vehicle in Steering Wheel and Column - Tilt.

Did you complete the replacement?

--

Go to Step 14

--

13

Important:: Complete the set up procedures for the DIM.

Replace the dash integration module (DIM).

Refer to Dash Integration Module Replacement .

Did you complete the replacement?

--

Go to Step 14

--

14

  1. Use a scan tool in order to clear the DTCs.
  2. Operate the vehicle within the Conditions for Running the DTC as specified in the supporting text.

Does the DTC reset?

--

Go to Step 2

System OK