GM Service Manual Online
For 1990-2009 cars only

Radio/Audio System Schematics w/UX8

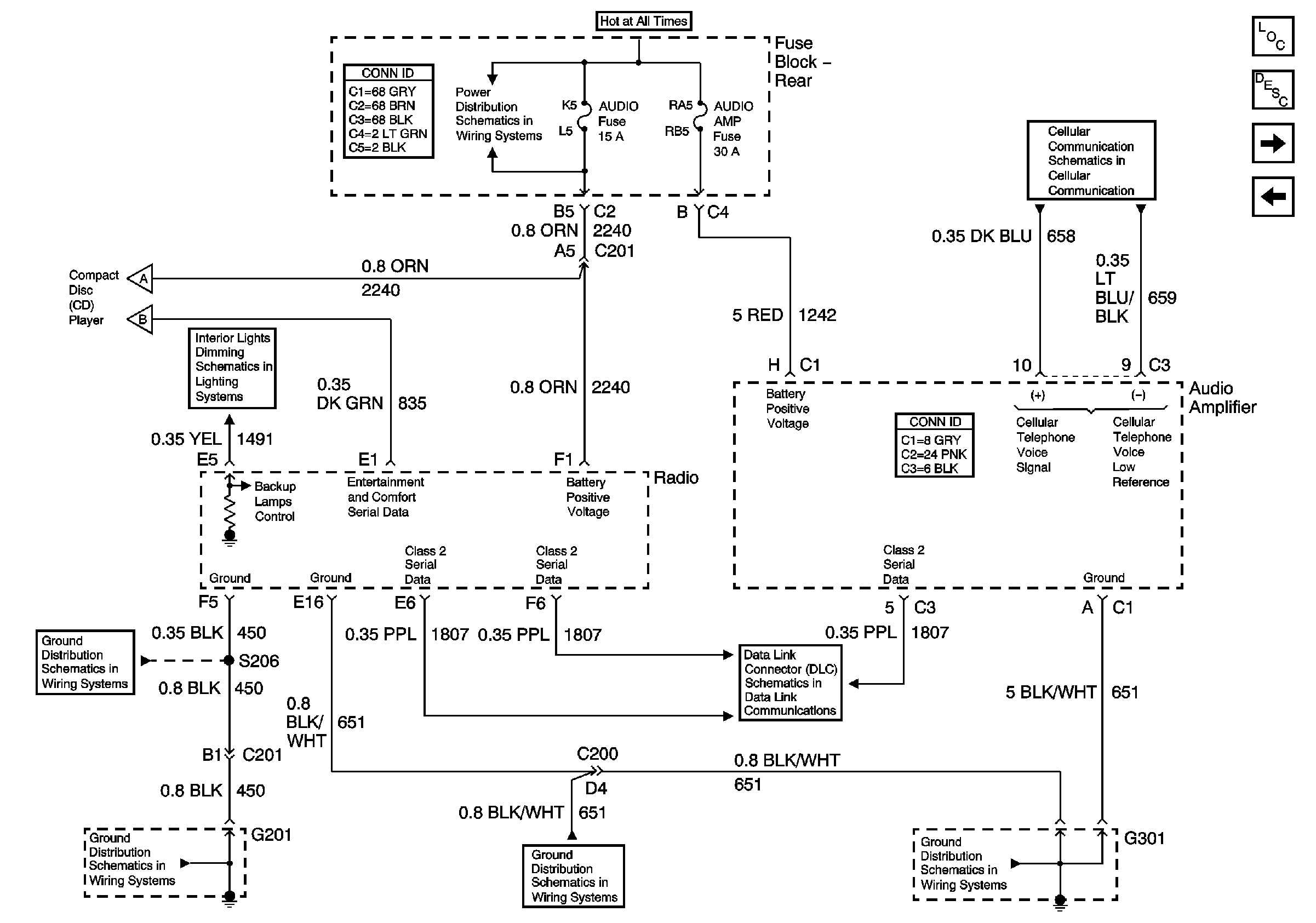
Figure 1:

Radio/Audio Power and Ground


Object Number: 662419  Size: FS
Master Electrical Component List
Radio/Audio System Description and Operation w/o Navigation
Compact Disc (CD) Player
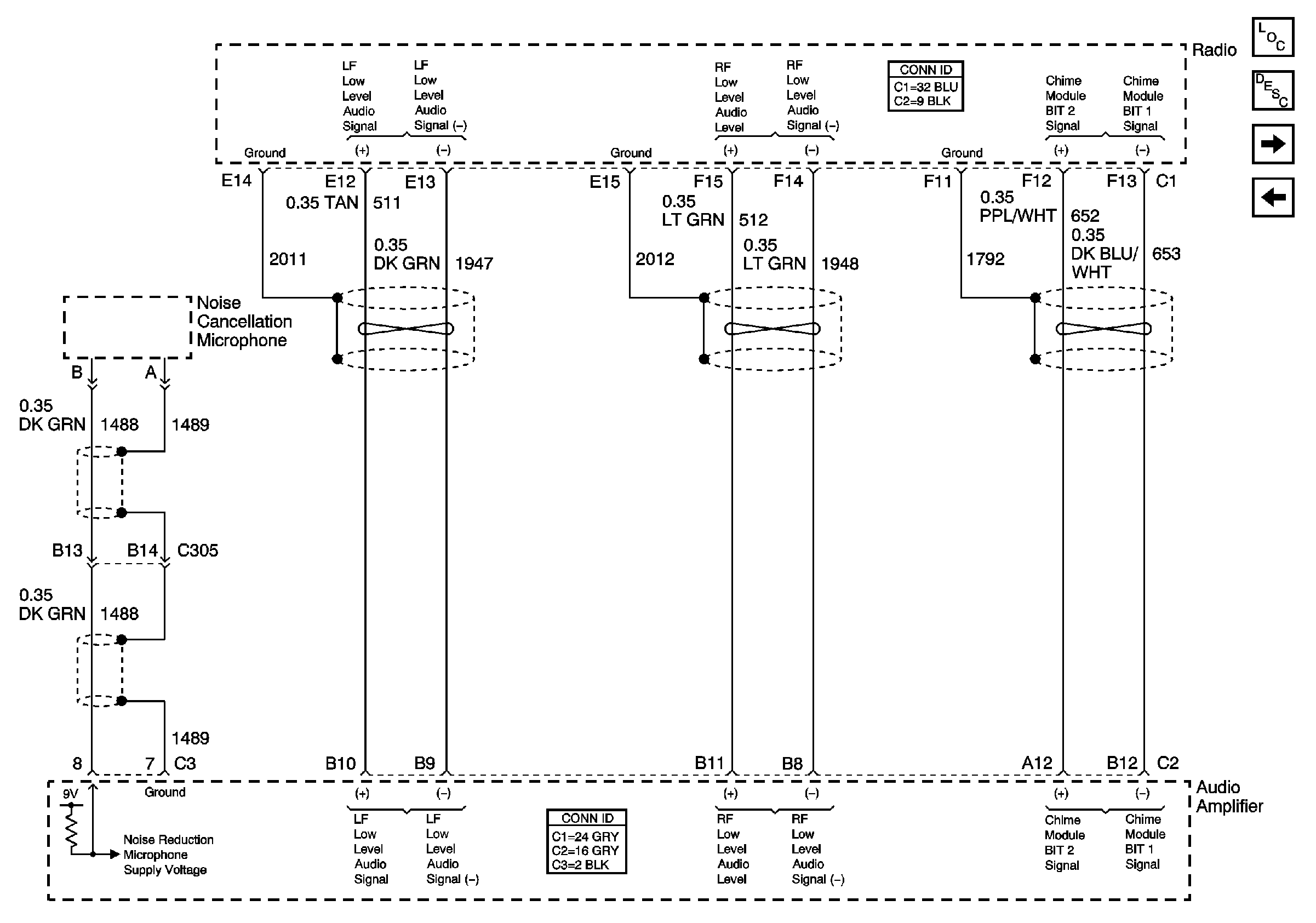
Voice Audio and Mic (w/UE1)
DIMR and Audio Fuses
Instrument Panel Dimming
G201 IP Harness and Console Harness
G201 IP Harness and Console Harness
G301
Class 2 Serial Data (1 of 3)
Class 2 Serial Data (3 of 3)
G301
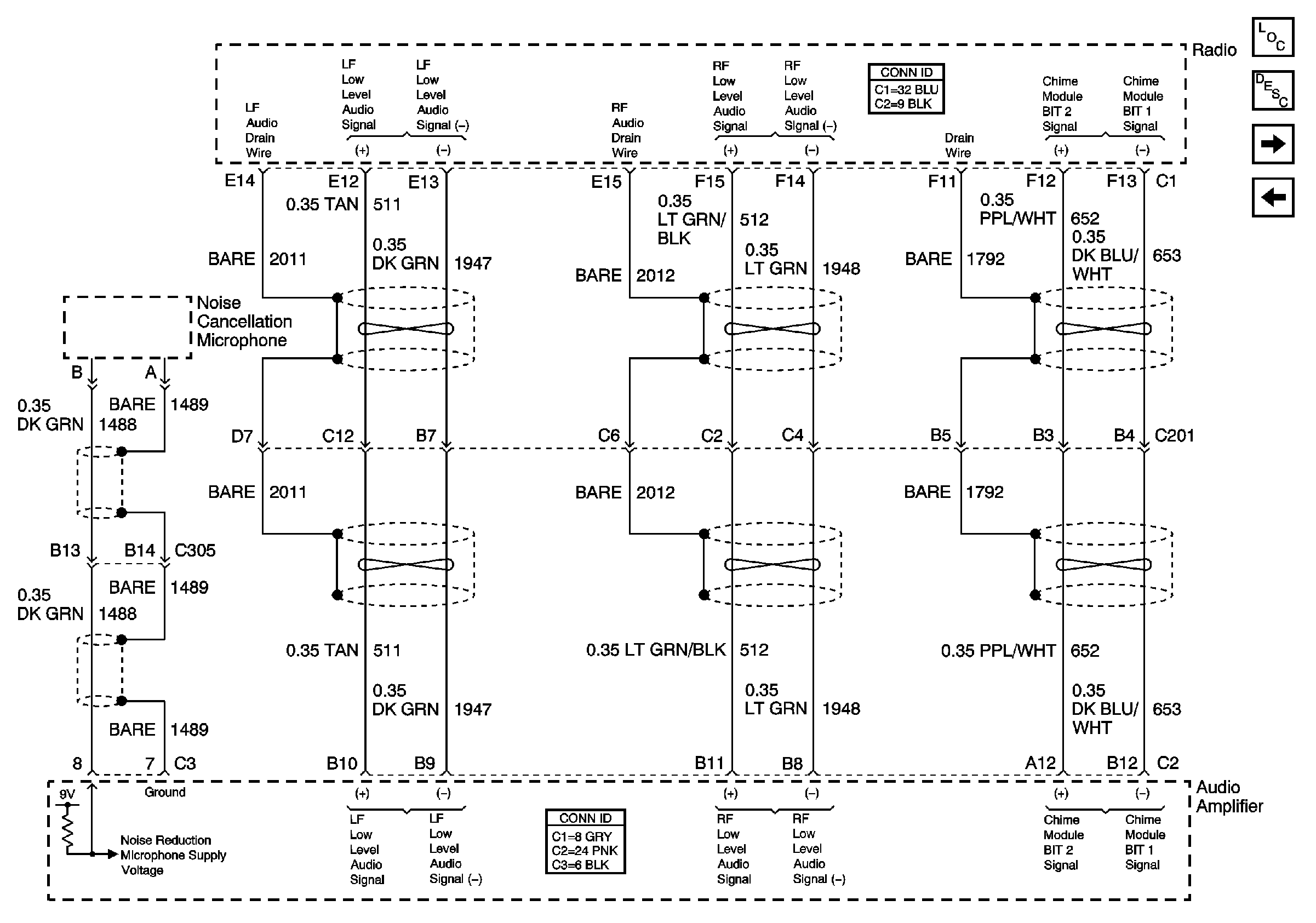
Figure 2:

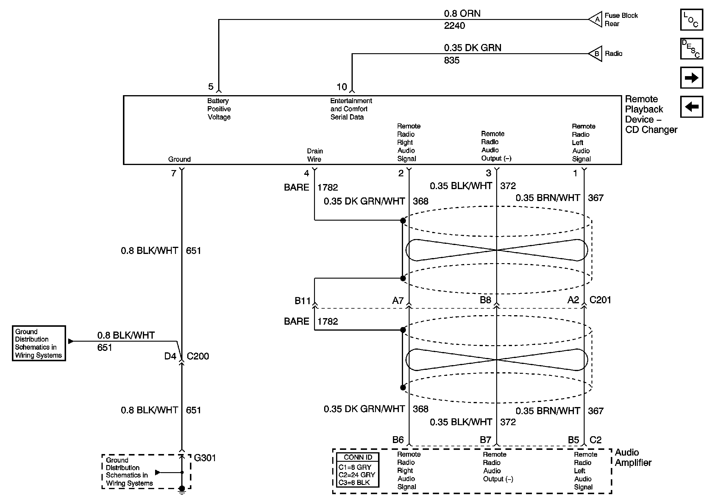
Compact Disc (CD) Player


Object Number: 662420  Size: FS
Master Electrical Component List
Radio/Audio System Description and Operation w/o Navigation
Radio Amplifier
Radio/Audio Power and Ground
G301
G301
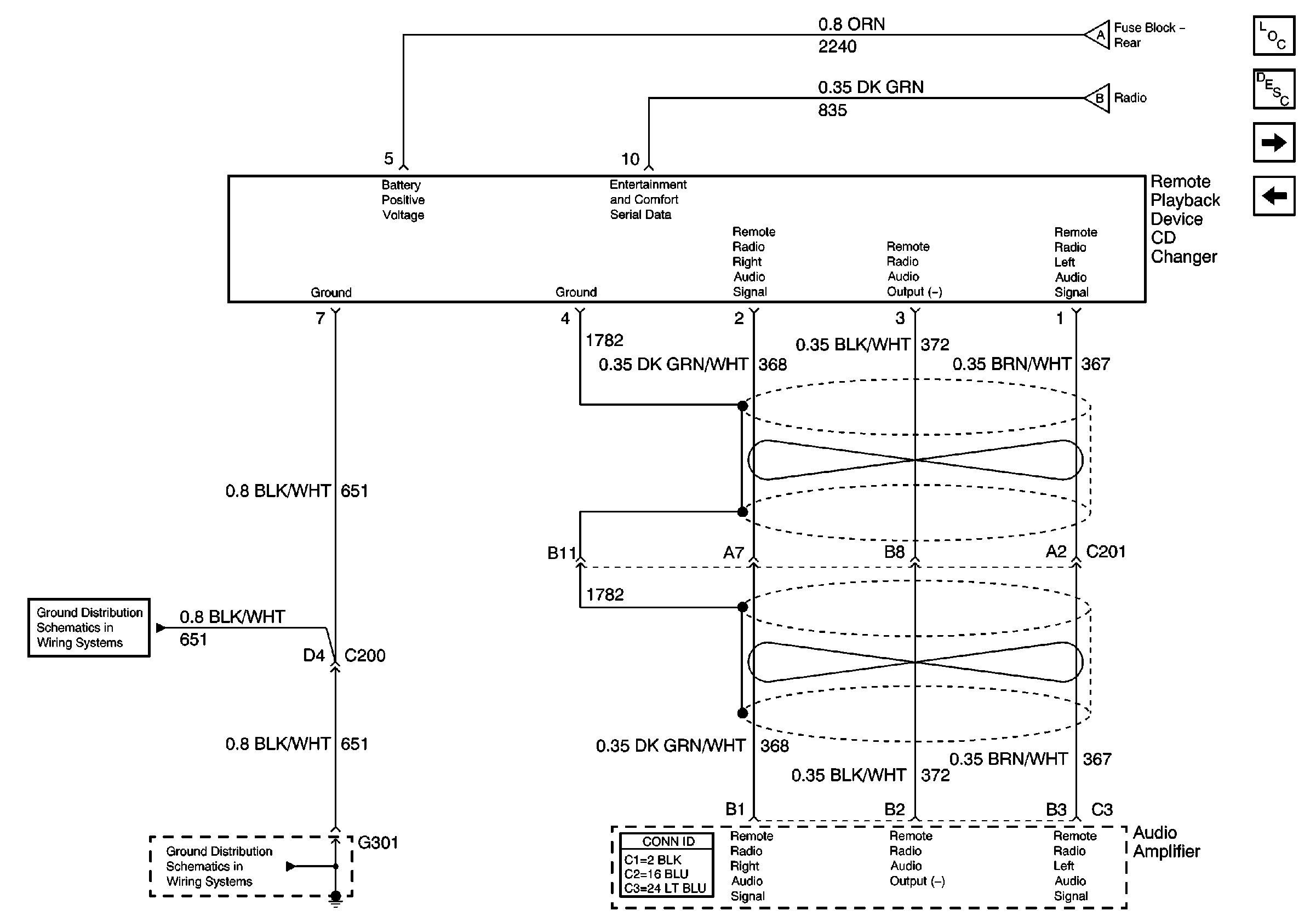
Figure 3:

Radio Amplifier


Object Number: 662421  Size: FS
Master Electrical Component List
Radio/Audio System Description and Operation w/o Navigation
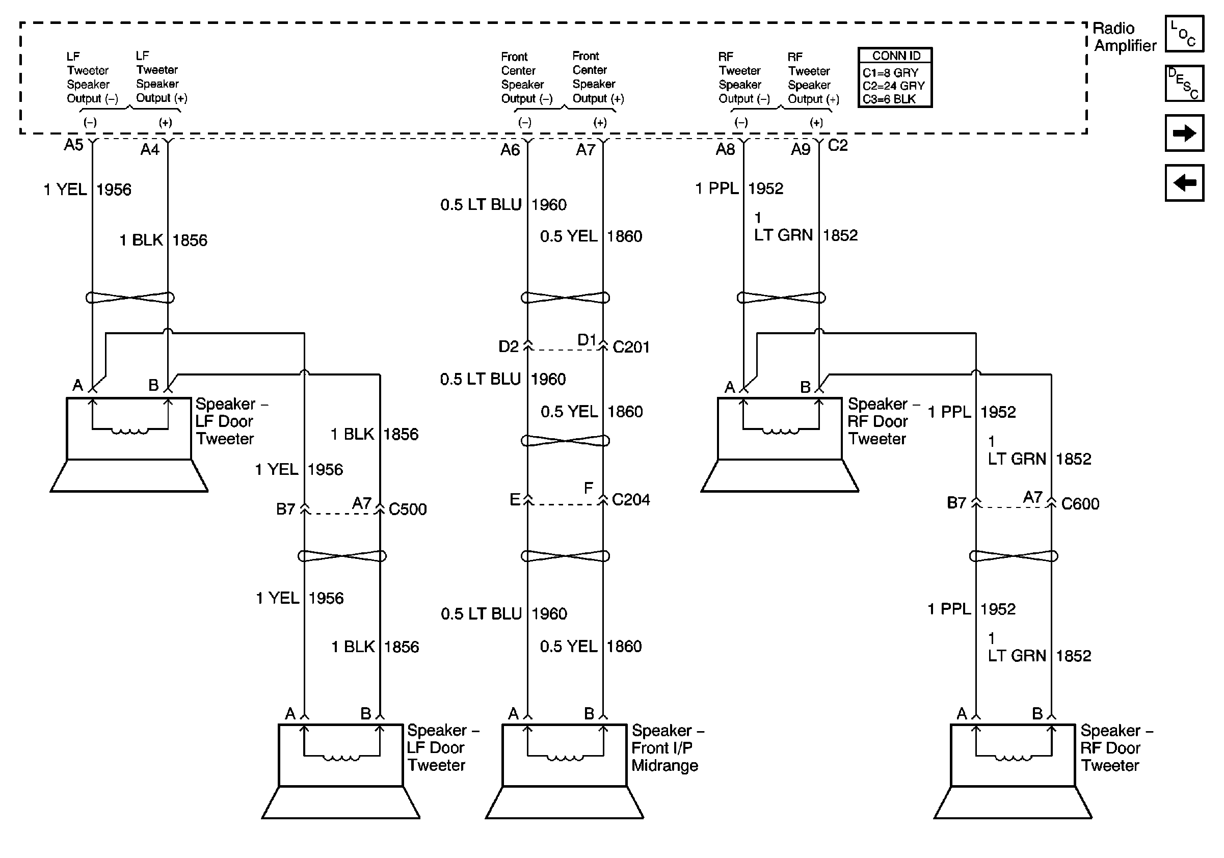
Front Speakers
Compact Disc (CD) Player
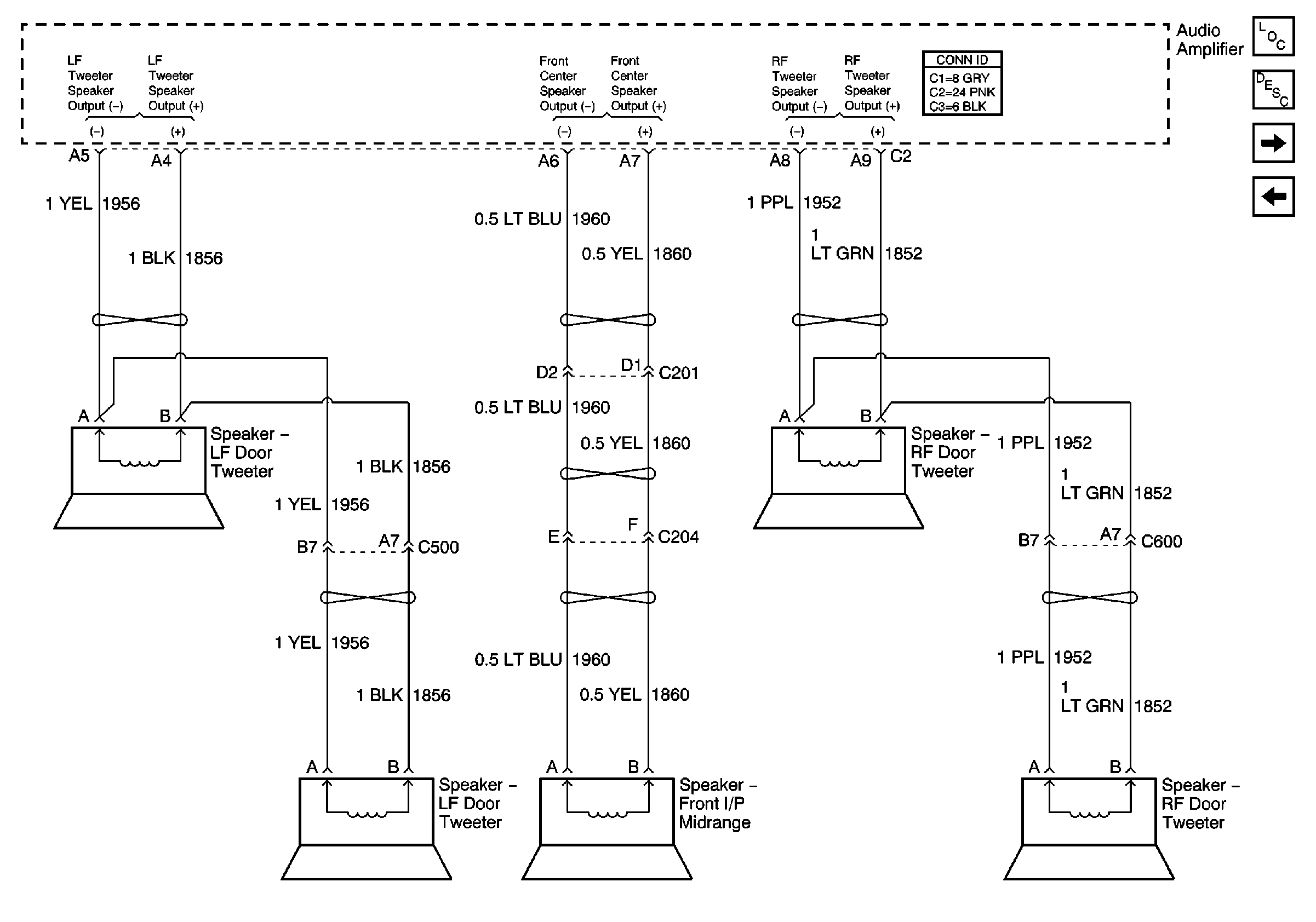
Figure 4:

Front Speakers


Object Number: 662422  Size: FS
Master Electrical Component List
Radio/Audio System Description and Operation w/o Navigation
Rear Speakers
Radio Amplifier
Figure 5:

Rear Speakers


Object Number: 662423  Size: FS
Master Electrical Component List
Radio/Audio System Description and Operation w/o Navigation
Front Speakers

Radio/Audio System Schematics w/U57

Figure 1:

Radio/Audio Power and Ground


Object Number: 662425  Size: FS
Master Electrical Component List
Radio/Audio System Description and Operation w/o Navigation
Compact Disc (CD) Player
Voice Audio and Mic (w/UE1)
DIMR and Audio Fuses
Instrument Panel Dimming
G201 IP Harness and Console Harness
G201 IP Harness and Console Harness
G301
Class 2 Serial Data (1 of 3)
G301
Figure 2:

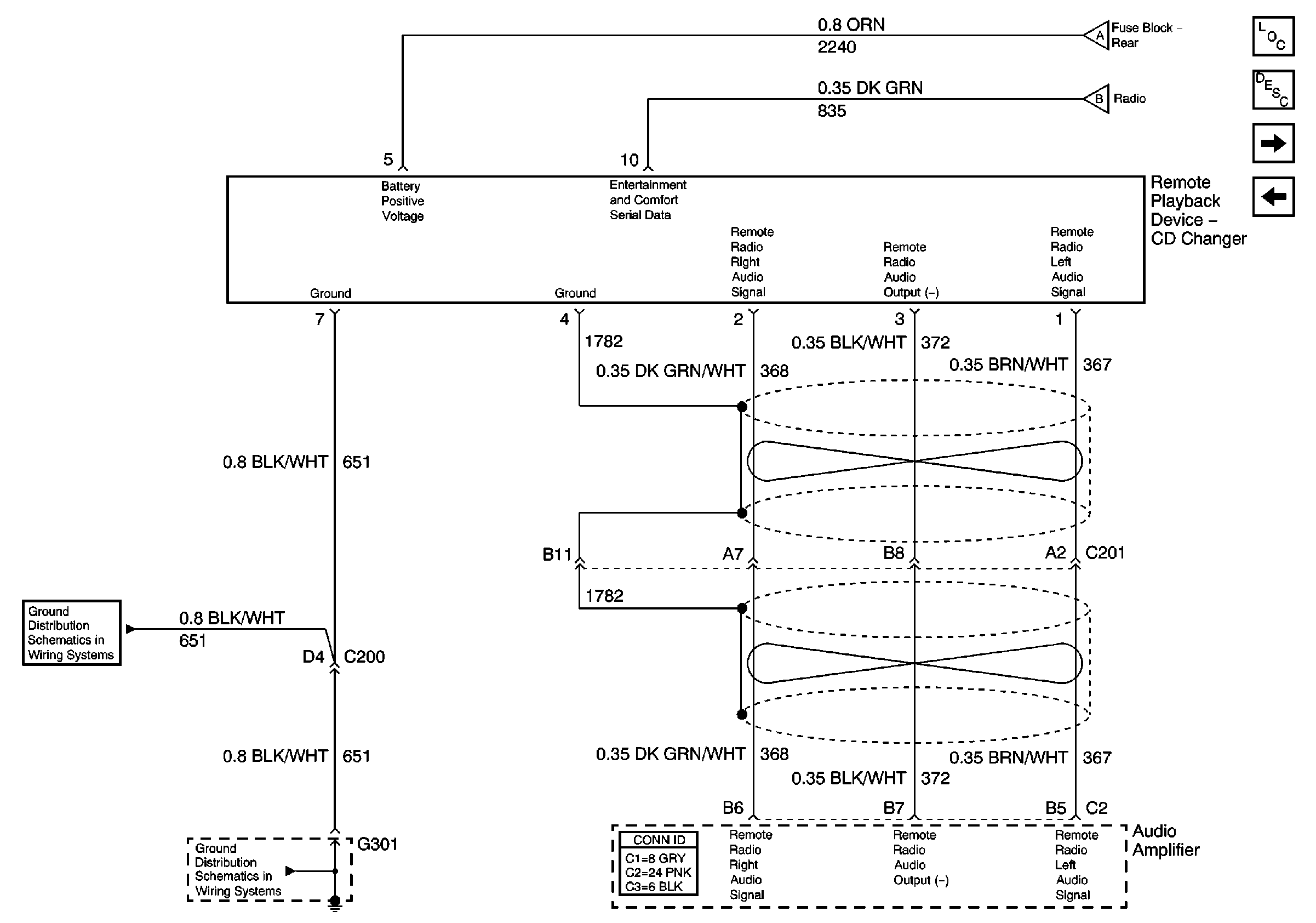
Compact Disc (CD) Player


Object Number: 662426  Size: FS
Master Electrical Component List
Radio/Audio System Description and Operation w/o Navigation
Radio Amplifier
Radio/Audio Power and Ground
G301
G301
Figure 3:

Radio Amplifier


Object Number: 662427  Size: FS
Master Electrical Component List
Radio/Audio System Description and Operation w/o Navigation
Front Speakers
Compact Disc (CD) Player
Figure 4:

Front Speakers


Object Number: 662428  Size: FS
Master Electrical Component List
Radio/Audio System Description and Operation w/o Navigation
Rear Speakers
Radio Amplifier
Figure 5:

Rear Speakers


Object Number: 662429  Size: FS
Master Electrical Component List
Radio/Audio System Description and Operation w/o Navigation
Front Speakers

Radio/Audio System Schematics w/UY4

Figure 1:

Radio/Audio Power and Ground


Object Number: 662430  Size: FS
Master Electrical Component List
Radio/Audio System Description and Operation w/o Navigation
Compact Disc (CD) Player
Voice Audio and Mic (w/UE1)
DIMR and Audio Fuses
Class 2 Serial Data (1 of 3)
G301
Figure 2:

Compact Disc (CD) Player


Object Number: 662450  Size: FS
Master Electrical Component List
Radio/Audio System Description and Operation w/o Navigation
Radio Amplifier
Radio/Audio Power and Ground
G201 IP Harness and Console Harness
G201 IP Harness and Console Harness
Figure 3:

Radio Amplifier


Object Number: 662454  Size: FS
Master Electrical Component List
Radio/Audio System Description and Operation w/o Navigation
Front Speakers
Compact Disc (CD) Player
Figure 4:

Front Speakers


Object Number: 662456  Size: FS
Master Electrical Component List
Radio/Audio System Description and Operation w/o Navigation
Rear Speakers
Radio Amplifier
Figure 5:

Rear Speakers


Object Number: 662459  Size: FS
Master Electrical Component List
Radio/Audio System Description and Operation w/o Navigation
Front Speakers