GM Service Manual Online
For 1990-2009 cars only
Makes
🢒
Cadillac
🢒
2001
🢒
DeVille
🢒
Body and Accessories
🢒
Seats
🢒 Power Seats Schematics
Figure
1:
Driver Seat Switch and Motors
Master Electrical Component List
Power Seats System Description and Operation
Right Seat Switch and Motors
G302 Left Front Seat
G302 Left Front Seat
Lumbar Support Front Seats (AL2)
NAV Fuse and PWR Seat Circuit Breaker
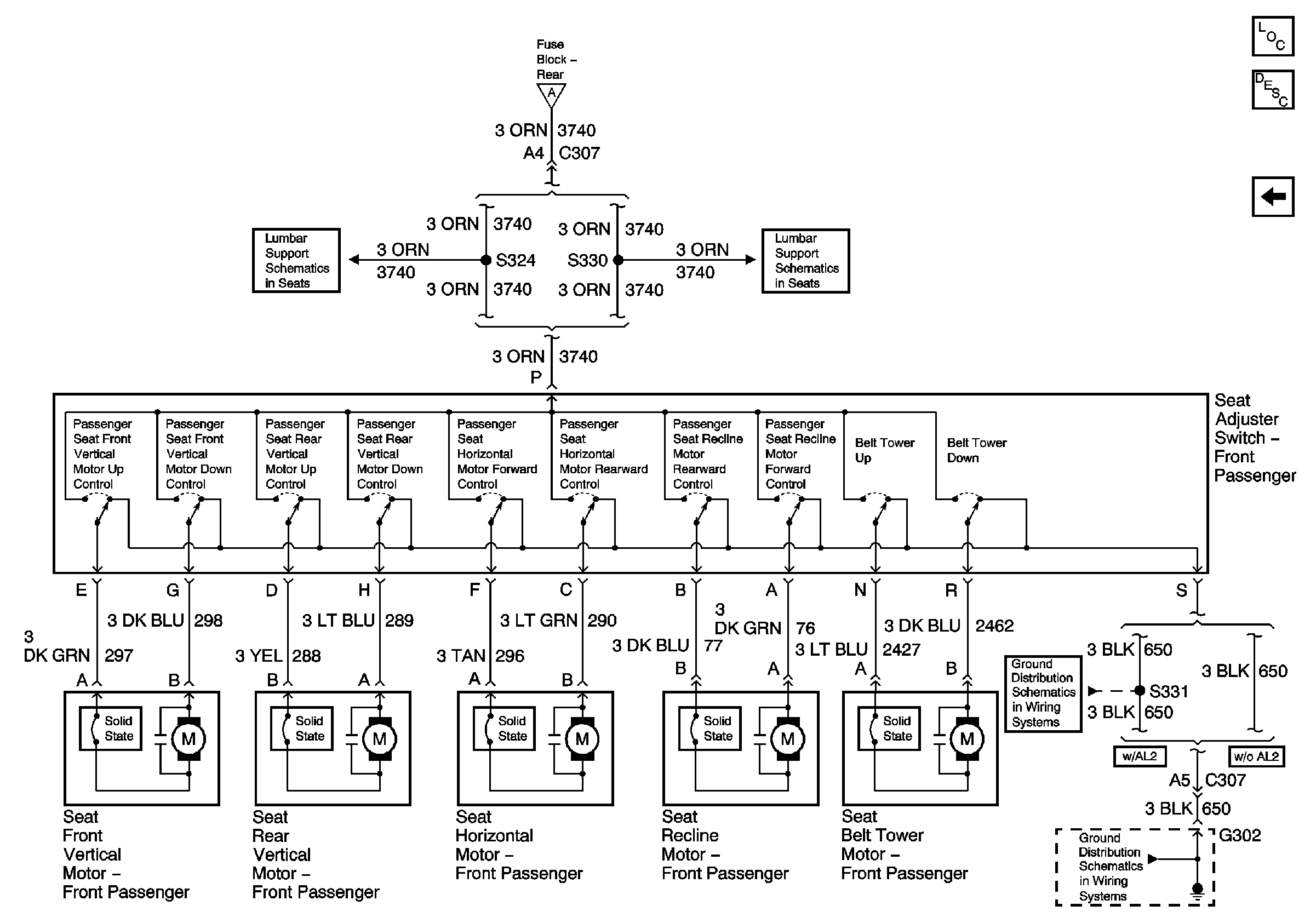
Figure
2:
Passenger Seat Switch and Motors
Master Electrical Component List
Power Seats System Description and Operation
Left Seat Switch and Motors
G302 Right Front Seat
G302 Right Front Seat
Lumbar Support Front Seats (AL2)