GM Service Manual Online
For 1990-2009 cars only
Makes
🢒
Cadillac
🢒
2001
🢒
DeVille
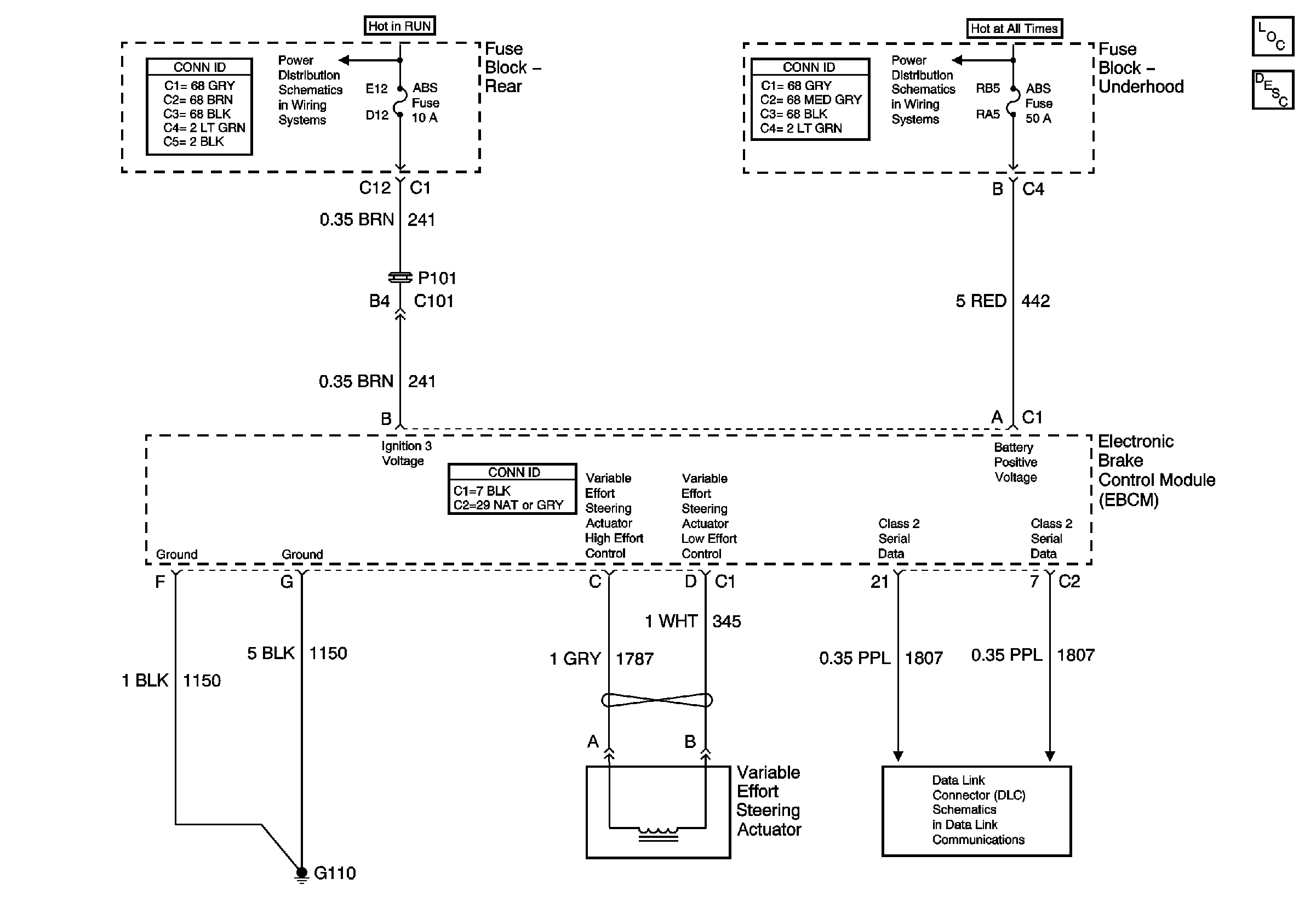
🢒 Steering Controls (w/NV8)
Steering Controls (w/NV8)
Steering Controls (w/NV8)
Master Electrical Component List
Variable Effort Steering System Description and Operation
ABS Sol, Air Pump B, C/LTR 1, C/LTR 2, Fuses
Class 2 Serial Data (1 of 3)
G201 IP Harness and Console Harness