GM Service Manual Online
For 1990-2009 cars only
Makes
🢒
Cadillac
🢒
2001
🢒
DeVille
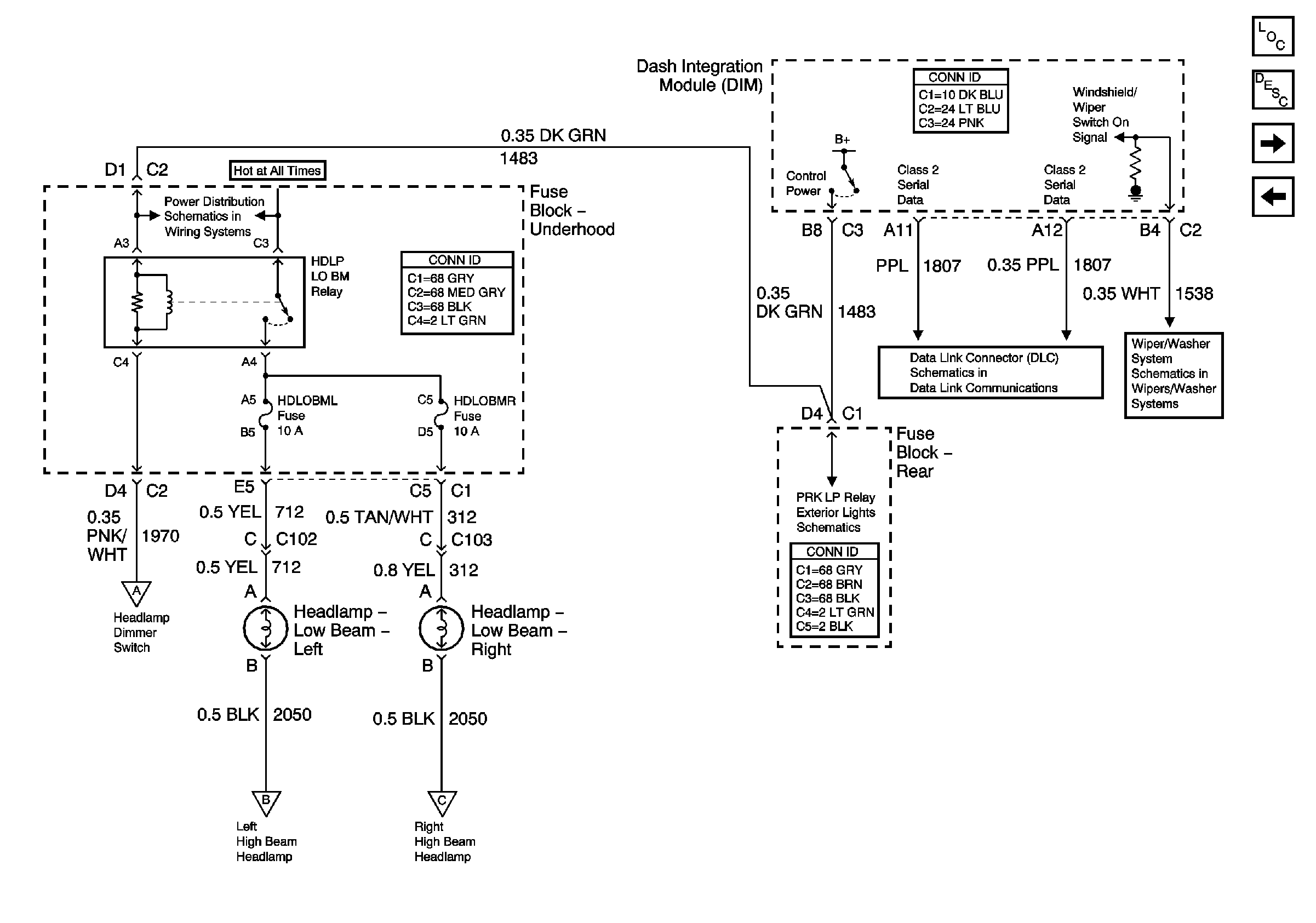
🢒 Low Beam Headlamps (Export)
Low Beam Headlamps (Export)
Low Beam Headlamps (Export)
Master Electrical Component List
Exterior Lighting Systems Description and Operation
High Beam Headlamps (Export)
Headlamp Switch (Export)
Wiper/Washer Switch and Pump
Class 2 Serial Data (1 of 3)
DRL, FOG, AC CLU, ACCY, Wiper, Headlamps