GM Service Manual Online
For 1990-2009 cars only
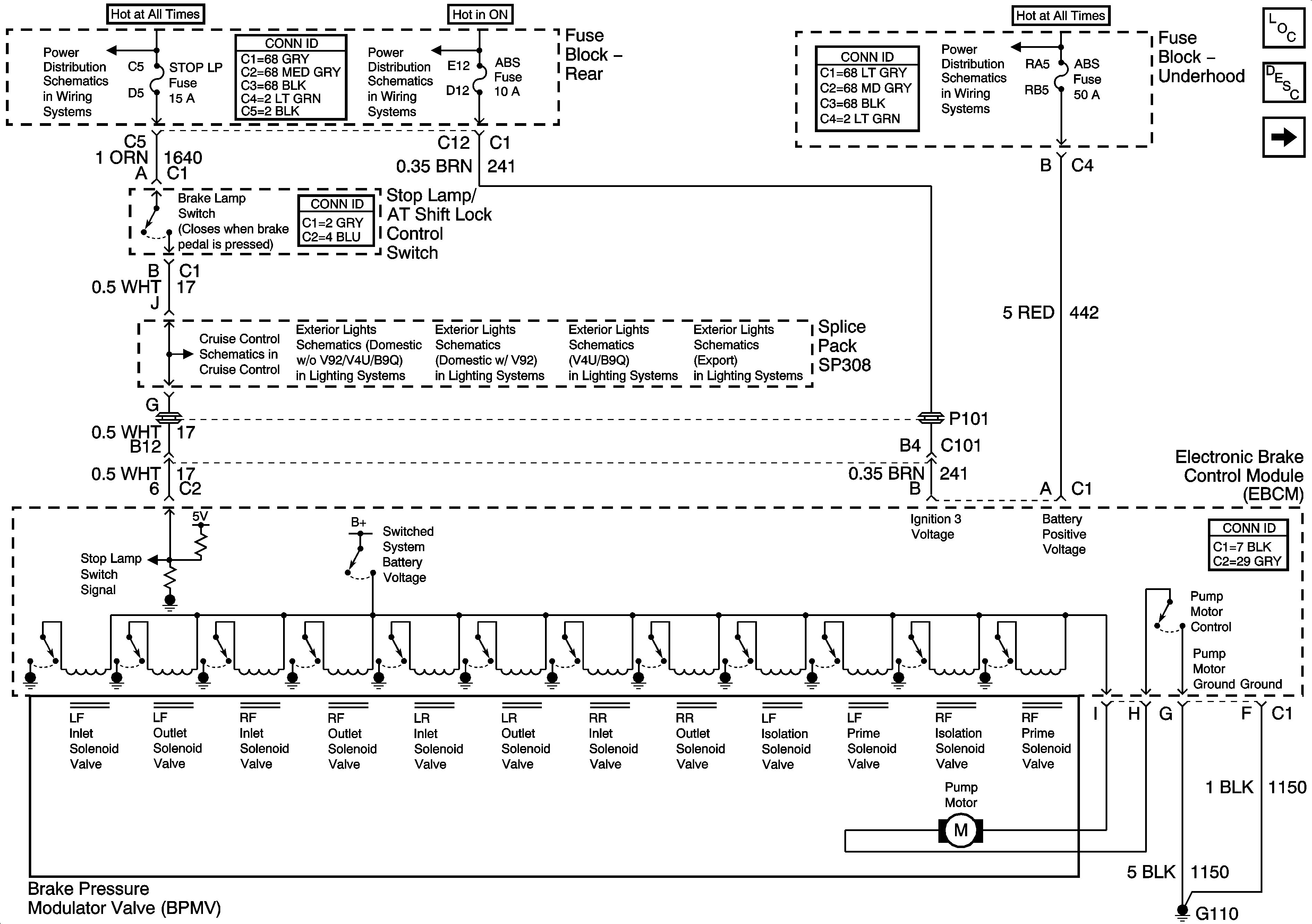
Figure 1:

Power, Ground, Stop Lamp Switch, Solenoid Valves and Pump Motor


Object Number: 809201  Size: FS
Master Electrical Component List
ABS Description and Operation
Wheel Speed Sensors
Rear Fuse Block- RR BLO, RRDR MDL, HVAC BAT, STOP LP, IGN SW, TSIG/HAZ Fuse
Rear Fuse Block- ELC, NIGHT VISION, HVAC, ABS Fuses
Underhood Fuse Block- ABS, AIR PUMP, C/LTR 1, and C/LTR 2 Fuse
Figure 2:

Wheel Speed Sensors


Object Number: 809209  Size: FS
Master Electrical Component List
ABS Description and Operation
Vehicle Stability Enhancement System (w/JL4)
EBCM Power and Ground, Stop Lamp Switch, and BPMV
Antilock Brake System Schematic Icons
Antilock Brake System Schematic Icons
Antilock Brake System Schematic Icons
Antilock Brake System Schematic Icons
Antilock Brake System Schematic Icons
Antilock Brake System Schematic Icons
Antilock Brake System Schematic Icons
Antilock Brake System Schematic Icons
Antilock Brake System Schematic Icons
Antilock Brake System Schematic Icons
Antilock Brake System Schematic Icons
Antilock Brake System Schematic Icons
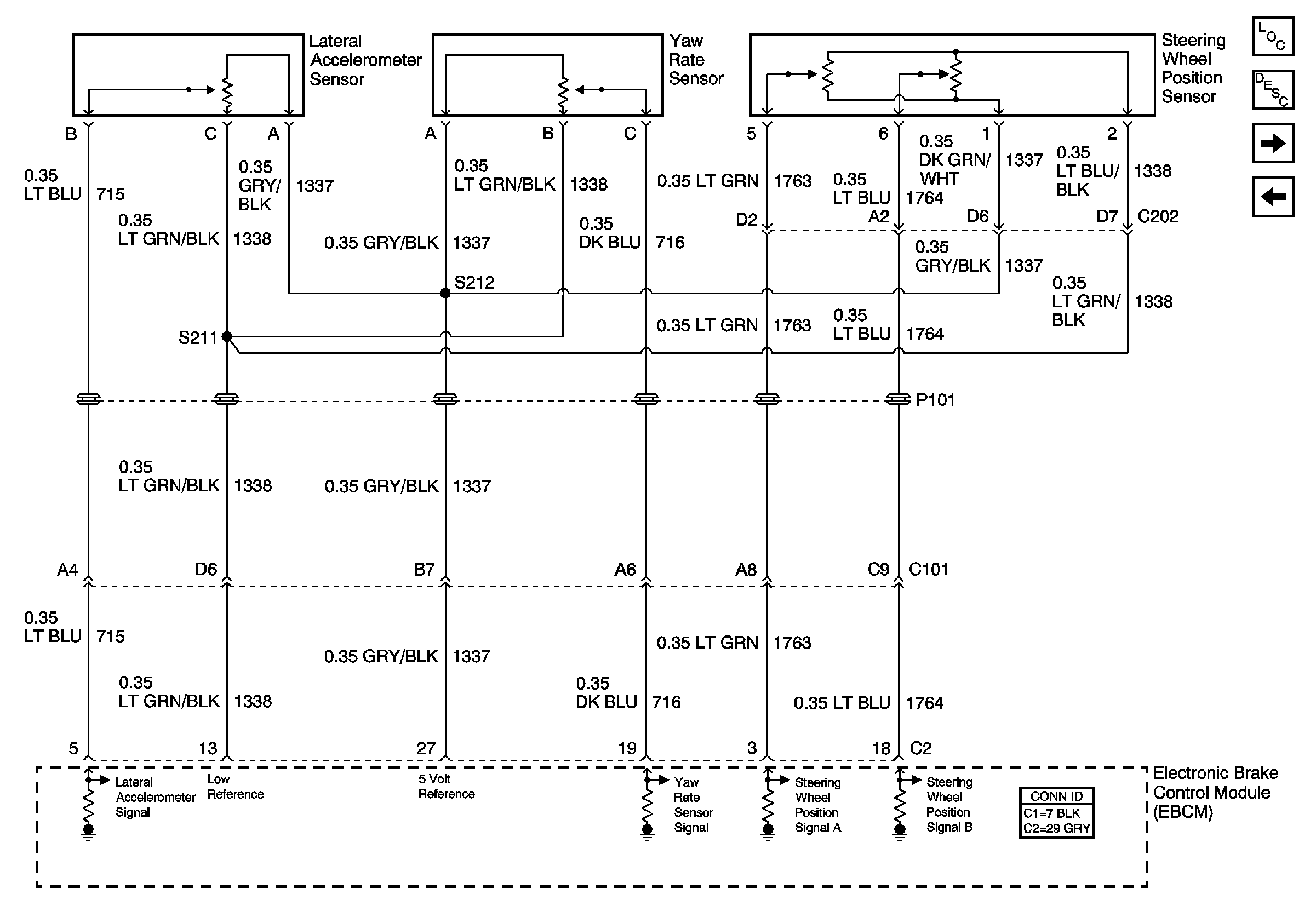
Figure 3:

Vehicle Stability Enhancement System (w/JL4)


Object Number: 809213  Size: FS
Master Electrical Component List
ABS Description and Operation
Subsystem References and Serial Data
Wheel Speed Sensors
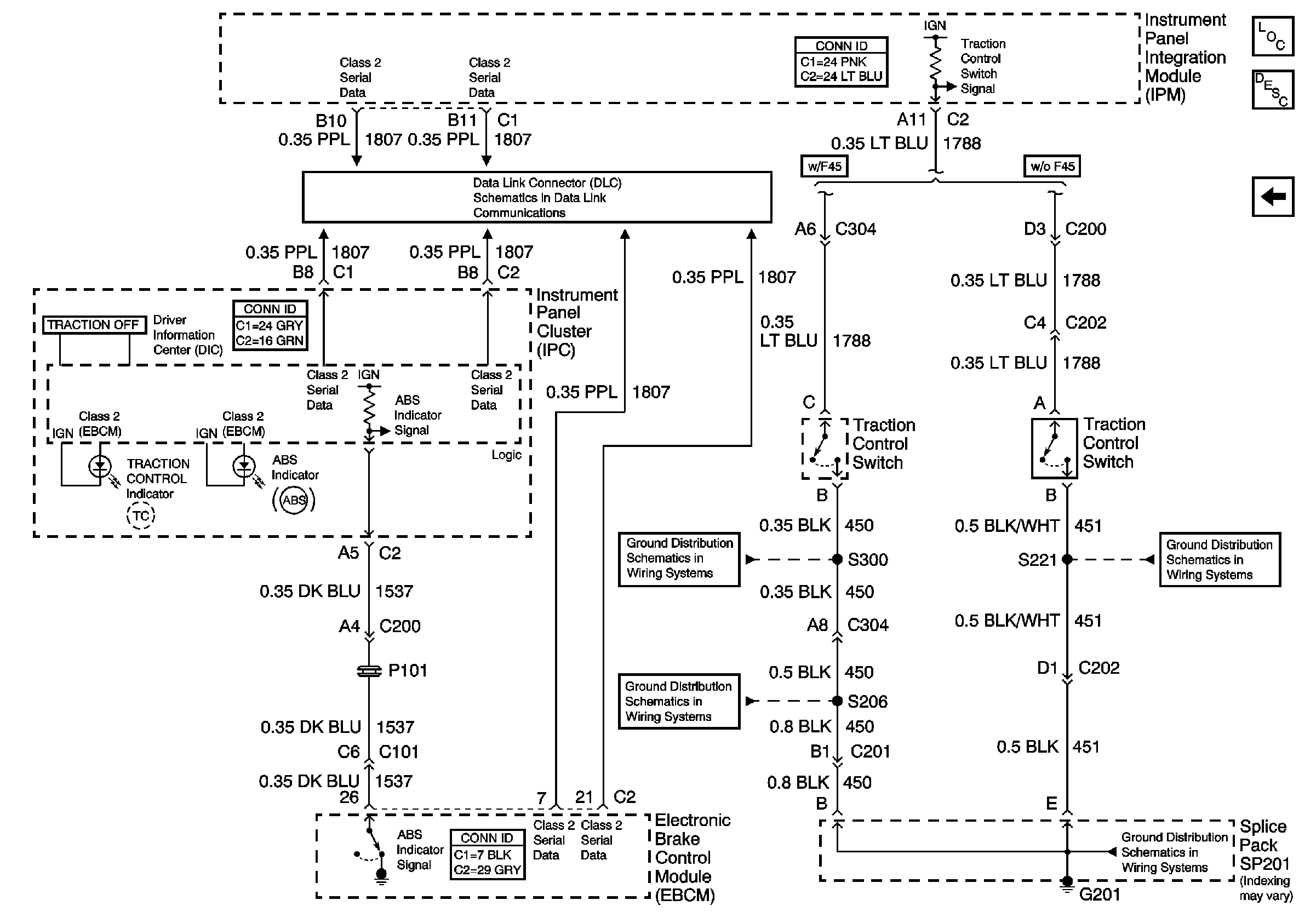
Figure 4:

Suspension Inputs, Class 2, Traction Control, Variable Effort Steering


Object Number: 1232516  Size: FS
Master Electrical Component List
ABS Description and Operation
Indicators and Traction Control Switch
Vehicle Stability Enhancement System (w/JL4)
Steering Controls Schematics
ESC Module Power and Ground
Class 2 Serial Data (1 of 3)
Figure 5:

Indicators and Traction Control Switch


Object Number: 809223  Size: FS
Master Electrical Component List
ABS Description and Operation
Subsystem References and Serial Data
G201 (1 of 3)
G201 (1 of 3)
G201 (2 of 3)
G201 (2 of 3)
Class 2 Serial Data (1 of 3)