GM Service Manual Online
For 1990-2009 cars only

Radio/Audio System Schematics W/O U3R, U3Q, and U3S

Figure 1:

Radio Power, Ground, DLC, and Signals


Object Number: 799495  Size: FS
Master Electrical Component List
Radio/Audio System Description and Operation
Remote Playback Device CD Changer (w/o U2K)
Vehicle Communication Interface Module, Microphone and Audio Amplifier
Rear Fuse Block- DIMR, S-DAR, and AUDIO Fuses
Radio Power, Ground, DLC, and Signals
Remote Playback Device CD Changer (w/o U2K)
Instrument Panel Dimming
G201 (2 of 3)
G201 (2 of 3)
Class 2 Serial Data (1 of 3)
Class 2 Serial Data (3 of 3)
G301
G301
Figure 2:

Audio Amplifer Power, Ground, DLC, and Signals


Object Number: 1507257  Size: FS
Master Electrical Component List
Radio/Audio System Description and Operation
Front Speakers (w/o Bose)
Remote Playback Device CD Changer (w/o U2K)
Entertainment Schematic Icons
Entertainment Schematic Icons
Entertainment Schematic Icons
Entertainment Schematic Icons
Entertainment Schematic Icons
Entertainment Schematic Icons
Figure 3:

Remote Playback Device CD Changer (w/o U2K)


Object Number: 799507  Size: FS
Master Electrical Component List
Radio/Audio System Description and Operation
Audio Amplifier
Radio Power, Ground, DLC, and Signals
Radio Power, Ground, DLC, and Signals
Entertainment Schematic Icons
Entertainment Schematic Icons
G301
G301
Class 2 Serial Data (1 of 3)
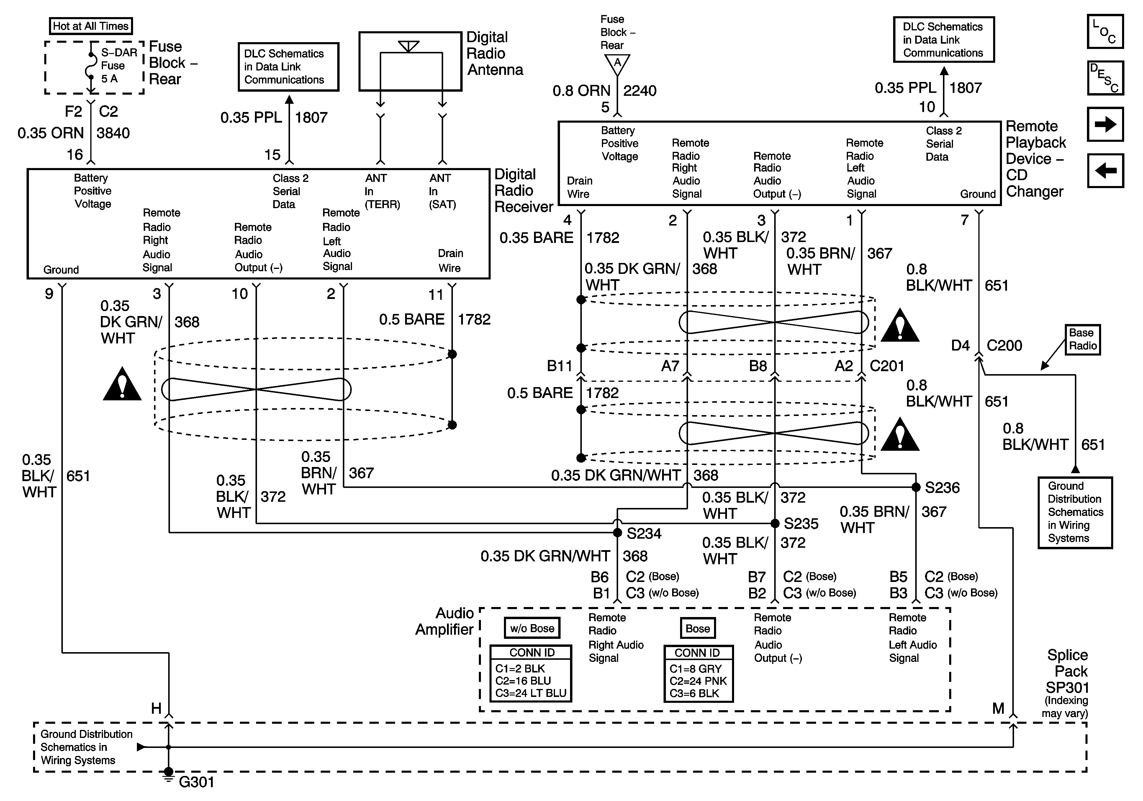
Figure 4:

Remote Playback Device CD Changer and Digital Radio Receiver (U2K)


Object Number: 1507163  Size: FS
Figure 5:

Front Speakers (w/o Bose)


Object Number: 799511  Size: FS
Master Electrical Component List
Radio/Audio System Description and Operation
Rear Speakers (w/o Bose)
Audio Amplifier
Entertainment Schematic Icons
Entertainment Schematic Icons
Entertainment Schematic Icons
Entertainment Schematic Icons
Entertainment Schematic Icons
Entertainment Schematic Icons
Entertainment Schematic Icons
Figure 6:

Rear Speakers (w/o Bose)


Object Number: 1421946  Size: FS
Master Electrical Component List
Radio/Audio System Description and Operation
Front Speakers (w/o Bose)
Entertainment Schematic Icons
Entertainment Schematic Icons
Entertainment Schematic Icons
Entertainment Schematic Icons
Entertainment Schematic Icons
Entertainment Schematic Icons
Entertainment Schematic Icons
Entertainment Schematic Icons
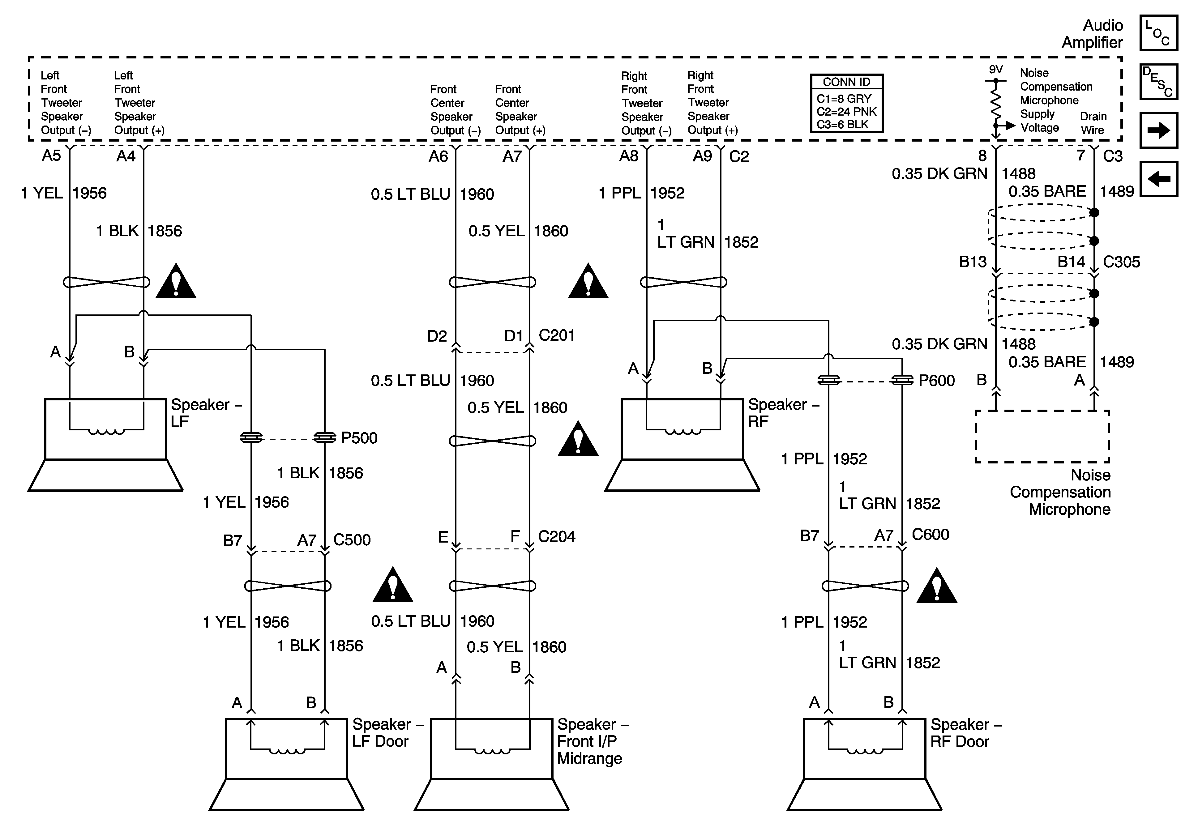
Figure 7:

Front Speakers and Noise Compensation Microphone (Bose)


Object Number: 1507175  Size: FS
Figure 8:

Rear Speakers (Bose)


Object Number: 1507178  Size: FS

Radio/Audio System Schematics U3R, U3Q, and U3S

Figure 1:

Radio Power, Ground, DLC, and Signals


Object Number: 799522  Size: FS
Master Electrical Component List
Radio/Audio System Description and Operation
Remote Playback Device CD Changer and Digital Radio Receiver (U2k)
Rear Speakers (w/o Bose)
Rear Fuse Block- DIMR, S-DAR, and AUDIO Fuses
Remote Playback Device CD Changer (w/o U2k)
Microphone, Audio Amplifier and Antennas
Rear Fuse Block- NAV Fuse and PWR SEAT Circuit Breaker
Gages
Class 2 Serial Data (1 of 3)
Class 2 Serial Data (3 of 3)
G201 (2 of 3)
G301
G301
Figure 2:

Audio Amplifier Power, Ground, DLC, and Signals


Object Number: 1370922  Size: FS
Master Electrical Component List
Radio/Audio System Description and Operation
Front Speakers and Noise Compensation Microphone
Remote Playback Device CD Changer (w/o U2k)
Entertainment Schematic Icons
Entertainment Schematic Icons
Entertainment Schematic Icons
Entertainment Schematic Icons
Entertainment Schematic Icons
Entertainment Schematic Icons
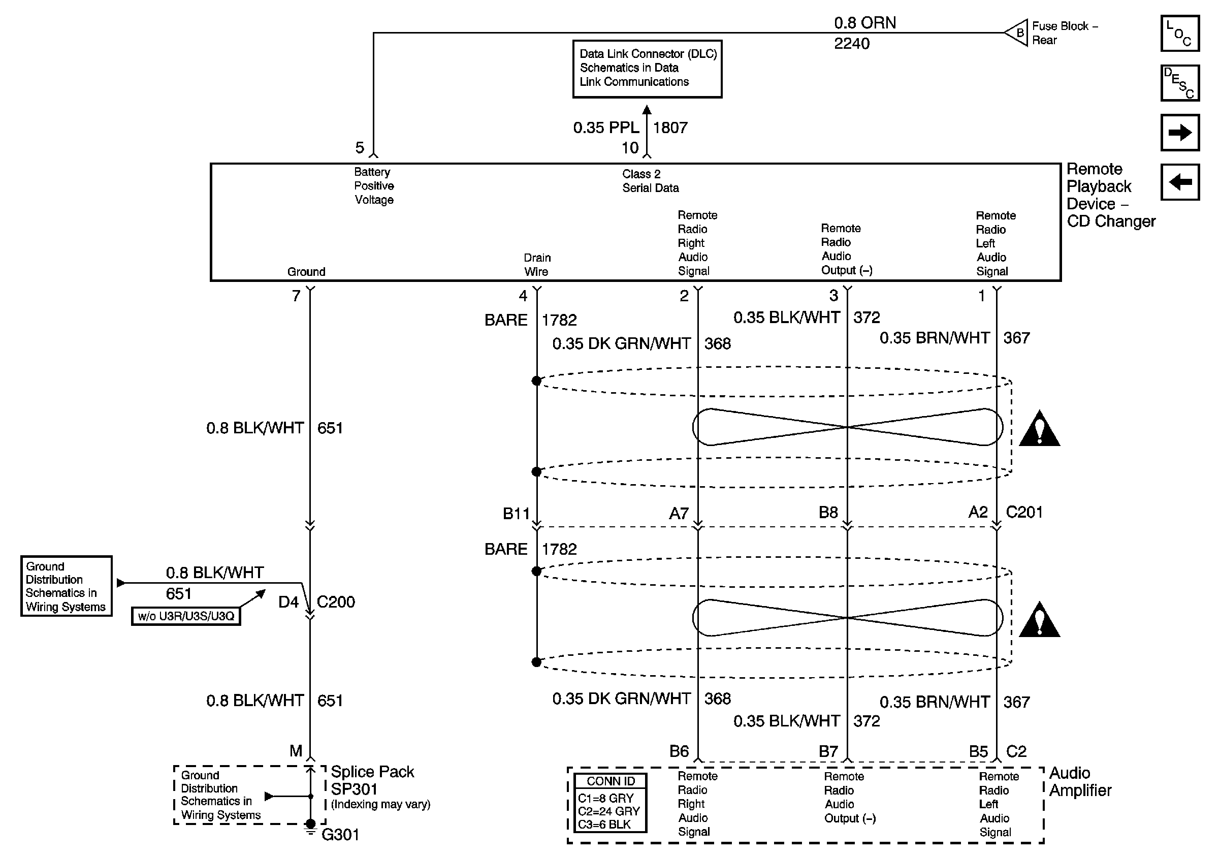
Figure 3:

Remote Playback Device CD Changer (w/o U2K)


Object Number: 799530  Size: FS
Master Electrical Component List
Radio/Audio System Description and Operation
Audio Amplifier Power, Ground, DLC, and Signals
Remote Playback Device CD Changer and Digital Radio Receiver (U2k)
Radio Power, Ground, DLC, and Signals
Class 2 Serial Data (1 of 3)
G301
G301
Entertainment Schematic Icons
Entertainment Schematic Icons
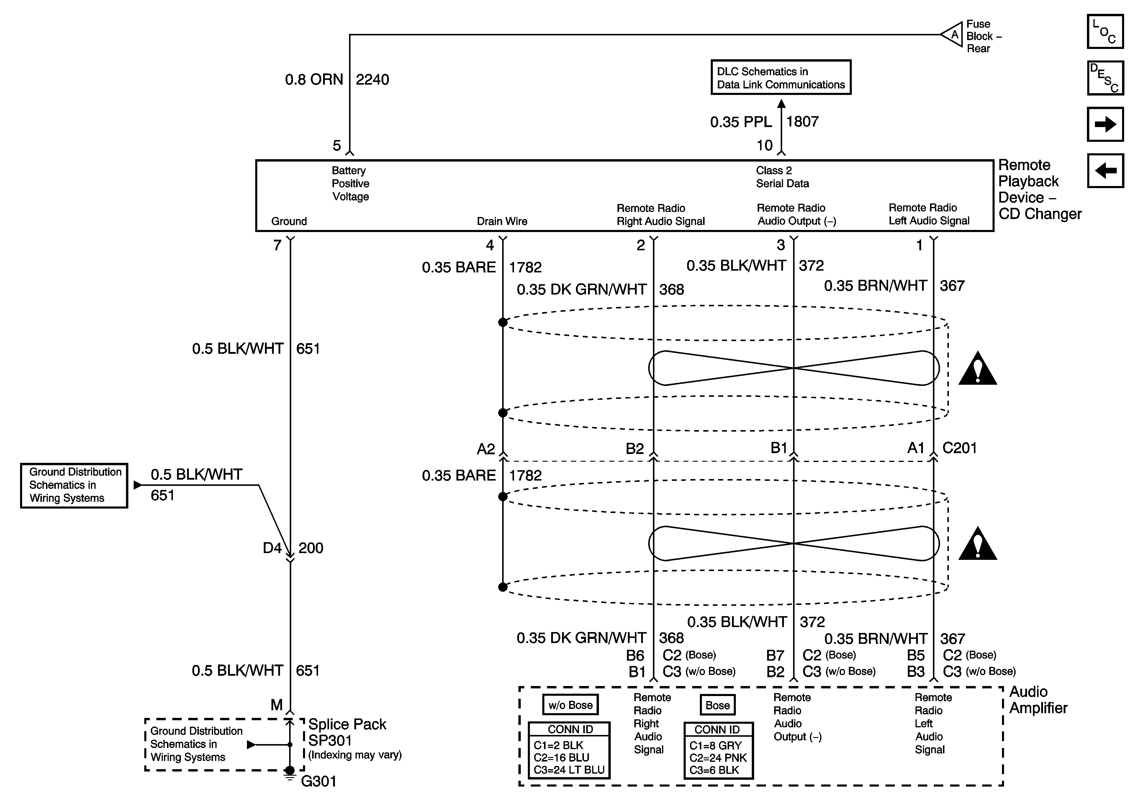
Figure 4:

Remote Playback Device CD Changer and Digital Radio Receiver (U2K)


Object Number: 799528  Size: FS
Master Electrical Component List
Radio/Audio System Description and Operation
Remote Playback Device CD Changer (w/o U2k)
Radio Power, Ground, DLC, and Signals
Class 2 Serial Data (1 of 3)
Rear Fuse Block- DIMR, S-DAR, and AUDIO Fuses
Class 2 Serial Data (3 of 3)
Rear Fuse Block- DIMR, S-DAR, and AUDIO Fuses
Entertainment Schematic Icons
Entertainment Schematic Icons
Entertainment Schematic Icons
G301
G301
Figure 5:

Front Speakers and Noise Compensation Microphone


Object Number: 799534  Size: FS
Master Electrical Component List
Radio/Audio System Description and Operation
Rear Speakers
Remote Playback Device CD Changer and Digital Radio Receiver (U2k)
Entertainment Schematic Icons
Entertainment Schematic Icons
Entertainment Schematic Icons
Entertainment Schematic Icons
Entertainment Schematic Icons
Figure 6:

Rear Speakers


Object Number: 799535  Size: FS
Master Electrical Component List
Radio/Audio System Description and Operation
Front Speakers and Noise Compensation Microphone
Entertainment Schematic Icons
Entertainment Schematic Icons
Entertainment Schematic Icons
Entertainment Schematic Icons
Entertainment Schematic Icons
Entertainment Schematic Icons
Entertainment Schematic Icons
Entertainment Schematic Icons
G301
G301