GM Service Manual Online
For 1990-2009 cars only
Makes
🢒
Cadillac
🢒
2004
🢒
DeVille
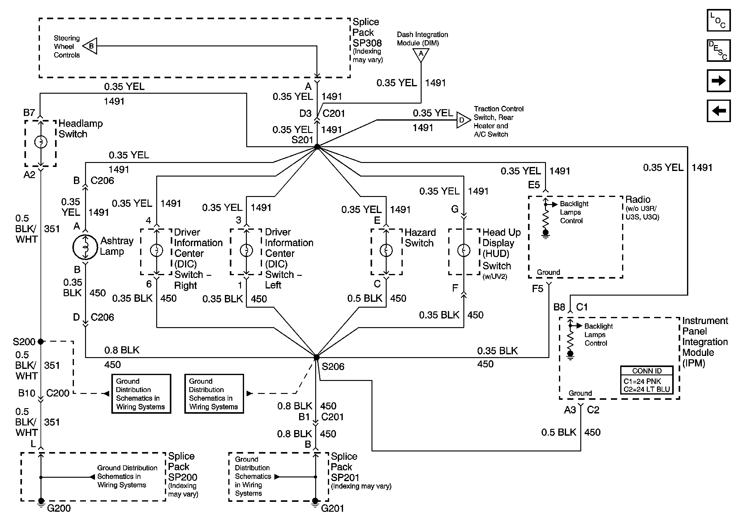
🢒 Instrument Panel Dimming
Instrument Panel Dimming
Instrument Panel Dimming
Master Electrical Component List
Interior Lighting Systems Description and Operation
Steering Wheel Controls
Dimming Control
G201 (2 of 3)
G201 (2 of 3)
G200
G200
Steering Wheel Controls
Dimming Control
Console Dimming