GM Service Manual Online
For 1990-2009 cars only
Makes
🢒
Cadillac
🢒
2004
🢒
DeVille
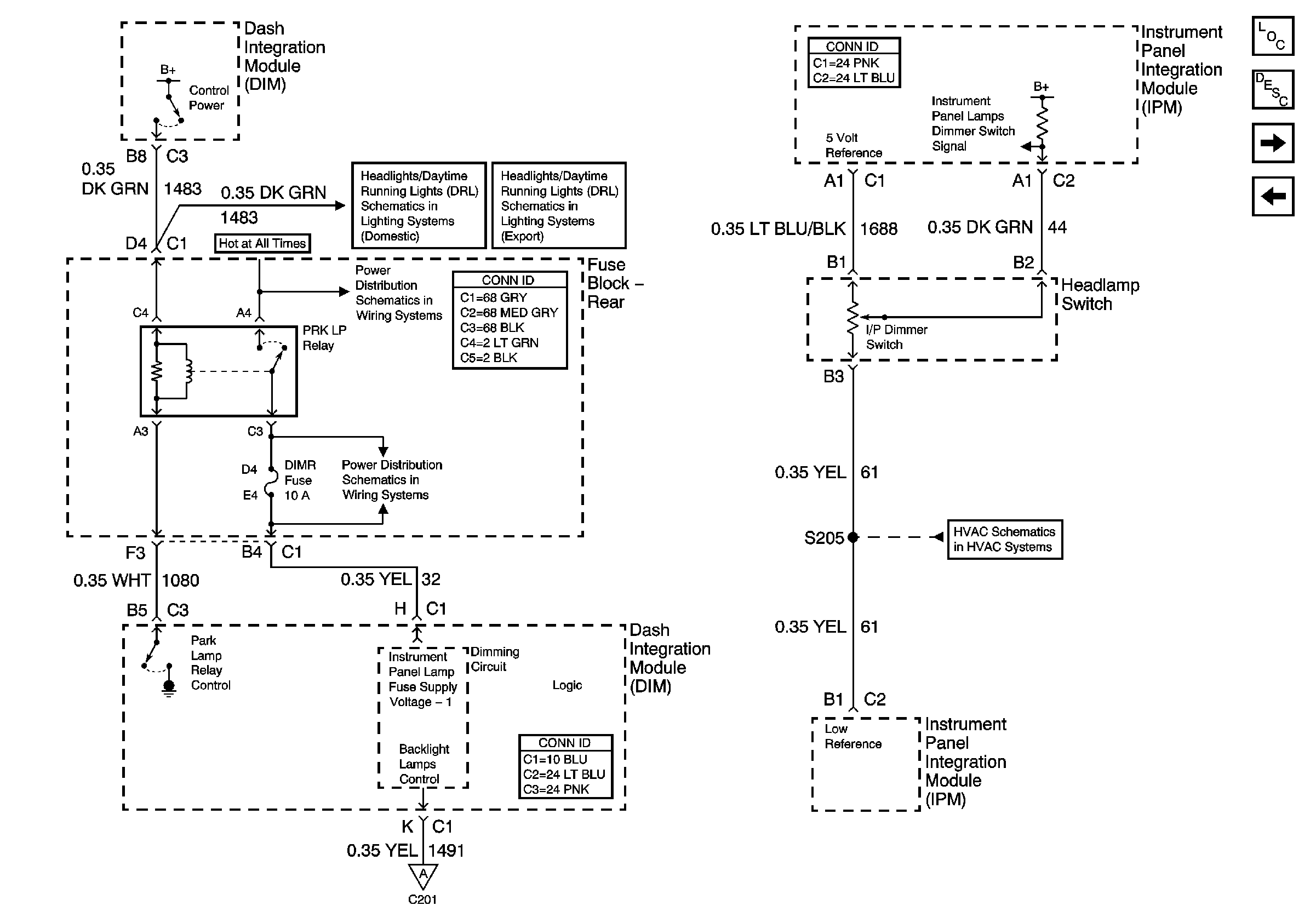
🢒 Dimming Control
Dimming Control
Dimming Control
Master Electrical Component List
Interior Lighting Systems Description and Operation
Instrument Panel Dimming
Class 2 Communication
Air Temperature and Sunload Sensor
Instrument Panel Dimming
Rear Fuse Block- DIMR, S-DAR, and AUDIO Fuses
Rear Fuse Block- LP PK R and LP PK L Fuses, PRK LP Relay
Low Beam Headlamps (Domestic)
Low Beam Headlamps (Export)