GM Service Manual Online
For 1990-2009 cars only
Makes
🢒
Cadillac
🢒
2004
🢒
DeVille
🢒
Accessories
🢒
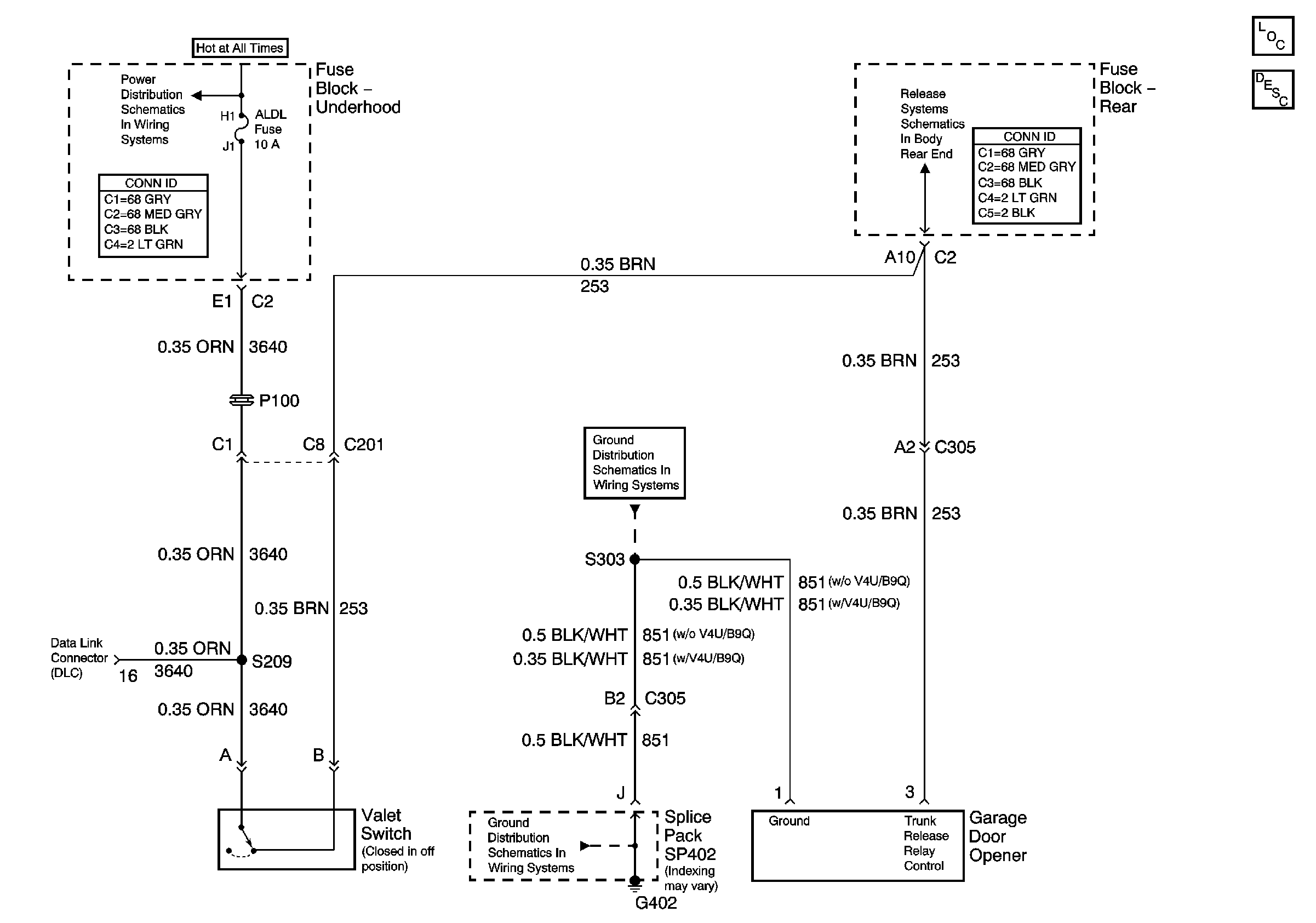
Garage Door Opener
🢒 Garage Door Opener Schematics
Master Electrical Component List
Garage Door Opener Description and Operation
Release Systems- Actuators and RIM
Underhood Fuse Block- ALDL, PCM BATT, and I/P Fuse
G402 (2 of 2)
G402 (2 of 2)