GM Service Manual Online
For 1990-2009 cars only
Makes
🢒
Cadillac
🢒
2004
🢒
DeVille
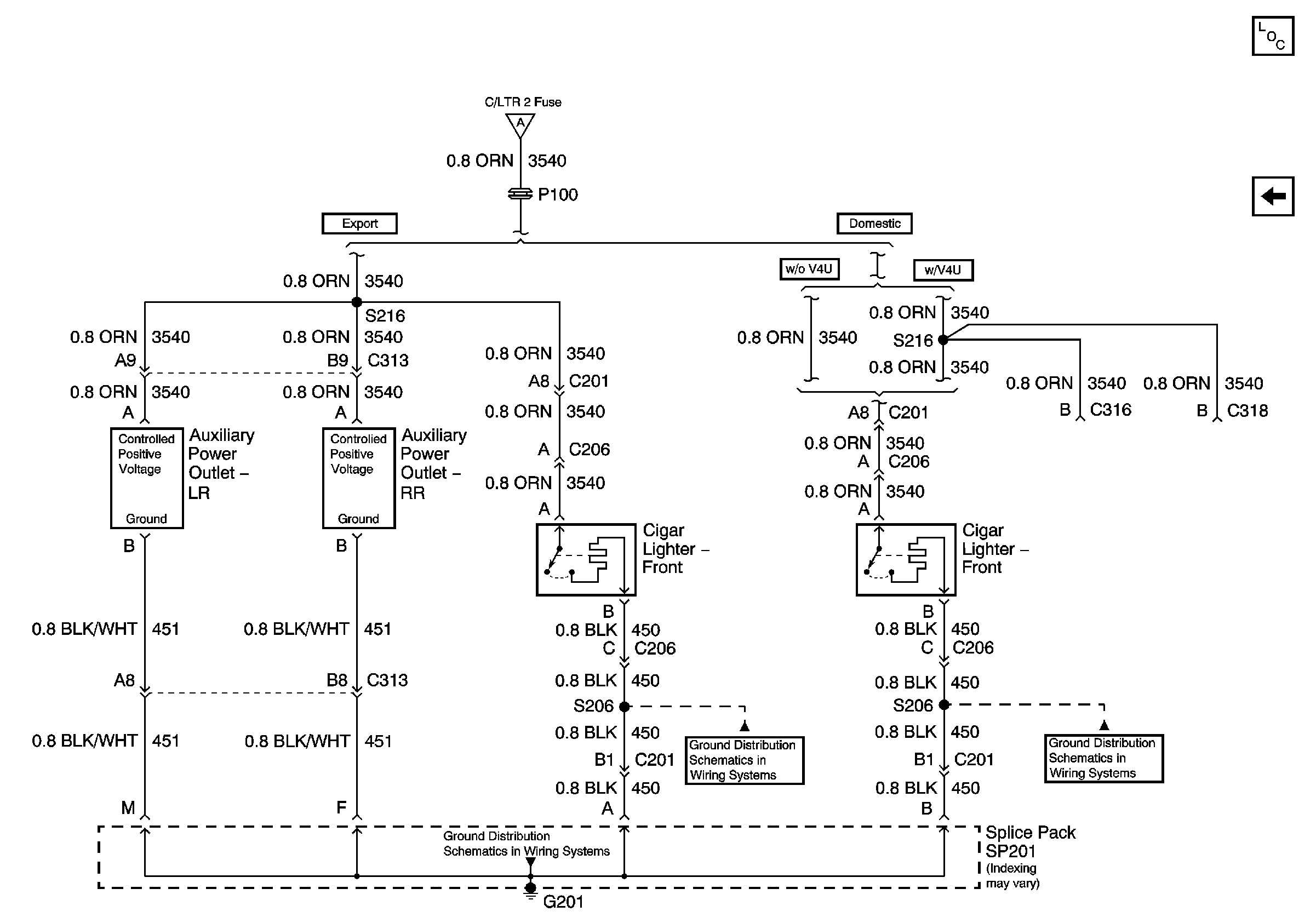
🢒 Front Cigar Lighters and Rear Auxiliary Outlets
Front Cigar Lighters and Rear Auxiliary Outlets
Cigar and Auxiliary Power Outlets
Master Electrical Component List
Rear Cigar Lighters
G201 (2 of 3)
G201 (2 of 3)
Rear Cigar Lighters