GM Service Manual Online
For 1990-2009 cars only
Makes
🢒
Cadillac
🢒
2004
🢒
DeVille
🢒 Overhead Console, Vanity, and Courtesy Lamps
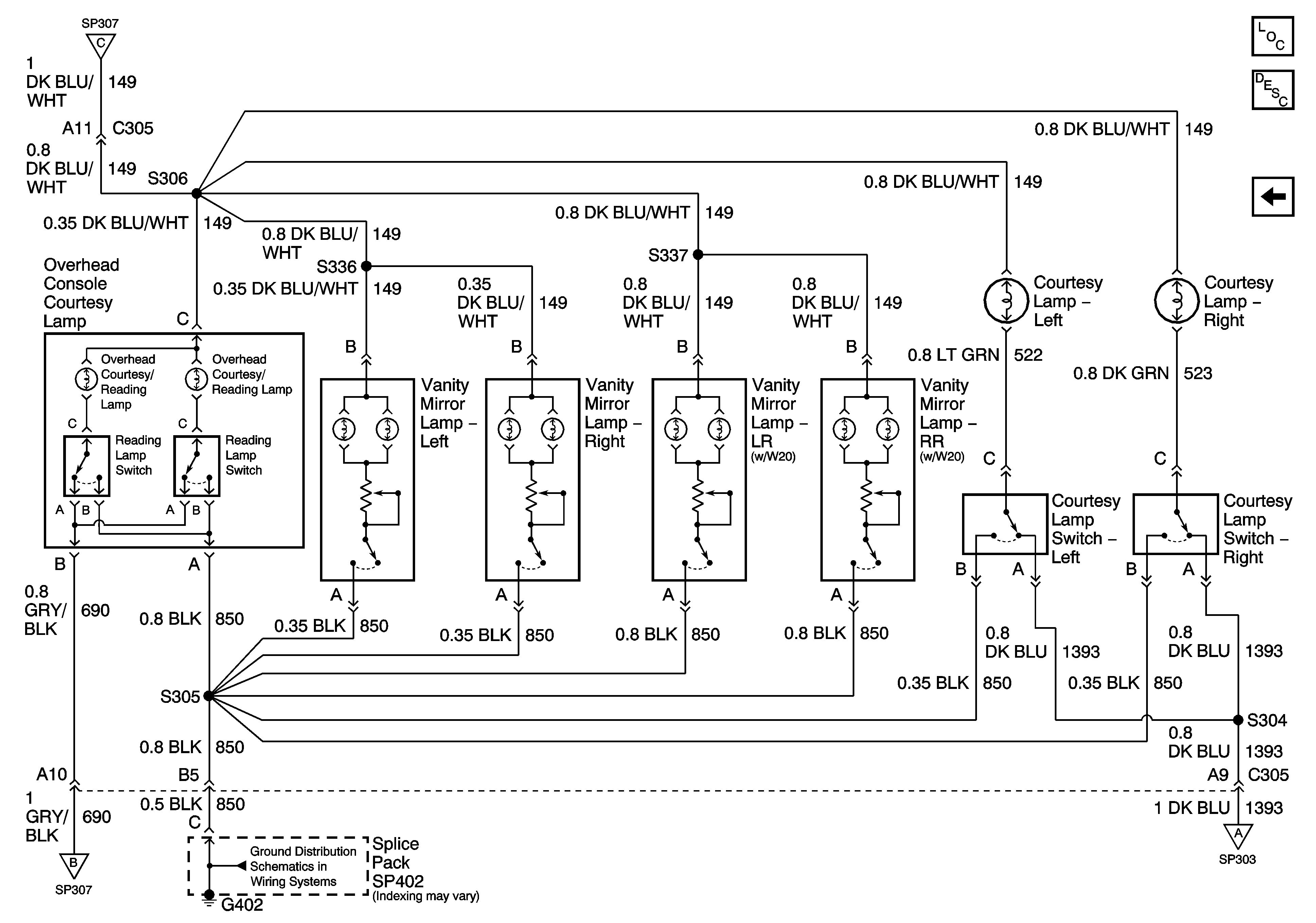
Overhead Console, Vanity, and Courtesy Lamps
Overhead Console, Vanity and Courtesy Lamps
Master Electrical Component List
Interior Lighting Systems Description and Operation
Door Open Inputs (w/ V4U)
Front Door Courtesy, Rear Compartment, and Underhood Lamps
Interior Lamp Relay, Headlamp Switch and Rear Door Courtesy Lamps
G402 (1 of 2)
Front Door Courtesy, Rear Compartment, and Underhood Lamps
Front Door Courtesy, Rear Compartment, and Underhood Lamps