GM Service Manual Online
For 1990-2009 cars only
Makes
🢒
Cadillac
🢒
2004
🢒
DeVille
🢒 Outside Mirrors
Outside Mirrors
Outside Mirrors
Master Electrical Component List
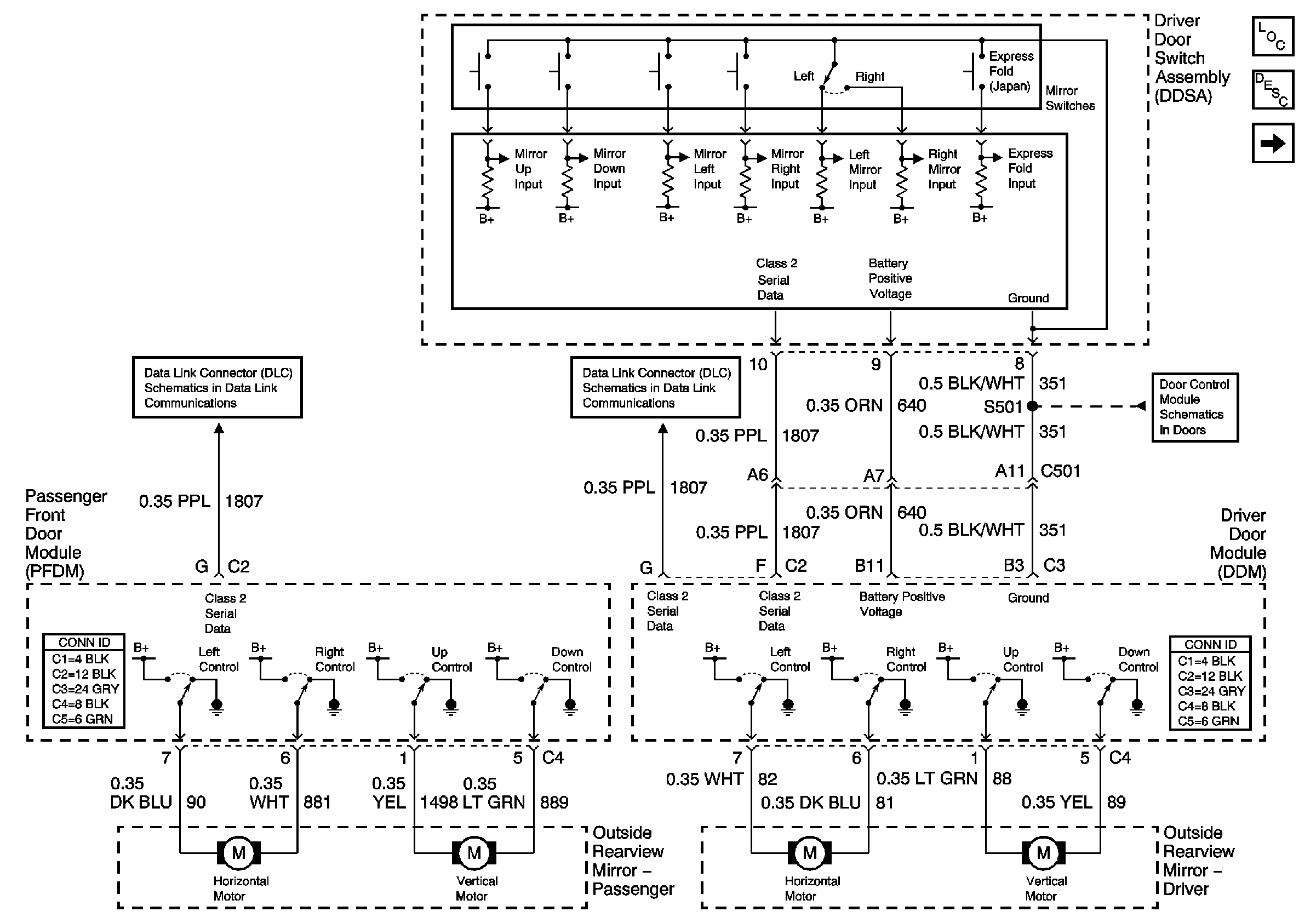
Outside Mirror Description and Operation
Power Door Locks Middle Door Release (w/V4U) 2 of 2
Class 2 Serial Data (2 of 3)
Class 2 Serial Data (3 of 3)
Right Power Mirror w/Memory (A45)