GM Service Manual Online
For 1990-2009 cars only
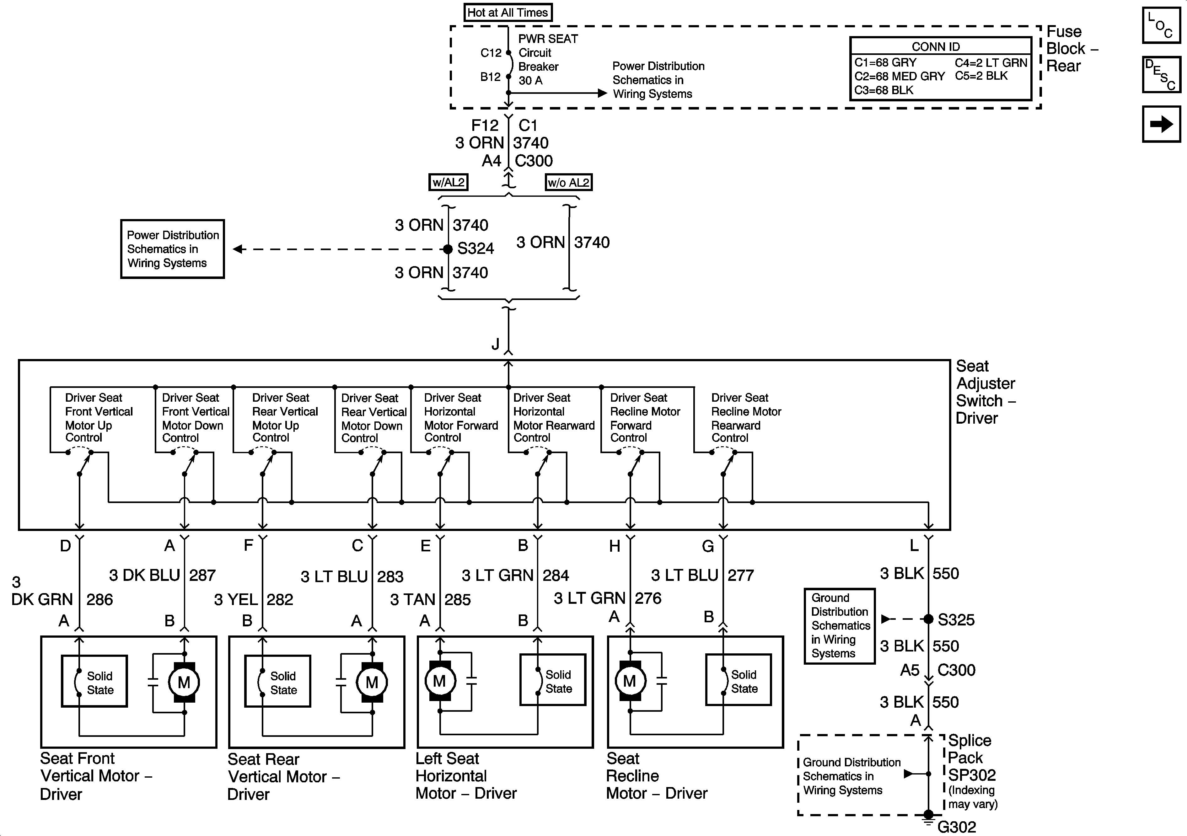
Figure 1:

Power Seat


Object Number: 1412978  Size: FS
Master Electrical Component List
Power Seats System Description and Operation
Power Lumbar Seat
NAV Fuse and PWR SEAT Circuit Breaker
NAV Fuse and PWR SEAT Circuit Breaker
G302 - 2 of 3
G302 - 2 of 3
Figure 2:

Power Lumbar Seat


Object Number: 1412979  Size: FS
Master Electrical Component List
Lumbar Support Description and Operation w/o Memory-A45
Massaging Lumbar Seat (AM3)
Power Seat
NAV Fuse and PWR SEAT Circuit Breaker
NAV Fuse and PWR SEAT Circuit Breaker
G302 - 2 of 3
G302 - 2 of 3
Figure 3:

Massaging Lumbar Seat (AC9)


Object Number: 1412980  Size: FS
Master Electrical Component List
Lumbar Support Description and Operation Massaging Lumbar-AM3 w/o Memory-A45
Memory Lumbar Seat (A45/AL2)
Power Lumbar Seat
NAV Fuse and PWR SEAT Circuit Breaker
NAV Fuse and PWR SEAT Circuit Breaker
G302 - 2 of 3
G302 - 2 of 3
Figure 4:

Memory Lumbar Seat (A45/AL2)


Object Number: 1413002  Size: FS
Master Electrical Component List
Lumbar Support Description and Operation with A45
Seat Switch w/ Memory Massaging Lumbar (A45/AM3)
Massaging Lumbar Seat (AM3)
MEM TT, RRLUM/PWR ANT, and HTDST LF Fuses
MEM TT, RRLUM/PWR ANT, and HTDST LF Fuses
Vertical and Horizontal Position Sensors (A45)
Position Sensors w/ Memory Massaging Lumbar (A45/AM3)
Position Sensors w/ Memory Massaging Lumbar (A45/AM3)
Vertical and Horizontal Position Sensors (A45)
Figure 5:

Seat Switch w/ Memory Massaging Lumbar (A45, AM3)


Object Number: 1413004  Size: FS
Master Electrical Component List
Lumbar Support Description and Operation Massaging Lumbar-AM3 with Memory-A45
Position Sensors w/ Memory Massaging Lumbar (A45/AM3)
Memory Lumbar Seat (A45/AL2)
NAV Fuse and PWR SEAT Circuit Breaker
NAV Fuse and PWR SEAT Circuit Breaker
MEM TT, RRLUM/PWR ANT, and HTDST LF Fuses
MEM TT, RRLUM/PWR ANT, and HTDST LF Fuses
G302 - 2 of 3
G302 - 2 of 3
Figure 6:

Position Sensors w/ Memory Massaging Lumbar (A45, AM3)


Object Number: 1413007  Size: FS
Master Electrical Component List
Lumbar Support Description and Operation Massaging Lumbar-AM3 with Memory-A45
Heated Seat Switch (KA1)
Seat Switch w/ Memory Massaging Lumbar (A45/AM3)
Memory Lumbar Seat (A45/AL2)
Figure 7:

Heated Seat Switch (KA1)


Object Number: 1413011  Size: FS
Master Electrical Component List
Heated Seats Description and Operation
Climate Control Seat Module (KA1)
Position Sensors w/ Memory Massaging Lumbar (A45/AM3)
Figure 8:

Climate Control Seat Module (KA1)


Object Number: 1413013  Size: FS
Master Electrical Component List
Heated/Cooled Seats Description and Operation
Power and Ground (A45)
Heated Seat Switch (KA1)
IGN 3 Relay and IGN 3 RR Fuse
IGN 3 Relay and IGN 3 RR Fuse
G302 - 2 of 3
G302 - 2 of 3
Figure 9:

Power and Ground (A45)


Object Number: 1413015  Size: FS
Master Electrical Component List
Power Seats System Description and Operation
Memory/Personalization Function Switch (A45)
Climate Control Seat Module (KA1)
NAV Fuse and PWR SEAT Circuit Breaker
MEM TT, RRLUM/PWR ANT, and HTDST LF Fuses
MEM TT, RRLUM/PWR ANT, and HTDST LF Fuses
G302 - 2 of 3
G302 - 2 of 3
Figure 10:

Memory/Personalization Function Switch (A45)


Object Number: 1413017  Size: FS
Master Electrical Component List
Memory Seats Description and Operation
Vertical and Horizontal Position Sensors (A45)
Power and Ground (A45)
Driver Door Power Door Lock
Class 2 Serial Data (3 of 3)
Figure 11:

Vertical and Horizontal Position Sensors (A45)


Object Number: 1413027  Size: FS
Master Electrical Component List
Memory Seats Description and Operation
Recline Position Sensors and Class 2 (A45)
Memory/Personalization Function Switch (A45)
Memory Lumbar Seat (A45/AL2)
Figure 12:

Recline Position Sensors and Class 2 (A45)


Object Number: 1413028  Size: FS
Master Electrical Component List
Memory Seats Description and Operation
Vertical and Horizontal Position Sensors (A45)
Memory Lumbar Seat (A45/AL2)
Class 2 Serial Data (3 of 3)