GM Service Manual Online
For 1990-2009 cars only
Makes
🢒
Cadillac
🢒
2005
🢒
DeVille
🢒 Driver Information Center
Driver Information Center
Driver Information Center
Master Electrical Component List
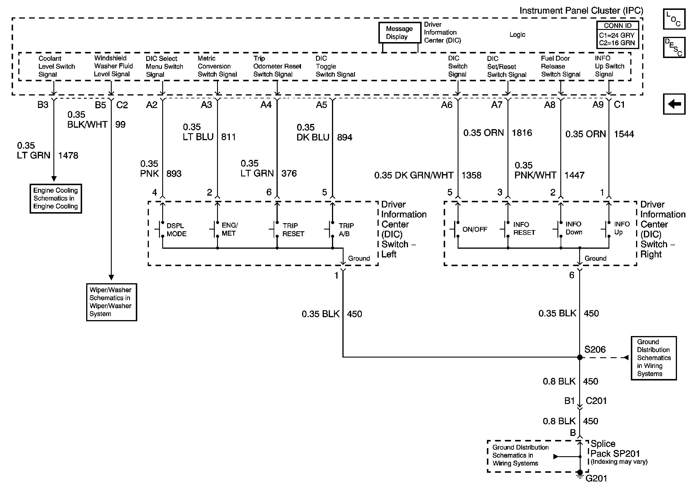
Driver Information Center (DIC) Description and Operation
Lighting, Restraints, Security and Cruise Indicators
Coolant Level Switch
Windshield Washer Fluid Level Switch
G201 (2 of 3)