GM Service Manual Online
For 1990-2009 cars only
Makes
🢒
Cadillac
🢒
2005
🢒
DeVille
🢒 Lighting, Restraints, Security and Cruise Indicators
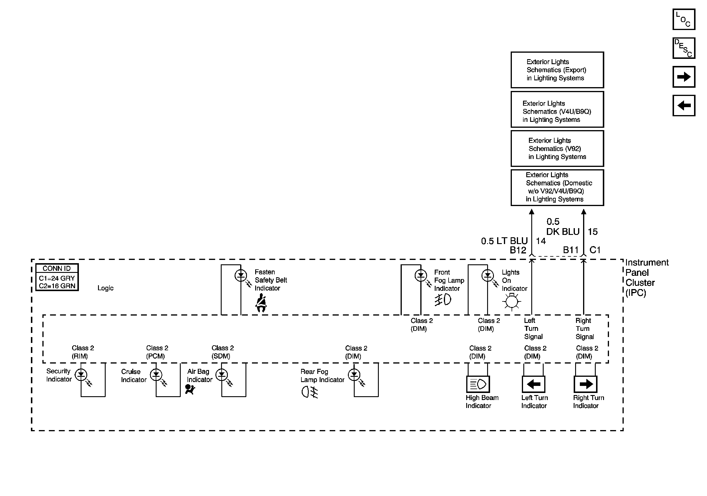
Lighting, Restraints, Security and Cruise Indicators
Lighting, Restraints, Security, and Cruise Indicators
Master Electrical Component List
Instrument Cluster Description and Operation
Driver Information Center
Brakes and Engine Indicators
Front Park/Turn and Repeater Lamps
Front Park/Turn and Side Marker Lamps
Front Park/Turn and Side Marker Lamps
Front Park/Turn and Side Marker Lamps