GM Service Manual Online
For 1990-2009 cars only
Makes
🢒
Cadillac
🢒
2005
🢒
DeVille
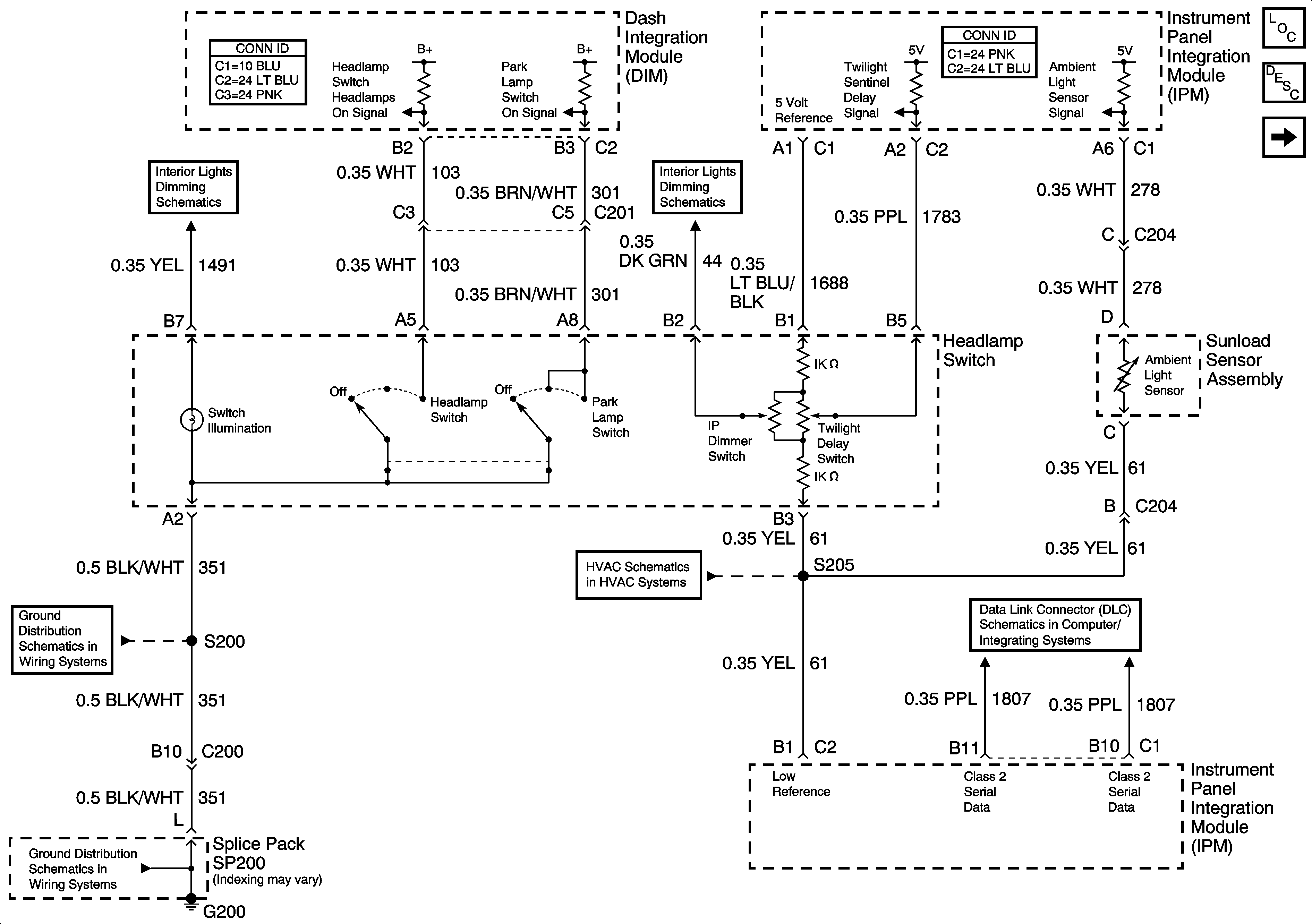
🢒 Headlamp Switch (Domestic)
Headlamp Switch (Domestic)
Headlamp Switch (Domestic)
Master Electrical Component List
Exterior Lighting Systems Description and Operation
Low Beam Headlamps (Domestic)
Instrument Panel Dimming
Dimming Control
G200
Air Temperature and Sunload Sensor
Class 2 Serial Data (1 of 3)
G200