GM Service Manual Online
For 1990-2009 cars only
Makes
🢒
Cadillac
🢒
2005
🢒
DeVille
🢒 Dimming Control
Dimming Control
Dimming Control
Master Electrical Component List
Interior Lighting Systems Description and Operation
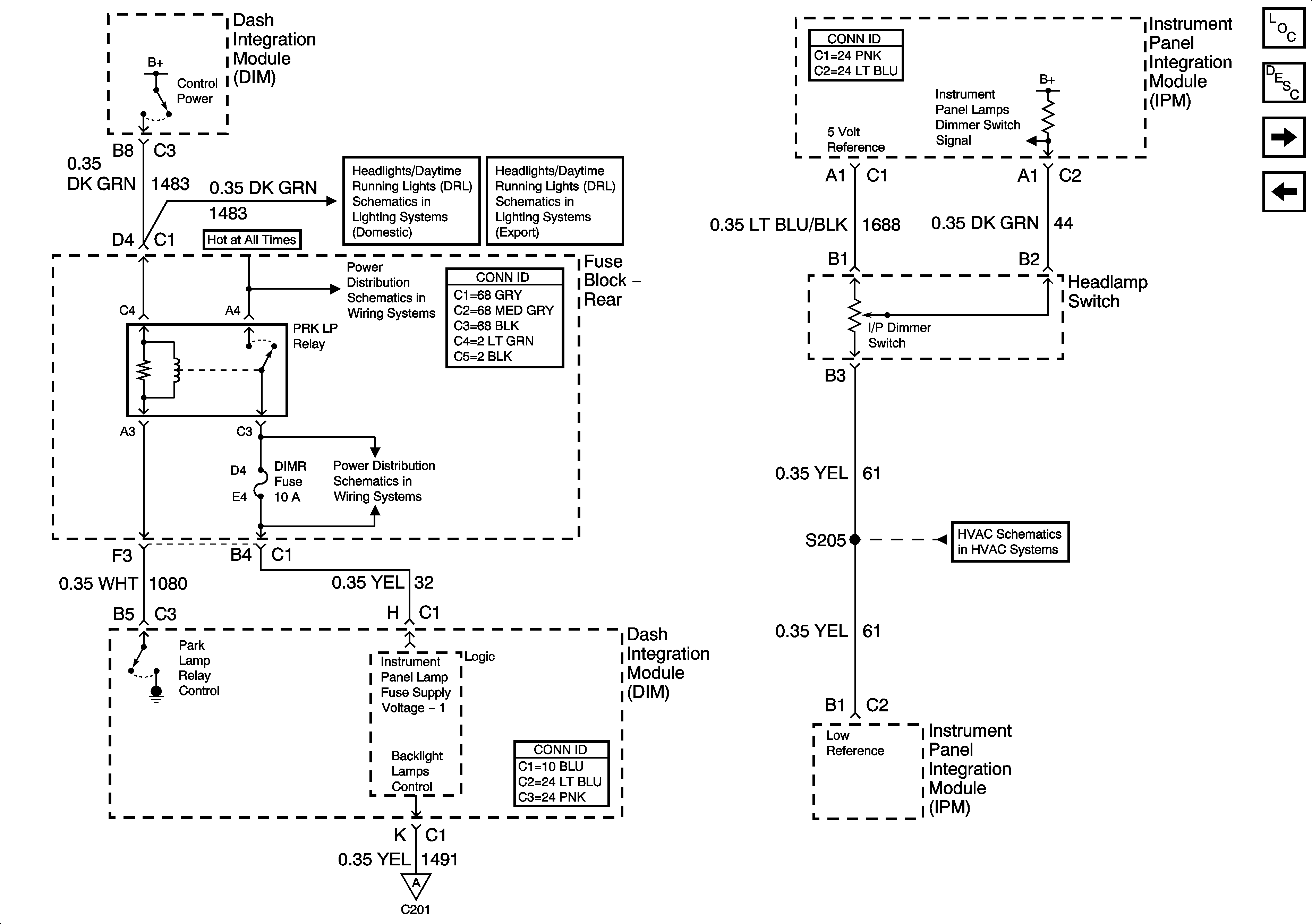
Instrument Panel Dimming
Class 2 Dimming Communication
Low Beam Headlamps (Domestic)
Low Beam Headlamps (Export)
DIMR, LP PK R, and LP PK L Fuses and PRK LP Relay
DIMR, S-DAR,,and AUDIO Fuses
Air Temperature and Sunload Sensor
Instrument Panel Dimming