GM Service Manual Online
For 1990-2009 cars only
Makes
🢒
Cadillac
🢒
2005
🢒
DeVille
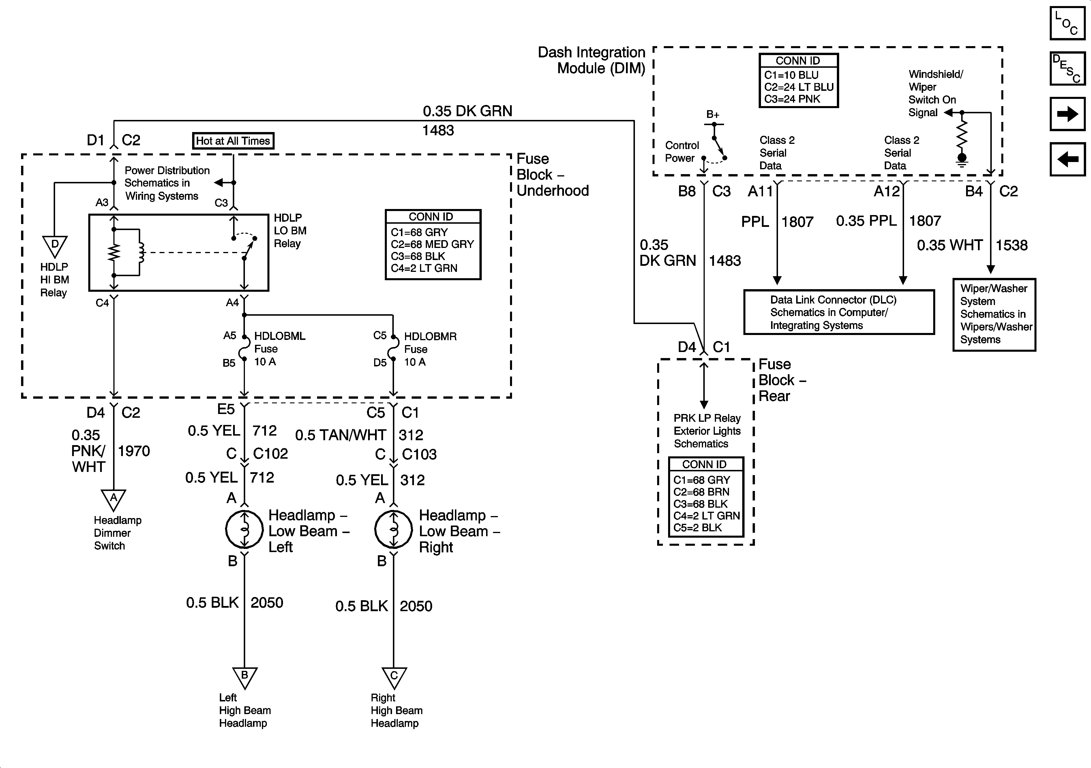
🢒 Low Beam Headlamps (Export)
Low Beam Headlamps (Export)
Low Beam Headlamps (Export)
Master Electrical Component List
Exterior Lighting Systems Description and Operation
High Beam Headlamps (Export)
Headlamp Switch (Export)
High Beam Headlamps (Export)
Underhood Fuse Block Battery Voltage
Class 2 Serial Data (1 of 3)
Wiper/Washer Switch and Pump
High Beam Headlamps (Export)
High Beam Headlamps (Export)
High Beam Headlamps (Export)
Headlamp Switch and Park Lamp Relay