GM Service Manual Online
For 1990-2009 cars only

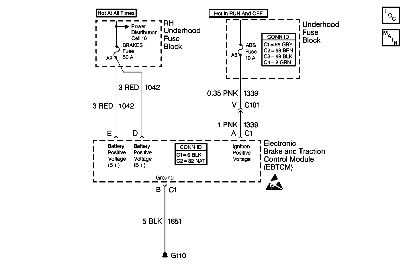
Object Number: 413305  Size: MF
ABS Components
Cell 44: Power, Ground, and ANTILOCK Indicator
Handling ESD Sensitive Parts Notice
Cell 10: Battery

Circuit Description

The class 2 serial data line allows all of the modules on the line to transmit information to each other as needed. Each module is assigned an ID. All of the information sent out on the line is assigned a priority by which it is received. When the ignition is turned ON, each module begins to send and receive information. Each module on the class 2 serial data line knows what information the module needs to send out and what information the module should be receiving. What the modules do not know is which module is supposed to send the information. This information is only learned after the module has received the information needed along with the ID of the module that sent the information. This information is then remembered until the ignition switch is turned off.

Diagnostic Aids

    • Perform a thorough inspection of the wiring and the connectors. Failure to carefully and fully inspect wiring and connectors may result in misdiagnosis, causing part replacement with reappearance of the malfunction.
    • An intermittent malfunction may be caused by poor connections, broken insulation, or a wire that is broken inside the insulation.
    • If an intermittent malfunction exists, refer to Intermittents and Poor Connections .

No Communication with EBCM/EBTCM

Step

Action

Value(s)

Yes

No

DEFINITION: The scan tool can not communicate with the EBTCM.

1

Was the Diagnostic System Check performed?

--

Go to Step 2

Go to Diagnostic System Check

2

Turn the Ignition switch to the RUN position with the engine off.

Can the scan tool communicate with other modules on the Class 2 serial data line, such as the PCM?

--

Go to Step 3

Go to Data Link Connector Schematics in Wiring Systems

3

Inspect the 10A  ABS fuse in the underhood fuse block.

Is the fuse OK?

--

Go to Step 4

Go to Step 9

4

Inspect the 50A BRAKES fuse in the RH underhood fuse block.

Is the fuse OK?

--

Go to Step 12

Go to Step 5

5

  1. Install a new BRAKES fuse.
  2. Reinspect the fuse.

Is the fuse OK?

--

Go to Diagnostic System Check

Go to Step 6

6

  1. Turn the ignition switch to the OFF position.
  2. Remove the BRAKES fuse.
  3. Disconnect the EBTCM connector.
  4. Connect the J 39700 universal pinout box using the J 39700-25 cable adapter to the EBTCM harness connector only.
  5. Using the J 39200 digital multimeter (DMM), measure the resistance between terminal D and terminal B of the J 39700 .

Is the resistance equal to the specified value?

OL (infinite)

Go to Step 7

Go to Step 8

7

Replace the EBTCM. Refer to Electronic Brake Control Module Replacement .

Is the replacement complete?

--

Go to Diagnostic System Check

--

8

Repair CKT 1042 for a short to ground. Refer to Wiring Repairs in Wiring Systems.

Is the repair complete?

--

Go to Diagnostic System Check

--

9

  1. Install a new 10A ABS fuse.
  2. Cycle the ignition switch from the OFF to the RUN position, engine off.
  3. Reinspect the fuse.

Is the fuse OK?

--

Go to Diagnostic System Check

Go to Step 10

10

  1. Turn the ignition switch to the OFF position.
  2. Remove the 10A ABS fuse.
  3. Disconnect the EBTCM connector.
  4. Connect the J 39700 universal pinout box using the J 39700-25 cable adapter to the EBTCM harness connector only.
  5. Using the J 39200 DMM, measure the resistance between terminal A and terminal B of the J 39700 .

Is the resistance equal to the specified value?

OL (infinite)

Go to Step 7

Go to Step 11

11

Repair CKT 1339 for a short to ground. Refer to Wiring Repairs in Wiring Systems.

Is the repair complete?

--

Go to Diagnostic System Check

--

12

  1. Install the fuses if removed.
  2. Turn the ignition switch to the RUN position, engine off.
  3. Using the J 39200 DMM, measure the voltage at the 10A ABS fuse by probing between the fuse test terminals and a good ground.

Is the voltage within the specified range?

Battery Voltage

Go to Step 13

Go to Wiring Repairs in Wiring Systems

13

Using the J 39200 DMM, measure the voltage at the 50A BRAKES fuse by probing between the fuse test terminals and a good ground.

Is the voltage within the specified range?

Battery Voltage

Go to Step 14

Go to Wiring Repairs in Wiring Systems

14

  1. Turn the ignition switch to the OFF position.
  2. Disconnect the EBTCM connector.
  3. Connect the J 39700 universal pinout box using the J 39700-25 cable adapter to the EBTCM harness connector only.
  4. Using the J 39200 DMM, measure the resistance between the J 39700 terminal B and a good ground.

Is the resistance less than the specified value?

2 ohms

Go to Step 16

Go to Step 15

15

Repair CKT 1651 or G110 for an open or high resistance. Refer to Wiring Repairs in Wiring Systems.

Is the repair complete?

--

Go to Diagnostic System Check

--

16

  1. Turn the ignition switch to the RUN position, engine off.
  2. Using the J 39200 DMM, measure the voltage between the J 39700 terminal A and terminal B.

Is the voltage within the specified range?

Battery Voltage

Go to Step 18

Go to Step 17

17

Repair CKT 1339 for an open. Refer to Wiring Repairs in Wiring Systems.

Is the repair complete?

--

Go to Diagnostic System Check

--

18

Using the J 39200 DMM, measure the voltage between the J 39700 terminal D and terminal B.

Is the voltage within the specified range?

Battery Voltage

Go to Step 7

Go to Step 19

19

Repair CKT 1042 for an open. Refer to Wiring Repairs in Wiring Systems.

Is the repair complete?

--

Go to Diagnostic System Check

--