GM Service Manual Online
For 1990-2009 cars only

Object Number: 502399  Size: MF
Body Control Module Components
Cell 51: Body Control Module (PZM) Power and Ground (2 of 2)
Handling ESD Sensitive Parts Notice
Body Control System Connector End Views
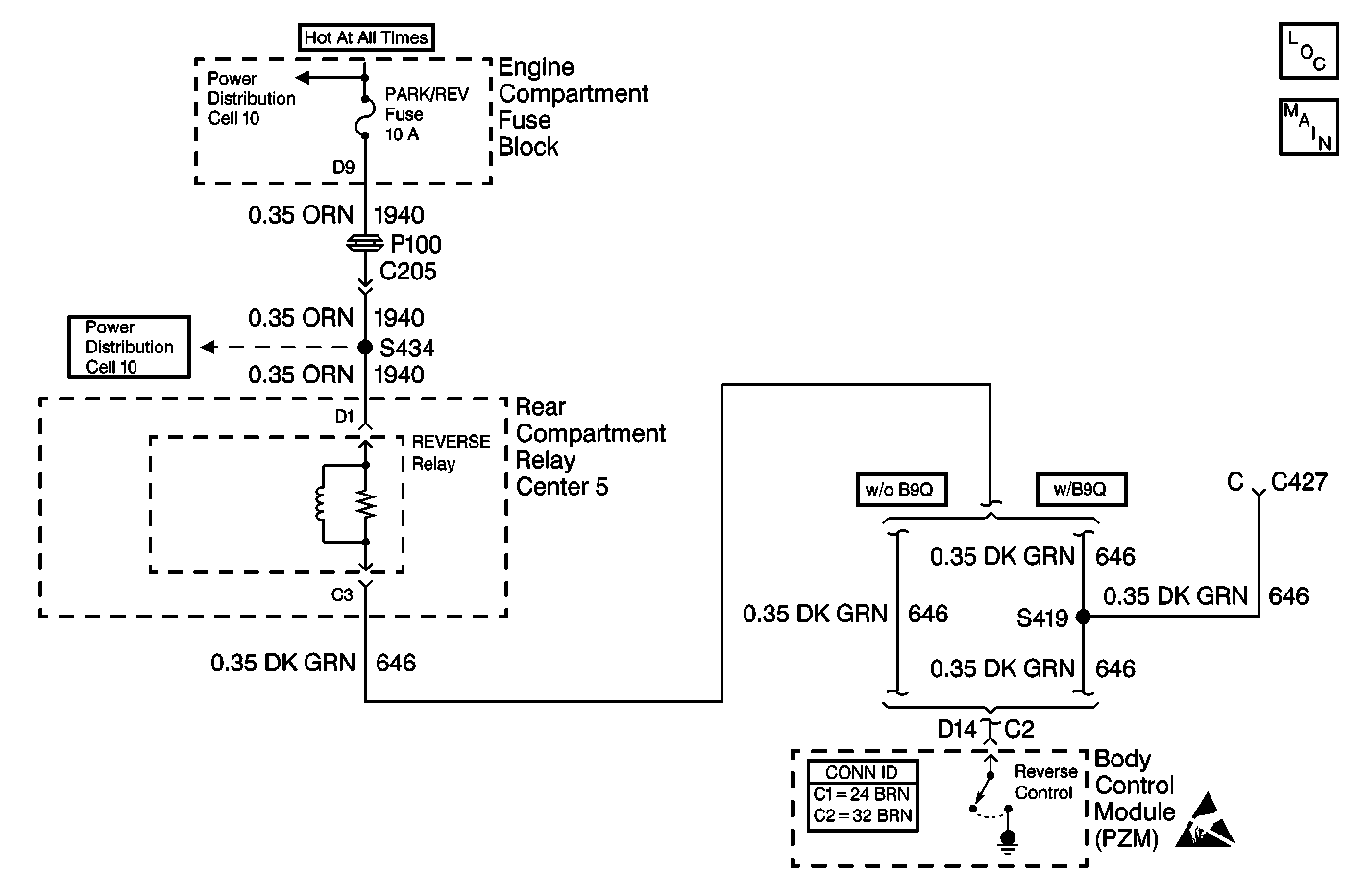
Power Distribution Schematics
Power Distribution Schematics

Circuit Description

When the body control module (PZM) receives a class 2 serial data message that the transaxle is in reverse, the PZM energizes the reverse lamp relay and the backup lamps are turned on. When the PZM has not commanded the backup lamps on, the voltage at connector C2 terminal D14 is measured every 1000 ms.

Conditions for Setting the DTC

The PZM determines the voltage at connector C2 terminal D14 is approximately equal to ground.

Actions Taken When the DTC Sets

The PZM continues to command the state requested until the state is achieved or until the request changes.

Conditions for Clearing the DTC

The PZM determines the voltage at connector C2 terminal D14 is greater than ground for at least 1 monitoring cycle.

Troubleshooting Hints

Test CKT 646 (DK GRN) for a short to ground.

Step

Action

Value(s)

Yes

No

1

Was the Body Control Module Diagnostic System Check performed?

--

Go to Step 2

Go to Diagnostic System Check - Body Control System

2

  1. Disconnect the PZM.
  2. Disconnect the REVERSE relay.
  3. Measure the resistance from the PZM connector C2 terminal D14 to ground.

Is the resistance within the specified range?

0-5 ohms

Go to Step 3

Go to Step 4

3

Repair the short to ground in CKT 646 (DK GRN).

Is the repair complete?

--

Go to Diagnostic System Check - Body Control System

--

4

Replace the PZM. Refer to Body Control Module Replacement .

Is the repair complete?

--

Go to Diagnostic System Check - Body Control System

--