GM Service Manual Online
For 1990-2009 cars only
Figure 1:

Cell 10: Battery


Object Number: 501472  Size: FS
Power and Grounding Components
Cell 10: BATT 3 and BATT 2 Fuses, Ignition Switch
Ground Distribution Schematics
Figure 2:

Cell 10: BATT 3 and BATT 2 Fuses, Ignition Switch


Object Number: 501474  Size: FS
Power and Grounding Components
Cell 10: IGN 1 Fuse
Cell 10: Battery
Figure 3:

Cell 10: IGN 1 Fuse


Object Number: 501475  Size: FS
Power and Grounding Components
Cell 10: BATT 1 and BRAKES Fuses
Cell 10: BATT 3 and BATT 2 Fuses, Ignition Switch
Figure 4:

Cell 10: BATT 1 and BRAKES Fuses


Object Number: 501477  Size: FS
Power and Grounding Components
Cell 10: COOL FANS Fuse
Cell 10: IGN 1 Fuse
Handling ESD Sensitive Parts Notice
Starting and Charging Schematics
Figure 5:

Cell 10: COOL FANS Fuse


Object Number: 501478  Size: FS
Power and Grounding Components
Cell 10: BODY 1 Fuse
Cell 10: BATT 1 and BRAKES Fuses
Cooling Fan Schematics
Figure 6:

Cell 10: BODY 1 Fuse


Object Number: 501481  Size: FS
Power and Grounding Components
Cell 10: BODY 2 Fuse
Cell 10: COOL FANS Fuse
Figure 7:

Cell 10: BODY 2 Fuse


Object Number: 501482  Size: FS
Power and Grounding Components
Cell 10: BODY 3 Fuse
Cell 10: BODY 1 Fuse
Figure 8:

Cell 10: BODY 3 Fuse


Object Number: 501484  Size: FS
Power and Grounding Components
Cell 10: INDVERT Fuse
Cell 10: BODY 2 Fuse
Figure 9:

Cell 10: INDVERT Fuse


Object Number: 501485  Size: FS
Power and Grounding Components
Cell 10: LAMPS Fuse
Cell 10: BODY 3 Fuse
Figure 10:

Cell 10: LAMPS Fuse


Object Number: 501486  Size: FS
Power and Grounding Components
Cell 10: IGN 1 Fuse
Cell 10: INDVERT Fuse
Figure 11:

Cell 10: IGN 1 Fuse


Object Number: 501487  Size: FS
Power and Grounding Components
Cell 10: WINDOWS Circuit Breaker
Cell 10: LAMPS Fuse
Figure 12:

Cell 10: WINDOWS Circuit Breaker


Object Number: 501488  Size: FS
Power and Grounding Components
Cell 10: SEATS Circuit Breaker
Cell 10: IGN 1 Fuse
Handling ESD Sensitive Parts Notice
Figure 13:

Cell 10: SEATS Circuit Breaker


Object Number: 501489  Size: FS
Power and Grounding Components
Cell 10: INT LPS Fuse (1 of 2)
Cell 10: WINDOWS Circuit Breaker
Handling ESD Sensitive Parts Notice
Horn Schematics
Figure 14:

Cell 10: INT LPS Fuse (1 of 2)


Object Number: 501490  Size: FS
Power and Grounding Components
Cell 10: INT LPS Fuse (1 of 2)
Cell 10: SEATS Circuit Breaker
Cell 10: INT LPS Fuse (1 of 2)
Interior Lights Schematics
Figure 15:

Cell 10: INT LPS Fuse (1 of 2)


Object Number: 501491  Size: FS
Cell 10: INT LPS Fuse (1 of 2)
Power and Grounding Components
Cell 10: CIG LTR 1 and CIG LTR 2 Fuses
Cell 10: INT LPS Fuse (1 of 2)
Figure 16:

Cell 10: CIG LTR 1 and CIG LTR 2 Fuses


Object Number: 501493  Size: FS
Power and Grounding Components
Cell 10: MIRROR, FOG, and DRL Fuses
Cell 10: INT LPS Fuse (1 of 2)
Figure 17:

Cell 10: MIRROR, FOG, and DRL Fuses


Object Number: 501506  Size: FS
Power and Grounding Components
Cell 10: CIG LTR 1 and CIG LTR 2 Fuses
Handling ESD Sensitive Parts Notice
Fog Lights Schematics
Headlights Schematics
Body Control System Schematics
Figure 18:

Cell 10: INJ Fuses


Object Number: 501507  Size: FS
Power and Grounding Components
Cell 10: STOP, HAZARD, CNR LP, and IGN 0 (ENG) Fuses
Cell 10: MIRROR, FOG, and DRL Fuses
Figure 19:

Cell 10: STOP, HAZARD, CNR LP, and IGN 0 (ENG) Fuses


Object Number: 501508  Size: FS
Power and Grounding Components
Cell 10: FUEL PUMP, OXY SEN 1, and OXY SEN 2 Fuses
Cell 10: INJ Fuses
Handling ESD Sensitive Parts Notice
Figure 20:

Cell 10: FUEL PUMP, OXY SEN 1, and OXY SEN 2 Fuses


Object Number: 501509  Size: FS
Power and Grounding Components
Cell 10: ABS and IGN 1 Fuses
Cell 10: STOP, HAZARD, CNR LP, and IGN 0 (ENG) Fuses
Engine Controls Schematics
Figure 21:

Cell 10: ABS and IGN 1 Fuses


Object Number: 501510  Size: FS
Power and Grounding Components
Cell 10: ECS Fuse
Cell 10: FUEL PUMP, OXY SEN 1, and OXY SEN 2 Fuses
Handling ESD Sensitive Parts Notice
Figure 22:

Cell 10: ECS Fuse


Object Number: 501512  Size: FS
Power and Grounding Components
Cell 10: PARK/REV Fuse
Cell 10: ABS and IGN 1 Fuses
Handling ESD Sensitive Parts Notice
Figure 23:

Cell 10: PARK/REV Fuse


Object Number: 501513  Size: FS
Power and Grounding Components
Cell 10: CRUISE, DIS, and PCM (IGN) Fuses
Cell 10: ECS Fuse
Figure 24:

Cell 10: CRUISE, DIS, and PCM (IGN) Fuses


Object Number: 501514  Size: FS
Power and Grounding Components
Cell 10: PCM (BAT) and A/C COMP Fuses
Cell 10: PARK/REV Fuse
Handling ESD Sensitive Parts Notice
Handling ESD Sensitive Parts Notice
Handling ESD Sensitive Parts Notice
Figure 25:

Cell 10: PCM (BAT) and A/C COMP Fuses


Object Number: 501517  Size: FS
Power and Grounding Components
Cell 10: CONVENIENCE Fuse
Cell 10: CRUISE, DIS, and PCM (IGN) Fuses
Handling ESD Sensitive Parts Notice
Cooling Fan Schematics
Figure 26:

Cell 10: CONVENIENCE Fuse


Object Number: 501520  Size: FS
Power and Grounding Components
Cell 10: WIPERS, ACC, and CLUSTER Fuses
Cell 10: PCM (BAT) and A/C COMP Fuses
Ground Distribution Schematics
Door Lock/Indicator Schematics
Door Lock/Indicator Schematics
Door Lock/Indicator Schematics
Door Lock/Indicator Schematics
Ground Distribution Schematics
Release Systems Schematics
Door Lock/Indicator Schematics
Figure 27:

Cell 10: WIPERS, ACC, and CLUSTER Fuses


Object Number: 501522  Size: FS
Power and Grounding Components
Cell 10: ELC Circuit Breaker and ELC Fuse
Cell 10: CONVENIENCE Fuse
Ground Distribution Schematics
Handling ESD Sensitive Parts Notice
Handling ESD Sensitive Parts Notice
Handling ESD Sensitive Parts Notice
Handling ESD Sensitive Parts Notice
Figure 28:

Cell 10: ELC Circuit Breaker and ELC Fuse


Object Number: 501524  Size: FS
Power and Grounding Components
Cell 10: IGN 0 - BODY Fuse (Eldorado)
Cell 10: WIPERS, ACC, and CLUSTER Fuses
Cell 10: IGN 0 - BODY Fuse (Eldorado)
Cell 10: IGN 0 - BODY Fuse (DeVille)
Automatic Level Control Schematics
Automatic Level Control Schematics
Figure 29:

Cell 10: IGN 0 - BODY Fuse (Eldorado)


Object Number: 501527  Size: FS
Power and Grounding Components
Cell 10: IGN 0 - BODY Fuse (DeVille)
Cell 10: ELC Circuit Breaker and ELC Fuse
Handling ESD Sensitive Parts Notice
Cell 10: ELC Circuit Breaker and ELC Fuse
Defogger Schematics
Figure 30:

Cell 10: IGN 0 - BODY Fuse (DeVille)


Object Number: 501529  Size: FS
Power and Grounding Components
Cell 10: PULLDOWN, HTD SEAT R, and HTD SEAT L Fuses
Cell 10: IGN 0 - BODY Fuse (Eldorado)
Handling ESD Sensitive Parts Notice
Cell 10: ELC Circuit Breaker and ELC Fuse
Defogger Schematics
Figure 31:

Cell 10: PULLDOWN, HTD SEAT R, and HTD SEAT L Fuses


Object Number: 501531  Size: FS
Power and Grounding Components
Cell 10: BATT Fuse
Cell 10: IGN 0 - BODY Fuse (DeVille)
Handling ESD Sensitive Parts Notice
Handling ESD Sensitive Parts Notice
Figure 32:

Cell 10: BATT Fuse


Object Number: 501534  Size: FS
Power and Grounding Components
Cell 10: SIR, RSS, and TURN Fuses
Cell 10: PULLDOWN, HTD SEAT R, and HTD SEAT L Fuses
Handling ESD Sensitive Parts Notice
Figure 33:

Cell 10: SIR, RSS, and TURN Fuses


Object Number: 501537  Size: FS
Power and Grounding Components
Cell 10: RLY IGN 1 Fuse
Cell 10: BATT Fuse
Handling ESD Sensitive Parts Notice
SIR Caution
SIR Caution
SIR Caution
Figure 34:

Cell 10: RLY IGN 1 Fuse


Object Number: 501539  Size: FS
Power and Grounding Components
Cell 10: CONSOLE Fuse
Cell 10: SIR, RSS, and TURN Fuses
Handling ESD Sensitive Parts Notice
Handling ESD Sensitive Parts Notice
Figure 35:

Cell 10: CONSOLE Fuse


Object Number: 501541  Size: FS
Power and Grounding Components
Cell 10: COMFORT Fuse
Cell 10: RLY IGN 1 Fuse
Figure 36:

Cell 10: COMFORT Fuse


Object Number: 501544  Size: FS
Power and Grounding Components
Cell 10: ANTENNA, HTD MIR, RSS, and HTD BACKLT Fuses
Cell 10: CONSOLE Fuse
Handling ESD Sensitive Parts Notice
Handling ESD Sensitive Parts Notice
Handling ESD Sensitive Parts Notice
Handling ESD Sensitive Parts Notice
Figure 37:

Cell 10: ANTENNA, HTD MIR, RSS, and HTD BACKLT Fuses


Object Number: 501545  Size: FS
Power and Grounding Components
Cell 10: RSS, PZM, and AMP Fuses
Cell 10: COMFORT Fuse
Power Antenna Schematics
Figure 38:

Cell 10: RSS, PZM, and AMP Fuses


Object Number: 501548  Size: FS
Power and Grounding Components
Cell 10: RT PARK Fuse (DeVille)
Cell 10: ANTENNA, HTD MIR, RSS, and HTD BACKLT Fuses
Handling ESD Sensitive Parts Notice
Figure 39:

Cell 10: RT PARK Fuse (DeVille)


Object Number: 501552  Size: FS
Power and Grounding Components
Cell 10: RT PARK Fuse (Eldorado)
Cell 10: RSS, PZM, and AMP Fuses
Figure 40:

Cell 10: RT PARK Fuse (Eldorado)


Object Number: 501553  Size: FS
Power and Grounding Components
Cell 10: LT PARK Fuse (DeVille)
Cell 10: RT PARK Fuse (DeVille)
Figure 41:

Cell 10: LT PARK Fuse (DeVille)


Object Number: 501554  Size: FS
Power and Grounding Components
Cell 10: LT PARK Fuse (Eldorado)
Cell 10: RT PARK Fuse (Eldorado)
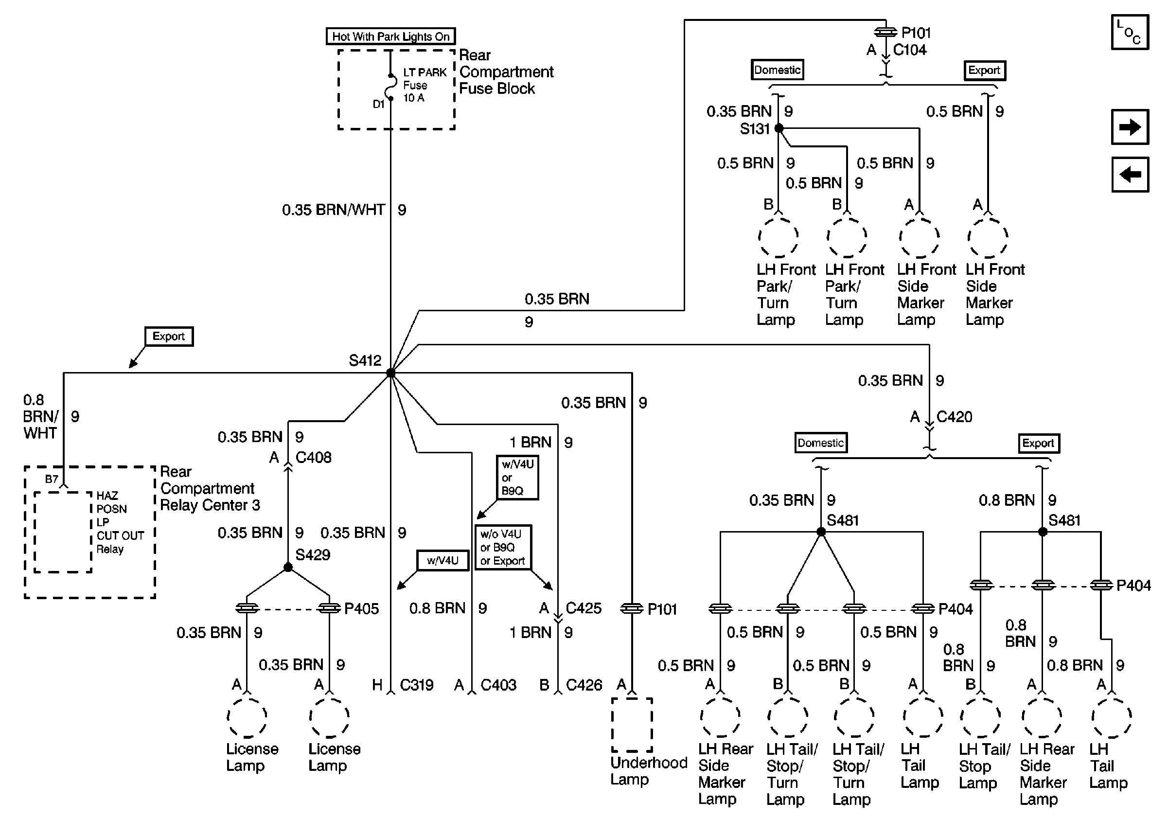
Figure 42:

Cell 10: LT PARK Fuse (Eldorado)


Object Number: 501556  Size: FS
Power and Grounding Components
Cell 10: RADIO/PHONE Fuse
Cell 10: LT PARK Fuse (DeVille)
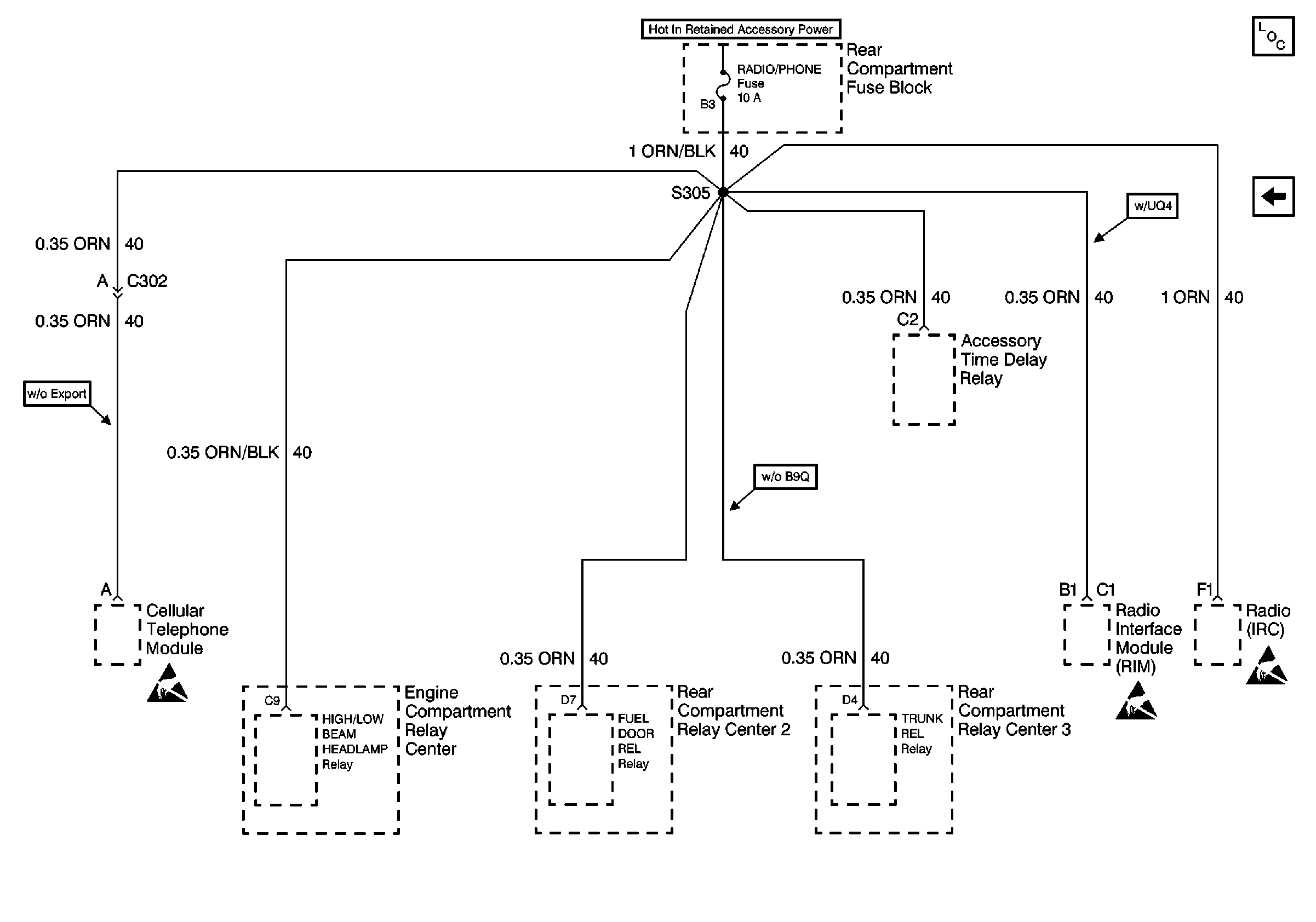
Figure 43:

Cell 10: RADIO/PHONE Fuse


Object Number: 501557  Size: FS
Power and Grounding Components
Cell 10: LT PARK Fuse (Eldorado)
Handling ESD Sensitive Parts Notice
Handling ESD Sensitive Parts Notice
Handling ESD Sensitive Parts Notice