GM Service Manual Online
For 1990-2009 cars only
Makes
🢒
Cadillac
🢒
1998
🢒
Eldorado
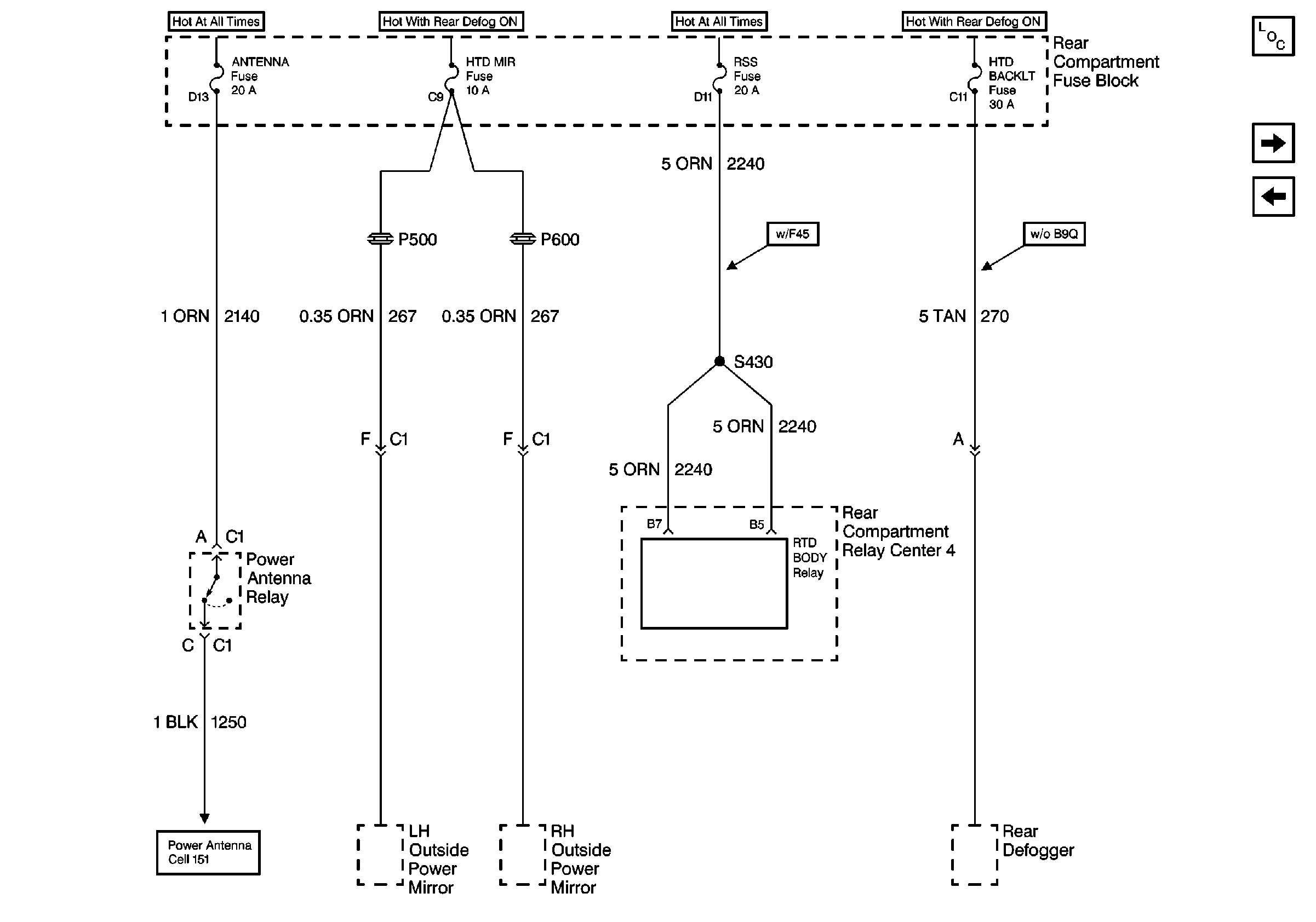
🢒 Cell 10: ANTENNA, HTD MIR, RSS, and HTD BACKLT Fuses
Cell 10: ANTENNA, HTD MIR, RSS, and HTD BACKLT Fuses
Cell 10: ANTENNA, HTD MIR, RSS, and HTD BACKLT Fuses
Power and Grounding Components
Cell 10: RSS, PZM, and AMP Fuses
Cell 10: COMFORT Fuse
Power Antenna Schematics