GM Service Manual Online
For 1990-2009 cars only
Figure 1:

Cell 51: Body Control Module (PZM) Power and Ground (1 of 2)


Object Number: 502315  Size: FS
Body Control Module Components
Body Control System Description
Cell 51: Body Control Module (PZM) Power and Ground (2 of 2)
Power Distribution Schematics
Power Distribution Schematics
Power Distribution Schematics
Ground Distribution Schematics
Power Distribution Schematics
Defogger Schematics
Body Control System Connector End Views
Handling ESD Sensitive Parts Notice
Garage Door Opener Schematics
Ground Distribution Schematics
Figure 2:

Cell 51: Body Control Module (PZM) Power and Ground (2 of 2)


Object Number: 502317  Size: FS
Power Distribution Schematics
Body Control System Connector End Views
Data Link Connector Schematics
Data Link Connector Schematics
Horn Schematics
Power Distribution Schematics
Power Distribution Schematics
Power Distribution Schematics
Handling ESD Sensitive Parts Notice
Power Distribution Schematics
Body Control Module Components
Body Control System Description
Cell 51: Controlled Power Circuits
Cell 51: Body Control Module (PZM) Power and Ground (1 of 2)
Power Distribution Schematics
Power Distribution Schematics
Power Distribution Schematics
Power Distribution Schematics
Figure 3:

Cell 51: Controlled Power Circuits


Object Number: 502323  Size: FS
Power Distribution Schematics
Power Distribution Schematics
Retained Accessory Power (RAP) Schematics
Cell 51: Body Control Module (PZM), Inputs and Outputs(1 of 2)
Cell 51: Body Control Module (PZM) Power and Ground (2 of 2)
Body Control Module Components
Body Control System Description
Power Distribution Schematics
Power Distribution Schematics
Power Distribution Schematics
Retained Accessory Power (RAP) Schematics
Handling ESD Sensitive Parts Notice
Body Control System Connector End Views
Figure 4:

Cell 51: Body Control Module (PZM), Inputs and Outputs (1 of 2)


Object Number: 502327  Size: FS
Body Control Module Components
Body Control System Description
Cell 51: Body Control Module (PZM), Inputs and Outputs (2 of 2)
Cell 51: Controlled Power Circuits
Handling ESD Sensitive Parts Notice
Door Lock/Indicator Schematics
Door Lock/Indicator Schematics
Door Lock/Indicator Schematics
Door Lock/Indicator Schematics
Body Control System Connector End Views
Interior Lights Schematics
Exterior Lights Schematics
Exterior Lights Schematics
Exterior Lights Schematics
Exterior Lights Schematics
Fog Lights Schematics
Fog Lights Schematics
Headlights Schematics
Headlights Schematics
Headlights Schematics
Headlights Schematics
Headlights Schematics
Headlights Schematics
Headlights Schematics
Headlights Schematics
Headlights Schematics
Headlights Schematics
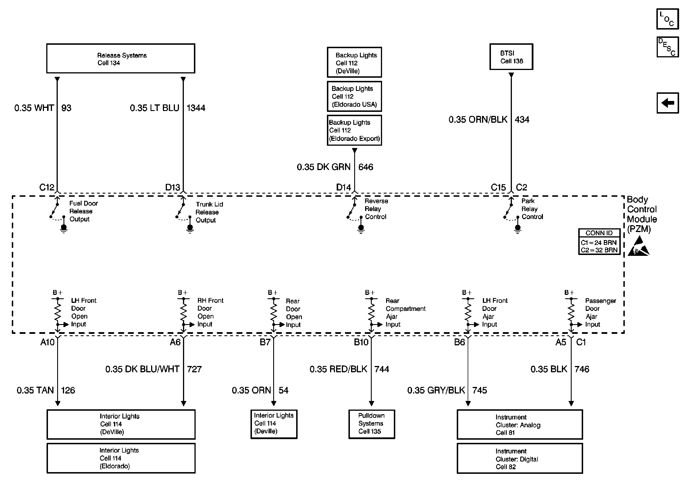
Figure 5:

Cell 51: Body Control Module (PZM), Inputs and Outputs (2 of 2)


Object Number: 502329  Size: FS
Release Systems Schematics
Backup Lamp Schematics
Backup Lamp Schematics
Backup Lamp Schematics
Body Control Module Components
Body Control System Description
Cell 51: Body Control Module (PZM), Inputs and Outputs(1 of 2)
Tilt Wheel/Column Schematic Icons
Body Control System Connector End Views
Handling ESD Sensitive Parts Notice
Interior Lights Schematics
Interior Lights Schematics
Interior Lights Schematics
Pulldown Systems Schematics
Instrument Cluster: Analog Schematics