GM Service Manual Online
For 1990-2009 cars only
Makes
🢒
Cadillac
🢒
1998
🢒
Eldorado
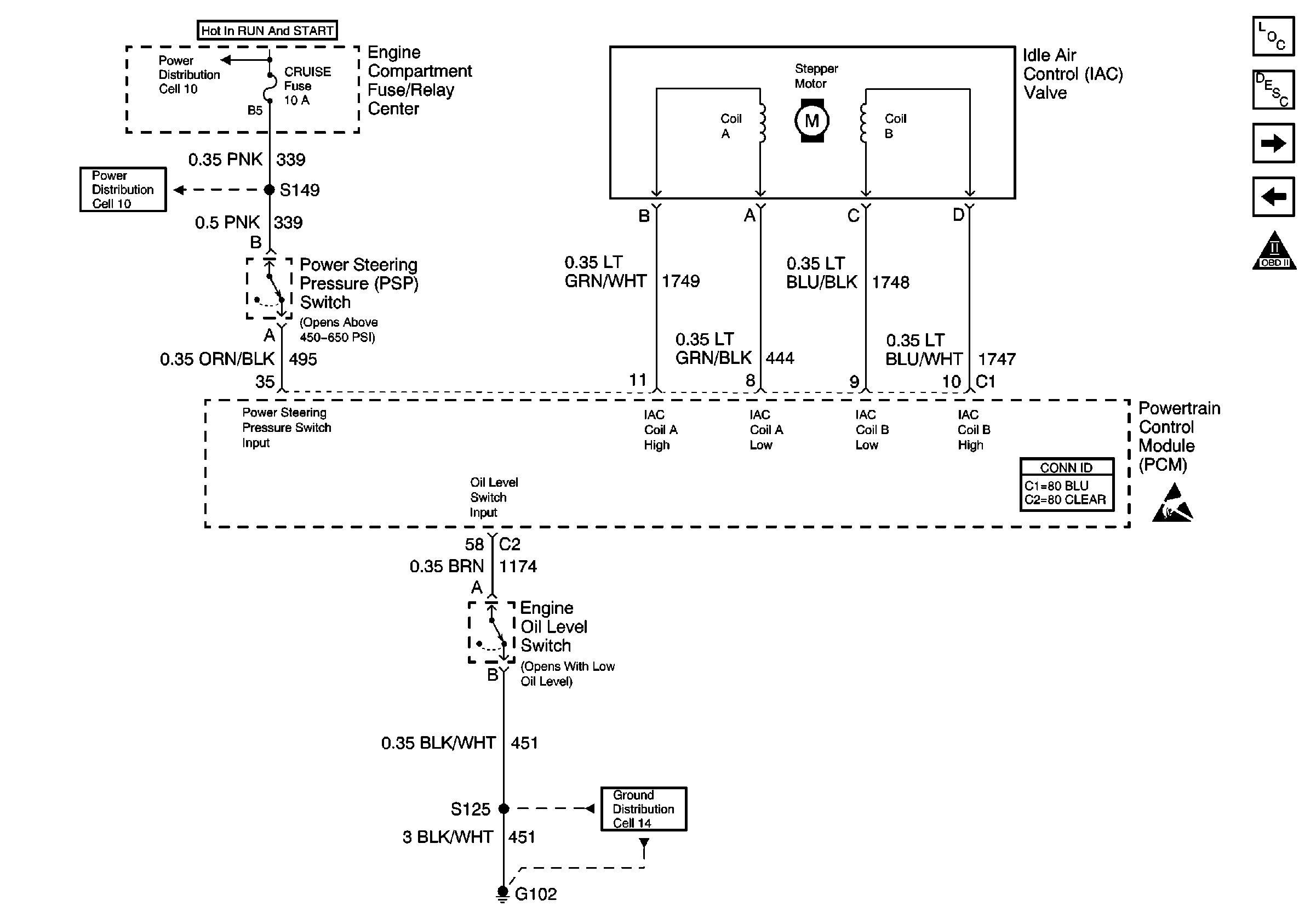
🢒 Cell 20: IAC Valve and PSP, Oil Level Switches
Cell 20: IAC Valve and PSP, Oil Level Switches
Cell 20: IAC Valve and PSP, Oil Level Switches
Engine Controls Component Views
Powertrain Control Module Description
Cell 20: Vehicle Speed Output and Cruise Control Module
Cell 20: Heated Oxygen Sensors (Later Production)
OBD II Symbol Description Notice
Engine Controls Schematic References
Engine Controls Schematic References
Powertrain Control Module Connector End Views
Handling ESD Sensitive Parts Notice
Engine Controls Schematic References