GM Service Manual Online
For 1990-2009 cars only
Makes
🢒
Cadillac
🢒
1998
🢒
Eldorado
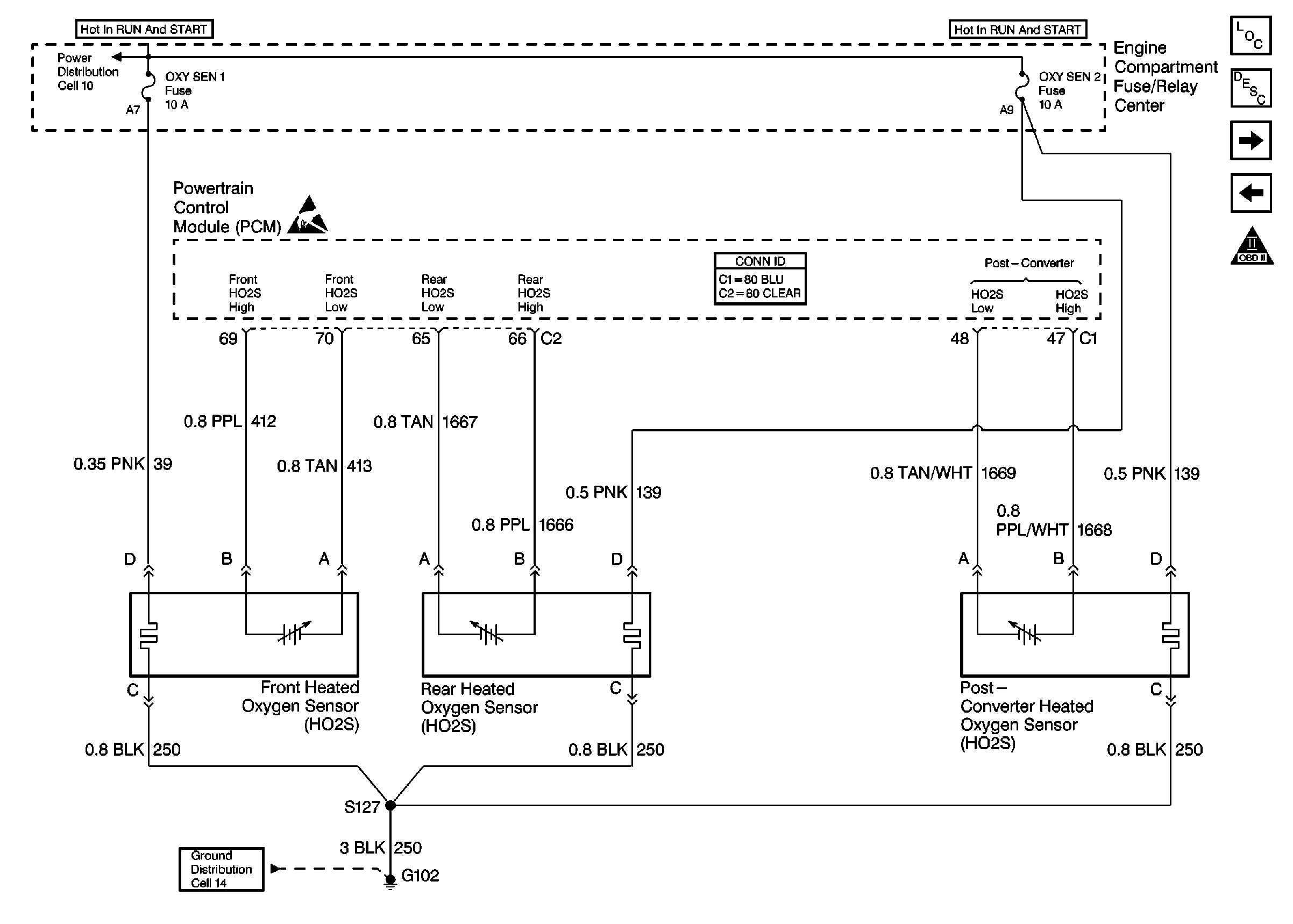
🢒 Cell 20: Heated Oxygen Sensors (Later Production)
Cell 20: Heated Oxygen Sensors (Later Production)
Cell 20: Heated Oxygen Sensors (Later Production)
Engine Controls Component Views
Powertrain Control Module Description
Cell 20: IAC Valve and PSP, Oil Level Switches
Cell 20: Heated Oxygen Sensors (Early Production)
OBD II Symbol Description Notice
Engine Controls Schematic References
Handling ESD Sensitive Parts Notice
Powertrain Control Module Connector End Views
Engine Controls Schematic References