GM Service Manual Online
For 1990-2009 cars only

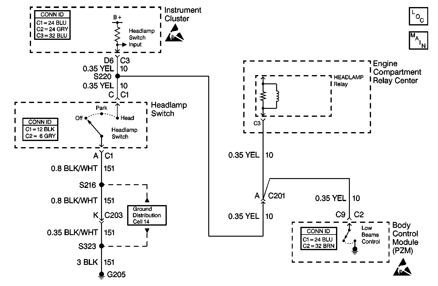
Object Number: 502387  Size: MF
Handling ESD Sensitive Parts Notice
Body Control Module Components
Cell 51: Body Control Module (PZM) Power and Ground (2 of 2)
Handling ESD Sensitive Parts Notice
Body Control System Connector End Views
Ground Distribution Schematics
Lighting Systems Connector End Views
Instrument Panel, Gages, and Console Connector End Views

Circuit Description

The body control module (PZM) may command the low beams through a discrete output to the low beam relay. Grounding this output also grounds the headlamps input to the instrument cluster.

Conditions for Setting the DTC

A short to ground is tested for under the following conditions:

    • The exterior lamp power is active.
    • The low beam output is inactive.
    • The headlamp switch is not active.
    • DTC B1970 is not active.

A short to the battery is tested for under the following conditions:

    • The exterior lamp power is active.
    • The low beam output is active.
    • DTC B1970 is not active.

Action Taken When the DTC Sets

The PZM continues to command the state requested until the state is achieved or changed.

Conditions for Clearing the DTC

The commanded state matches the feedback state.

Step

Action

Value(s)

Yes

No

1

Was the Body Control Module Diagnostic System Check performed?

--

Go to Step 2

Go to Diagnostic System Check - Body Control System

2

  1. Connect the a scan tool to the vehicle.
  2. Turn ON the ignition switch.
  3. Turn OFF the headlamp switch.
  4. Use the scan tool in order to switch the low beams ON then OFF.

Are the headlamps OFF?

--

Go to Step 3

Go to Step 4

3

Turn the headlamp switch ON.

Are the headlamps on?

--

Go to Step 5

Go to Step 6

4

  1. Disconnect connector C201.
  2. Use the scan tool in order to command the low beams OFF.

Are the headlamps OFF?

--

Go to Step 7

Go to Step 10

5

Cycle the ignition.

Is DTC B2472 now set as a history code?

--

Go to Step 11

Go to Step 10

6

Test for an open in CKT 10 (YEL).

Was an open found?

--

Go to Step 16

Go to Step 15

7

  1. Disconnect the headlamp switch.
  2. Measure the resistance from the headlamp switch connector C1 terminal C (YEL) to ground.

Is the resistance within the specified range?

0-5 ohms

Go to Step 8

Go to Step 9

8

Test for a short to ground in CKT 10 (YEL).

Was a short found?

--

Go to Step 16

Go to Step 13

9

Replace the headlamp switch. Refer to Headlamp Switch Replacement in Lighting Systems.

Is the repair complete?

--

Go to Diagnostic System Check - Body Control System

--

10

Test for an open in CKT 10 (YEL).

Was an open found?

--

Go to Step 16

Go to Step 14

11

Repair the intermittent short to voltage in CKT 10 (YEL).

Is the repair complete?

--

Go to Diagnostic System Check - Body Control System

--

12

Replace the headlamp relay.

Is the repair complete?

--

Go to Diagnostic System Check - Body Control System

--

13

Replace the IPC. Refer to Instrument Cluster Replacement in Instrument Panel, Gauges and Console.

Is the repair complete?

--

Go to Diagnostic System Check - Body Control System

--

14

Replace the PZM. Refer to Body Control Module Replacement .

Is the repair complete?

--

Go to Diagnostic System Check - Lighting Systems

--

15

Test for an open in CKT 352 (WHT).

Was an open found?

--

Go to Step 17

Go to Step 12

16

Repair the open or the short in CKT 10 (YEL).

Is the repair complete?

--

Go to Diagnostic System Check - Body Control System

--

17

Repair the open in CKT 352 (WHT).

Is the repair complete?

--

Go to Diagnostic System Check - Body Control System

--