GM Service Manual Online
For 1990-2009 cars only

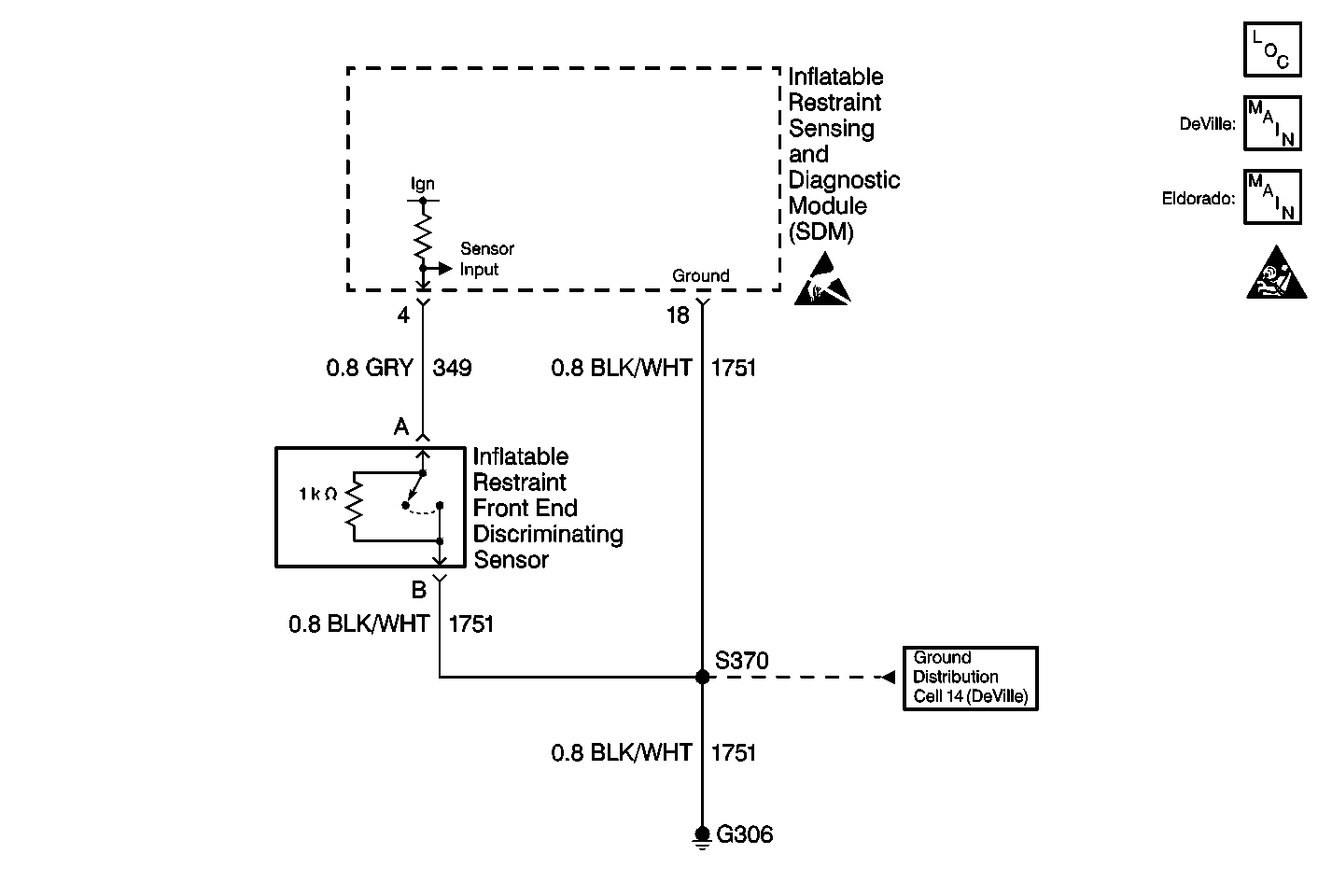
Object Number: 381189  Size: MF
SIR Components
SIR Schematics DeVille
SIR Schematics Eldorado
SIR Caution
Handling ESD Sensitive Parts Notice
Ground Distribution Schematics

Circuit Description

When you first turn the ignition switch to the RUN position, the inflatable restraint sensing and diagnostic module (SDM) performs tests in order to diagnose critical malfunctions within the module. Next the SDM measures the ignition positive voltage, 23 VLR and the deployment loop voltages ensure that they are within their respective normal voltage ranges. Then the SDM proceeds to CONTINUOUS MONITORING. The SDM contains a resistor network connected to 5 volts, ground, and to the SDM front end sensor feed terminal 4. The 1.0 K ohms resistor in the inflatable restraint front end discriminating sensor parallel to the normally open switch provides a parallel path to ground. This causes a specified percentage of voltage in order to appear at the SDM front end sensor feed input. The SDM monitors this voltage in order to detect shorts to ground or a closed discriminating sensor.

Conditions for Setting the DTC

    • The SDM is configured for an inflatable restraint front end discriminating sensor
    • The voltage at front end sensor feed terminal 4 is less than 0.7 volts for 500 milliseconds.

The CONTINUOUS MONITORING test checks for this DTC. This test occurs when Ignition Positive Voltage is within the normal operating voltage range.

Action Taken When the DTC Sets

    • The SDM sets a diagnostic trouble code.
    • The SDM commands the instrument panel cluster (IPC) to turn ON the AIR BAG warning lamp.

Conditions for Clearing the MIL/DTC

    • Current DTC-The voltage at front end sensor feed terminal 4 is more than 0.7 volts for 500 milliseconds.
    • History DTC
       - You issue a scan tool CLEAR CODES command.
       - 250 malfunction free ignition cycles occur.

Diagnostic Aids

A short-to-ground in the inflatable restraint front end discriminating sensor circuit may cause an intermittent condition. Inspect CKT 349 carefully for cutting or chafing.

When measurements are requested in this table, use J 39200 Digital Multimeter with the correct terminal adapter from J 35616 Connector Test Adapter Kit. When a check for proper connection is requested, refer to Intermittents and Poor Connections . When a wire, connector or terminal repair is requested, use J-38125 Terminal Repair Kit and refer to Wiring Repair .

Test Description

The numbers below refer to the step numbers on the diagnostic table:

  1. This test checks for a malfunctioning discriminating sensor.

  2. This test checks for a short-to-ground in CKT 349.

DTC B1135 Discriminating Sensor Circuit Closed or Short to Ground

Step

Action

Value(s)

Yes

No

1

Was the SIR Diagnostic System Check performed?

--

Go to Step 2

Go to SIR Diagnostic System Check

2

  1. Turn the ignition switch OFF.
  2. Disconnect the inflatable restraint front end discriminating sensor.
  3. Measure the resistance between the sensor terminals A and B.

Is the resistance reading more than the specified value?

950 ohms

Go to Step 4

Go to Step 3

3

Replace the inflatable restraint front end discriminating sensor. Refer to Inflatable Restraint Front End Discriminating Sensor Replacement .

Have the repairs been completed?

--

Go to Step 8

--

4

  1. Disable the frontal SIR and side air bag systems. Refer to Disabling the SIR System .
  2. Disconnect the inflatable restraint sensing and diagnostic module (SDM). Refer to Inflatable Restraint Sensing and Diagnostic Module Replacement .
  3. Measure the resistance from the sensor harness connector terminal A to ground.

Is the resistance reading less than the specified value?

OL

Go to Step 5

Go to Sensing and Diagnostic Module Integrity Check

5

Repair a short-to-ground condition in CKT 349.

Have the repairs been completed?

--

Go to Step 6

--

6

Reconnect all the SIR system components, make sure all the components are properly mounted.

Have all the SIR components been reconnected and properly mounted?

--

Go to Step 7

--

7

Enable the frontal SIR and side air bag systems. Refer to Enabling the SIR System .

Have the repairs been completed?

--

Go to Step 9

--

8

Reconnect all the SIR system components, make sure all the components are properly mounted.

Have all the SIR components been reconnected and properly mounted?

--

Go to Step 9

--

9

Clear all the SIR DTCs.

Have all the SIR DTCs been cleared?

--

Go to SIR Diagnostic System Check

--