GM Service Manual Online
For 1990-2009 cars only

Removal Procedure


    Object Number: 258867  Size: SH
  1. Lower the rear of the headliner to gain access to the sunroof express module. Refer to Headlining Trim Panel Replacement in Interior Trim.
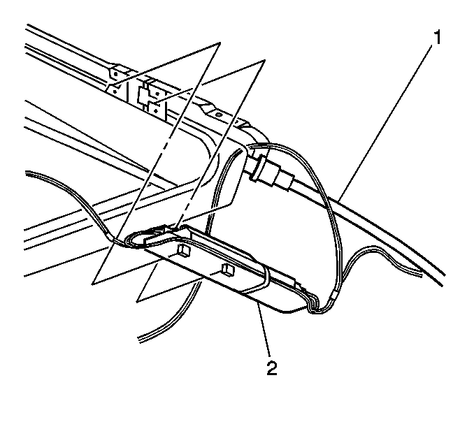
  2. Depress the tab on the side of the sunroof express module (2).
  3. With the tab on the side depressed, slide the sunroof express module towards the sunroof motor to release the express module from the sunroof module.
  4. Remove the sunroof express module from the sunroof module.
  5. Disconnect the electrical connectors.
  6. Remove the module.

Installation Procedure


    Object Number: 258867  Size: SH
  1. Connect the electrical connectors to the sunroof express module.
  2. Insert the sunroof express module (2) tabs into the sunroof module slots.
  3. Slide the sunroof express module away from the sunroof motor until it is fully engaged.
  4. Important: Test for proper operation of the sunroof before installing the headliner.

  5. Install the headliner. Refer to Headlining Trim Panel Replacement in Interior Trim.