GM Service Manual Online
For 1990-2009 cars only
Makes
🢒
Cadillac
🢒
1999
🢒
Eldorado
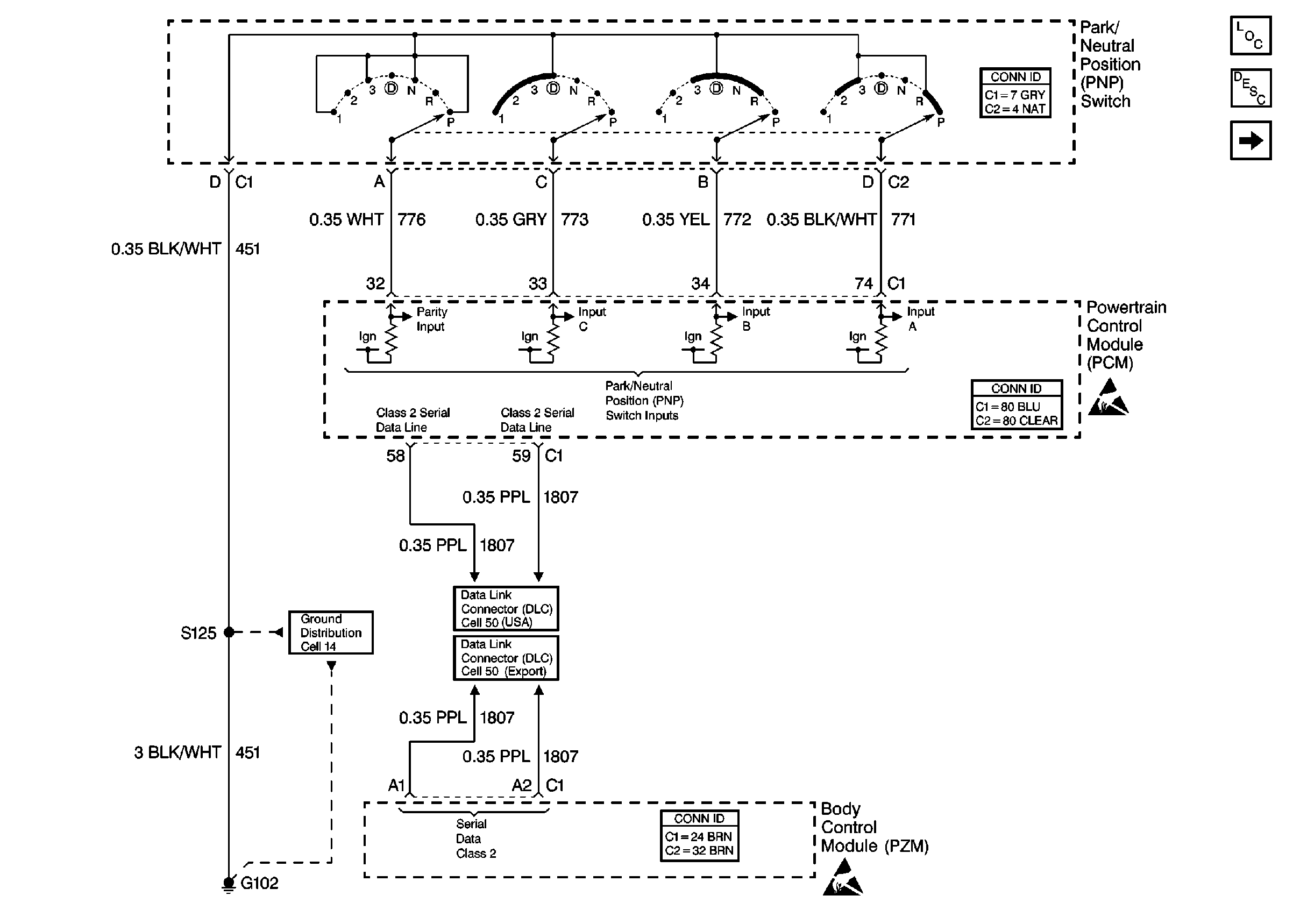
🢒 Cell 138: Park/Neutral Position (PNP) Switch
Cell 138: Park/Neutral Position (PNP) Switch
Cell 138: Park/Neutral Position (PNP) Switch
Tilt Wheel/Column Components
Automatic Transmission Shift Lock Control Circuit Description
Cell 138: Shift Interlock Actuator
Handling ESD Sensitive Parts Notice
Powertrain Control Module Connector End Views
Handling ESD Sensitive Parts Notice
Body Control System Connector End Views
Cell 50: Power, Ground and Class 2
Cell 50: Power, Ground and Class 2 (Export)
Ground Distribution Schematics