GM Service Manual Online
For 1990-2009 cars only
Makes
🢒
Cadillac
🢒
2000
🢒
Eldorado
🢒
Steering
🢒
Variable Effort Steering
🢒 Steering Assist Schematics
Steering Controls Components
Variable Effort Steering Description
Handling ESD Sensitive Parts Notice
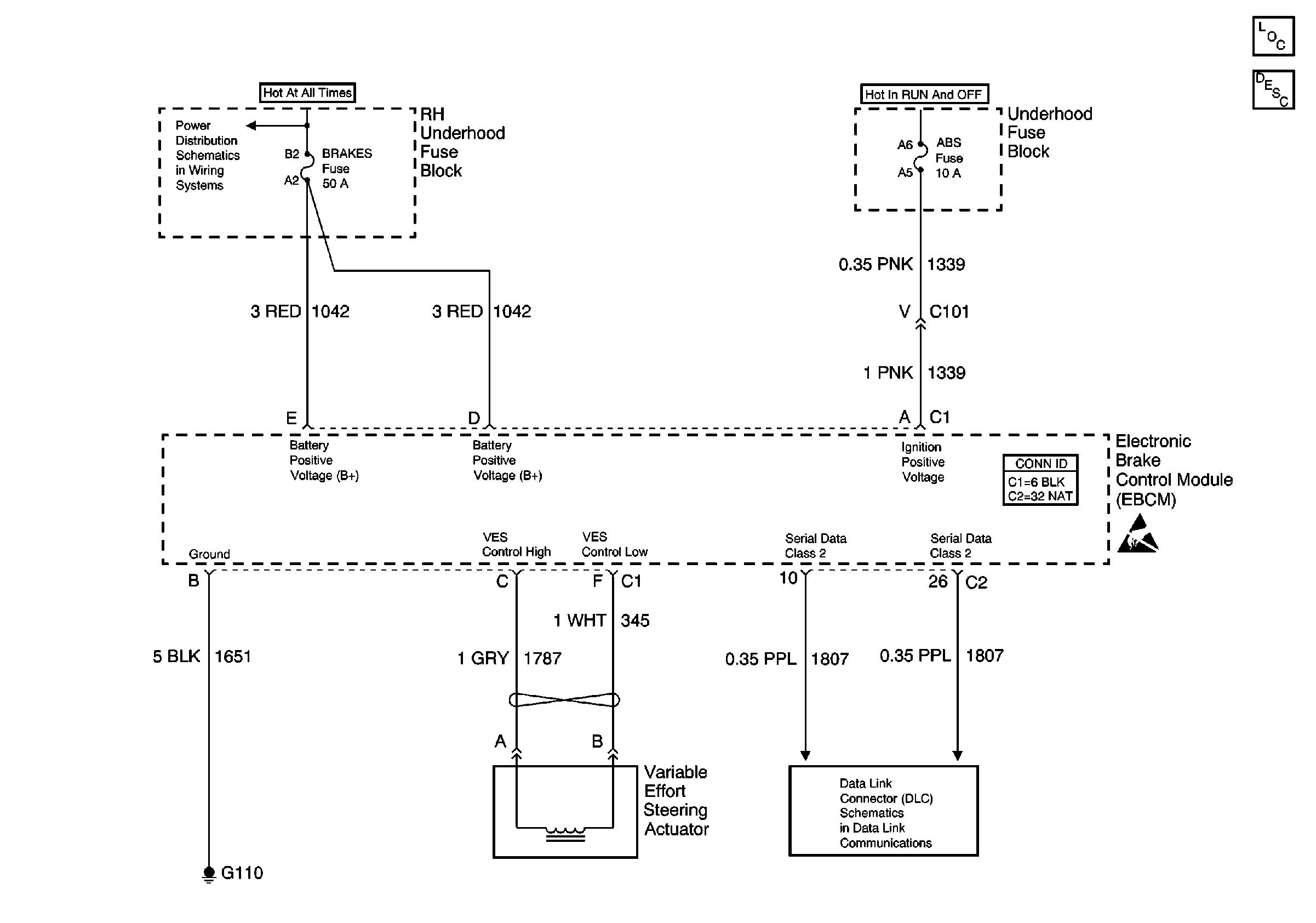
Battery Feeds
Power, Ground, and Class 2 (1 of 2)